Minnesota Administrative Rules
CHAPTER 4410, ENVIRONMENTAL REVIEW
ENVIRONMENTAL QUALITY BOARD
| Part | Title |
|---|---|
| GENERALLY | |
| 4410.0200 | DEFINITIONS AND ABBREVIATIONS. |
| 4410.0300 | AUTHORITY, SCOPE, PURPOSE, AND OBJECTIVES. |
| 4410.0400 | GENERAL RESPONSIBILITIES. |
| 4410.0500 | RGU SELECTION PROCEDURES. |
| ENVIRONMENTAL ASSESSMENT WORKSHEET | |
| 4410.1000 | PROJECTS REQUIRING EAW. |
| 4410.1100 | PETITION PROCESS. |
| 4410.1200 | EAW CONTENT. |
| 4410.1300 | EAW FORM. |
| 4410.1400 | PREPARING EAW. |
| 4410.1500 | PUBLISHING AND DISTRIBUTING EAW. |
| 4410.1600 | EAW COMMENT PERIOD. |
| 4410.1700 | DECISION ON NEED FOR EIS. |
| ENVIRONMENTAL IMPACT STATEMENT | |
| 4410.2000 | PROJECTS REQUIRING EIS. |
| 4410.2100 | EIS SCOPING PROCESS. |
| 4410.2200 | EIS INTERDISCIPLINARY PREPARATION. |
| 4410.2300 | CONTENT OF EIS. |
| 4410.2400 | INCORPORATION BY REFERENCE IN EIS. |
| 4410.2500 | INCOMPLETE OR UNAVAILABLE INFORMATION. |
| 4410.2550 | PRELIMINARY DRAFT EIS OPTION. |
| 4410.2600 | DRAFT EIS. |
| 4410.2700 | FINAL EIS. |
| 4410.2800 | DETERMINATION OF ADEQUACY. |
| 4410.2900 | PERMIT DECISIONS IN CASES REQUIRING EIS. |
| 4410.3000 | SUPPLEMENTING EIS. |
| 4410.3100 | PROHIBITION ON FINAL GOVERNMENTAL DECISIONS. |
| 4410.3200 | [Repealed, 21 SR 1458] |
| SUBSTITUTE FORMS OF ENVIRONMENTAL REVIEW | |
| 4410.3600 | ALTERNATIVE REVIEW. |
| 4410.3610 | ALTERNATIVE URBAN AREAWIDE REVIEW PROCESS. |
| 4410.3700 | MODEL ORDINANCE. |
| 4410.3800 | GENERIC EIS. |
| 4410.3900 | JOINT FEDERAL AND STATE ENVIRONMENTAL DOCUMENTS. |
| 4410.4000 | TIERED EIS. |
| MANDATORY CATEGORIES | |
| 4410.4300 | MANDATORY EAW CATEGORIES. |
| 4410.4400 | MANDATORY EIS CATEGORIES. |
| 4410.4500 | DISCRETIONARY EAW. |
| 4410.4600 | EXEMPTIONS. |
| EARLY NOTICE RULES | |
| 4410.5000 | AUTHORITY AND PURPOSE. |
| 4410.5100 | EXEMPTIONS. |
| 4410.5200 | EQB MONITOR; PUBLICATION REQUIREMENTS. |
| 4410.5300 | CONTENT OF NOTICE. |
| 4410.5400 | STATEMENT OF COMPLIANCE. |
| 4410.5500 | PUBLICATION. |
| 4410.5600 | COST AND DISTRIBUTION. |
| ASSESSING COST OF PREPARING ENVIRONMENTAL IMPACT STATEMENTS | |
| 4410.6000 | PROJECTS REQUIRING ASSESSMENT OF EIS PREPARATION COST. |
| 4410.6100 | DETERMINING EIS ASSESSED COST. |
| 4410.6200 | DETERMINING EIS COST. |
| 4410.6300 | [Repealed, 21 SR 1458] |
| 4410.6400 | [Repealed, 21 SR 1458] |
| 4410.6410 | DISAGREEMENTS REGARDING EIS ASSESSED COST. |
| 4410.6500 | PAYING EIS COST. |
| 4410.7000 | [Repealed, 28 SR 951] |
| 4410.7010 | [Renumbered 7849.7010] |
| 4410.7015 | Repealed by subpart |
| 4410.7020 | [Renumbered 7849.7030] |
| 4410.7025 | [Renumbered 7849.7040] |
| 4410.7030 | [Renumbered 7849.7050] |
| 4410.7035 | [Renumbered 7849.7060] |
| 4410.7040 | [Renumbered 7849.7070] |
| 4410.7045 | [Renumbered 7849.7080] |
| 4410.7050 | [Renumbered 7849.7090] |
| LOCAL GOVERNMENT REVIEW | |
| 4410.7055 | REVIEW BY OTHER GOVERNMENTAL BODIES. |
| 4410.7060 | [Renumbered 7849.7100] |
| 4410.7065 | [Renumbered 7849.7105] |
| 4410.7070 | [Renumbered 7849.7110] |
| 4410.7100 | MR 1985 [Renumbered 7850.0200] |
| 4410.7100 | [Repealed, 28 SR 951] |
| 4410.7200 | [Repealed, 15 SR 1597] |
| 4410.7300 | [Repealed, 15 SR 1597] |
| 4410.7400 | [Repealed, 28 SR 951] |
| 4410.7500 | [Repealed, 28 SR 951] |
| 4410.7600 | [Repealed, 15 SR 1597] |
| 4410.7700 | [Repealed, 15 SR 1597] |
| 4410.7800 | [Repealed, 15 SR 1597] |
| EXPLORATORY DRILLING FOR THE DISPOSAL OF HIGH-LEVEL RADIOACTIVE WASTE | |
| 4410.7900 | DEFINITIONS. |
| 4410.7902 | PREAPPLICATION RESPONSIBILITIES OF APPLICANT. |
| 4410.7904 | LICENSING EXPLORERS. |
| 4410.7906 | PROCEDURE FOR ISSUING DRILLING PERMIT. |
| 4410.7908 | INFORMATION MEETINGS. |
| 4410.7910 | HEARING PROVISIONS. |
| 4410.7912 | BOARD CONSIDERATION. |
| 4410.7914 | RIGHT-OF-WAY CLEARANCE AND MAINTENANCE. |
| 4410.7916 | EMERGENCY NOTIFICATION. |
| 4410.7918 | LOCATION OF DRILL HOLES. |
| 4410.7920 | DRILL HOLE CONSTRUCTION STANDARDS. |
| 4410.7922 | USE OF DRILL HOLE FOR DISPOSAL PROHIBITED. |
| 4410.7924 | CLEANUP PROCEDURES. |
| 4410.7926 | ABANDONING EXPLORATORY BORINGS. |
| 4410.7928 | SUBMITTING SPLITS AND DATA. |
| 4410.7930 | PERMIT AMENDMENTS. |
| 4410.7932 | PERMIT REVOCATION. |
| 4410.7934 | APPLICATION AND MONITORING ASSESSMENTS. |
| RELEASING GENETICALLY ENGINEERED ORGANISMS | |
| 4410.8000 | SPECIAL RULES FOR RELEASING GENETICALLY ENGINEERED ORGANISMS. |
| CRITICAL AREAS PLANNING PROCESS | |
| 4410.8100 | DEFINITIONS. |
| 4410.8200 | AUTHORITY AND PURPOSE. |
| 4410.8300 | CHARACTERISTICS AND CRITERIA FOR IDENTIFYING CRITICAL AREAS. |
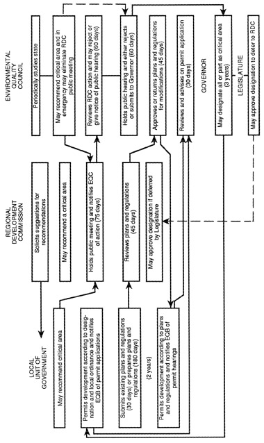
| 4410.8400 | RECOMMENDATIONS OF CRITICAL AREAS. |
| 4410.8500 | LOCAL GOVERNMENT ACTION ON RECOMMENDATIONS. |
| 4410.8600 | REGIONAL DEVELOPMENT COMMISSION DUTIES REGARDING RECOMMENDATIONS. |
| 4410.8700 | BOARD ACTION ON CRITICAL AREA RECOMMENDATIONS. |
| 4410.8800 | DESIGNATING CRITICAL AREAS. |
| 4410.8900 | PLANS AND REGULATIONS FOR CRITICAL AREAS. |
| 4410.9000 | PREPARING CRITICAL AREA PLANS AND REGULATIONS. |
| 4410.9100 | REVIEW AND APPROVAL OF CRITICAL AREA PLANS AND REGULATIONS. |
| 4410.9200 | MODIFYING PLANS AND REGULATIONS. |
| 4410.9300 | BOARD PREPARATION OF PLANS AND REGULATIONS. |
| 4410.9400 | IMPLEMENTING PLANS AND REGULATIONS. |
| 4410.9500 | UPDATING AND REEVALUATING PLANS AND REGULATIONS. |
| 4410.9600 | JUDICIAL ENFORCEMENT OF PLANS AND REGULATIONS. |
| 4410.9700 | DEVELOPMENT IN CRITICAL AREA. |
| 4410.9800 | NOTICE TO BOARD BY LOCAL UNIT. |
| 4410.9900 | PROTECTING LANDOWNER'S RIGHTS. |
| 4410.9910 | CRITICAL AREAS PLANNING PROCESS. |
GENERALLY
4410.0200 DEFINITIONS AND ABBREVIATIONS.
Subpart 1.
Scope.
For the purpose of parts 4410.0200 to 4410.6500, the following terms and abbreviations have the meanings given them, unless otherwise provided.
Subp. 2.
Agricultural land.
"Agricultural land" means land that is or has, within the last five years, been devoted to the production of livestock, dairy animals, dairy products, poultry and poultry products, fur bearing animals, horticultural and nursery stock, fruit, vegetables, forage, grains, or bees and apiary products. Wetlands, naturally vegetated lands, and woodlands contiguous to or surrounded by agricultural land shall be considered agricultural lands if under the same ownership or management as that of the agricultural land during the period of agricultural use.
Subp. 4.
Approval.
"Approval" means a decision by a unit of government to issue a permit or to otherwise authorize the commencement of a proposed project.
Subp. 5.
Attached units.
"Attached units" means in groups of four or more units each of which shares one or more common walls with another unit.
Subp. 5a.
Auxiliary lane.
"Auxiliary lane" means the portion of the roadway that:
A.
adjoins the through lanes for purposes such as speed change, turning, storage for turning, weaving, or truck climbing; and
Subp. 6.
Biomass sources.
"Biomass sources" means animal waste and all forms of vegetation, natural or cultivated.
Subp. 6a.
Capacity.
"Capacity," as used in parts 4410.4300, subpart 17, and 4410.4400, subpart 13, means the maximum daily operational input volume a facility is designed to process on a continuing basis.
Subp. 9.
Collector roadway.
"Collector roadway" means a road that provides access to minor arterial roadways from local streets and adjacent land uses.
Subp. 9a.
Common open space.
"Common open space" means a portion of a development permanently set aside to preserve elements of the natural landscape for public or private use, which will not be developed or subdivided and is either owned in common by the individual owners in the development or by a permanently established management entity. Common open space does not include the area within 25 feet of any structure, any impervious surface, or the area between buildings within an individual cluster of buildings when the development is designed using clustered compact lots or clustered units or sites to create and preserve green space, such as in a conservation subdivision, planned unit development, or resort.
Subp. 9c.
Connected actions.
Two projects are "connected actions" if a responsible governmental unit determines they are related in any of the following ways:
B.
one project is a prerequisite for the other and the prerequisite project is not justified by itself; or
Subp. 10.
Construction.
"Construction" means any activity that directly alters the environment. It includes preparation of land or fabrication of facilities. It does not include surveying or mapping.
Subp. 11.
Cumulative impact.
"Cumulative impact" means the impact on the environment that results from incremental effects of the project in addition to other past, present, and reasonably foreseeable future projects regardless of what person undertakes the other projects. Cumulative impacts can result from individually minor but collectively significant projects taking place over a period of time.
Subp. 11a.
Cumulative potential effects.
"Cumulative potential effects" means the effect on the environment that results from the incremental effects of a project in addition to other projects in the environmentally relevant area that might reasonably be expected to affect the same environmental resources, including future projects actually planned or for which a basis of expectation has been laid, regardless of what person undertakes the other projects or what jurisdictions have authority over the projects. Significant cumulative potential effects can result from individually minor projects taking place over a period of time. In analyzing the contributions of past projects to cumulative potential effects, it is sufficient to consider the current aggregate effects of past actions. It is not required to list or analyze the impacts of individual past actions, unless such information is necessary to describe the cumulative potential effects. In determining if a basis of expectation has been laid for a project, an RGU must determine whether a project is reasonably likely to occur and, if so, whether sufficiently detailed information is available about the project to contribute to the understanding of cumulative potential effects. In making these determinations, the RGU must consider: whether any applications for permits have been filed with any units of government; whether detailed plans and specifications have been prepared for the project; whether future development is indicated by adopted comprehensive plans or zoning or other ordinances; whether future development is indicated by historic or forecasted trends; and any other factors determined to be relevant by the RGU.
Subp. 12.
Day.
"Day" in counting any period of time shall not include the day of the event from which the designated period of time begins. The last day of the period counted shall be included, unless it is a Saturday, Sunday, or a legal holiday, in which event the period runs until the end of the next day that is not a Saturday, a Sunday, or a legal holiday. When the period of time prescribed or allowed is 15 days or less, intermediate Saturdays, Sundays, and legal holidays shall be excluded in the counting of days.
Subp. 14.
Disposal facility.
"Disposal facility" has the meaning given in Minnesota Statutes, section 115A.03, subdivision 10.
Subp. 22.
Emergency.
"Emergency" means a sudden unexpected occurrence, natural or caused by humans, involving a clear and imminent danger, demanding immediate action to prevent or mitigate loss of, or damage to, life, health, property, or essential public services. "Emergency" includes fire, flood, windstorm, riot, accident, or sabotage.
Subp. 22a.
Energy recovery facility.
"Energy recovery facility" means a facility used to capture the heat value of solid waste for conversion to steam, electricity, or immediate heat by direct combustion or by first converting the solid waste into an intermediate fuel product. It does not include facilities that produce, but do not burn, refuse-derived fuel.
Subp. 23.
Environment.
"Environment" means physical conditions existing in the area that may be affected by a proposed project. It includes land, air, water, minerals, flora, fauna, ambient noise, energy resources, and artifacts or natural features of historic, geologic, or aesthetic significance.
Subp. 24.
Environmental assessment worksheet.
"Environmental assessment worksheet" means a brief document which is designed to set out the basic facts necessary to determine whether an EIS is required for a proposed project or to initiate the scoping process for an EIS.
Subp. 25.
Environmental document.
"Environmental document" means EAW, draft EIS, final EIS, substitute review document, and other environmental analysis documents.
Subp. 26.
Environmental impact statement.
"Environmental impact statement" means a detailed written statement as required by Minnesota Statutes, section 116D.04, subdivision 2a.
Subp. 28.
Expansion.
"Expansion" means an extension of the capability of a facility to produce or operate beyond its existing capacity. It excludes repairs or renovations that do not increase the capacity of the facility.
Subp. 29.
First class city.
"First class city" has the meaning given in Minnesota Statutes, section 410.01.
Subp. 32.
Fourth class city.
"Fourth class city" has the meaning given in Minnesota Statutes, section 410.01.
Subp. 33.
Governmental action.
"Governmental action" means activities including projects wholly or partially conducted, permitted, assisted, financed, regulated, or approved by governmental units, including the federal government.
Subp. 34.
Governmental unit.
"Governmental unit" means any state agency and any general or special purpose unit of government in the state, including watershed districts organized under Minnesota Statutes, chapter 103D, counties, towns, cities, port authorities, housing authorities, and the Metropolitan Council, but not including courts, school districts, the Iron Range Resources and Rehabilitation Board, and regional development commissions.
Subp. 35.
Gross floor space.
"Gross floor space" means the total square footage of all floors but does not include parking lots or approach areas.
Subp. 35a.
Genetically engineered organism.
"Genetically engineered organism" has the meaning given in part 4420.0010, subpart 14.
Subp. 35b.
Genetic engineering.
"Genetic engineering" has the meaning given in part 4420.0010, subpart 15.
Subp. 36.
Ground area.
"Ground area" means the total surface area of land that would be converted to an impervious surface by the proposed project. It includes structures, parking lots, approaches, service facilities, appurtenant structures, and recreational facilities.
Subp. 36a.
Hazardous material.
"Hazardous material" has the meaning given in Code of Federal Regulations, title 49, section 171.8.
Subp. 38.
High voltage transmission line.
"High voltage transmission line" has the meaning given in part 7849.1100.
Subp. 39.
Highway safety improvement project.
"Highway safety improvement project" means a project designed to improve safety of highway locations that have been identified as hazardous or potentially hazardous. Projects in this category include the removal, relocation, remodeling, or shielding of roadside hazards; installation or replacement of traffic signals; and the geometric correction of identified high accident locations requiring the acquisition of minimal amounts of right-of-way.
Subp. 40a.
Incinerator.
"Incinerator" means any furnace used in the process of burning solid waste for the purpose of reducing the volume of waste by removing combustible matter.
Subp. 40b.
Institutional facility.
"Institutional facility" means a land-based facility owned or operated by an organization having a governmental, educational, civic, or religious purpose such as a school, hospital, prison, military installation, church, or other similar establishment or facility.
Subp. 41.
Large electric power generating plant; LEPGP.
"Large electric power generating plant" or "LEPGP" has the meaning given in part 7849.1100.
Subp. 42a.
Light industrial facility.
"Light industrial facility" means a subcategory of industrial land use with a primary function other than manufacturing and less than 500 employees.
Subp. 43.
Local governmental unit.
"Local governmental unit" means any unit of government other than the state or a state agency or the federal government or a federal agency. Local governmental unit includes watershed districts established according to Minnesota Statutes, chapter 103D, soil and water conservation districts, watershed management organizations, counties, towns, cities, port authorities, housing authorities, and the Metropolitan Council. Local governmental unit does not include courts, school districts, and regional development commissions.
Subp. 47.
Mineral deposit evaluation.
"Mineral deposit evaluation" has the meaning given in Minnesota Statutes, section 103I.605, subdivision 2.
Subp. 48.
Minnesota River Project Riverbend area.
"Minnesota River Project Riverbend area" means an area subject to the comprehensive land use plan of the Project Riverbend Board established under Minnesota Statutes, chapter 103F.
Subp. 49.
Mississippi headwaters area.
"Mississippi headwaters area" means an area subject to the comprehensive land use plan of the Mississippi River Headwaters Board established under Minnesota Statutes, chapter 103F.
Subp. 50.
Mississippi headwaters plan.
"Mississippi headwaters plan" means the comprehensive land use plan of the Mississippi River Headwaters Board established under Minnesota Statutes, chapter 103F.
Subp. 51.
Mitigation.
"Mitigation" means:
D.
reducing or eliminating impacts over time by preservation and maintenance operations during the life of the project;
Subp. 52.
Mixed municipal solid waste.
"Mixed municipal solid waste" has the meaning given in Minnesota Statutes, section 115A.03, subdivision 21.
Subp. 52a.
Mixed municipal solid waste land disposal facility.
"Mixed municipal solid waste land disposal facility" has the meaning given in part 7035.0300.
Subp. 53.
Natural watercourse.
"Natural watercourse" has the meaning given in Minnesota Statutes, section 103G.005, subdivision 13.
Subp. 54.
Negative declaration.
"Negative declaration" means a written statement by the RGU that a proposed project does not require the preparation of an EIS.
Subp. 55.
Open space land use.
"Open space land use" means a use particularly oriented to and using the outdoor character of an area including agriculture, campgrounds, parks, and recreation areas.
Subp. 55a.
Ordinary high water level.
"Ordinary high water level" has the meaning given in Minnesota Statutes, section 103G.005, subdivision 14.
Subp. 57.
Permanent conversion.
"Permanent conversion" means a change in use of agricultural, naturally vegetated, or forest lands that impairs the ability to convert the land back to its agricultural, natural, or forest capacity in the future. It does not include changes in management practices, such as conversion to parklands, open space, or natural areas.
Subp. 58.
Permit.
"Permit" means a permit, lease, license, certificate, or other entitlement for use or permission to act that may be granted or issued by a governmental unit, or the commitment to issue or the issuance of a discretionary contract, grant, subsidy, loan, or other form of financial assistance, by a governmental unit.
Subp. 59.
Person.
"Person" means any natural person, state, municipality, or other governmental unit, political subdivision, other agency or instrumentality, or public or private corporation, partnership, firm, association, or other organization, receiver, trustee, assignee, agent, or other legal representative of the foregoing, and any other entity.
Subp. 59a.
Petroleum refinery.
"Petroleum refinery" has the meaning given in Minnesota Statutes, section 115C.02, subdivision 10a.
Subp. 60.
Phased action.
"Phased action" means two or more projects to be undertaken by the same proposer that a RGU determines:
Subp. 61.
Positive declaration.
"Positive declaration" means a written statement by the RGU that a proposed project requires the preparation of an EIS.
Subp. 62.
Potentially permanent.
"Potentially permanent" means a dwelling for human habitation that is permanently affixed to the ground or commonly used as a place of residence. It includes houses, seasonal and year round cabins, and mobile homes.
Subp. 63.
Preparation notice.
"Preparation notice" means a written notice issued by the RGU stating that an EIS will be prepared for a proposed project.
Subp. 64.
Processing.
"Processing," as used in parts 4410.4300, subpart 16, items B and C, and 4410.4400, subpart 12, item C, has the meaning given in Minnesota Statutes, section 115A.03, subdivision 25.
Subp. 65.
Project.
"Project" means a governmental action, the results of which would cause physical manipulation of the environment, directly or indirectly. The determination of whether a project requires environmental documents shall be made by reference to the physical activity to be undertaken and not to the governmental process of approving the project.
Subp. 67.
Project Riverbend plan.
"Project Riverbend plan" means the comprehensive land use plan of the Project Riverbend Board established under Minnesota Statutes, chapter 103F.
Subp. 68.
Proposer.
"Proposer" means the person or governmental unit that proposes to undertake or to direct others to undertake a project.
Subp. 69.
Public waters.
"Public waters" has the meaning given in Minnesota Statutes, section 103G.005.
Subp. 70.
Public waters wetland.
"Public waters wetland" has the meaning given in Minnesota Statutes, section 103G.005, subdivision 15a.
Subp. 71.
Recreational development.
"Recreational development" means facilities for temporary residence while in pursuit of leisure activities. Recreational development includes, but is not limited to, recreational vehicle parks, rental or owned campgrounds, and condominium campgrounds.
Subp. 71a.
Refuse-derived fuel.
"Refuse-derived fuel" has the meaning given in Minnesota Statutes, section 115A.03, subdivision 25d.
Subp. 73.
Resource recovery.
"Resource recovery" has the meaning given in Minnesota Statutes, section 115A.03, subdivision 27.
Subp. 75.
Responsible governmental unit.
"Responsible governmental unit" means the governmental unit that is responsible for preparation and review of environmental documents.
Subp. 77.
Scientific and natural area.
"Scientific and natural area" means an outdoor recreation system unit designated pursuant to Minnesota Statutes, section 86A.05, subdivision 5.
Subp. 78.
Scram mining operation.
"Scram mining operation" has the meaning given in part 6130.0100.
Subp. 79.
Second class city.
"Second class city" has the meaning given in Minnesota Statutes, section 410.01.
Subp. 79a.
Sensitive shoreland area.
"Sensitive shoreland area" means shoreland designated as a special protection district pursuant to part 6120.3200 or shoreland riparian to any of the following types of public waters:
Subp. 80.
Sewage collection system.
"Sewage collection system" means a piping or conveyance system that conveys wastewater to a wastewater treatment plant.
Subp. 81.
Sewered area.
"Sewered area" means an area:
A.
that is serviced by a wastewater treatment facility or a centralized septic system servicing the entire development; or
B.
that is located within the boundaries of the metropolitan urban service area, as defined pursuant to the development framework of the Metropolitan Council.
Subp. 81a.
Shore impact zone.
"Shore impact zone" has the meaning given in part 6120.2500, or in a local ordinance, if the ordinance specifies a greater size for the zone.
Subp. 82.
Shoreland.
"Shoreland" has the meaning given in part 6120.2500, subpart 15, of the Department of Natural Resources.
Subp. 82a.
Silica sand.
"Silica sand" has the meaning given in Minnesota Statutes, section 116C.99, subdivision 1.
Subp. 82b.
Silica sand project.
"Silica sand project" has the meaning given in Minnesota Statutes, section 116C.99, subdivision 1.
Subp. 84.
Solid waste.
"Solid waste" has the meaning given in Minnesota Statutes, section 116.06, subdivision 22.
Subp. 84a.
Sports or entertainment facility.
"Sports or entertainment facility" means a facility intended for the presentation of sports events and various forms of entertainment or amusement. Examples include sports stadiums or arenas, racetracks, concert halls or amphitheaters, theaters, facilities for pageants or festivals, fairgrounds, amusement parks, and zoological gardens.
Subp. 85.
State trail corridor.
"State trail corridor" means an outdoor recreation system unit designated pursuant to Minnesota Statutes, section 86A.05, subdivision 4.
Subp. 86.
Storage.
"Storage," as used in part 4410.4300, subpart 16, item D, has the meaning given in Code of Federal Regulations 1980, title 40, section 260.10 (a)(66).
Subp. 87.
Third class city.
"Third class city" has the meaning given in Minnesota Statutes, section 410.01.
Subp. 88.
Tiering.
"Tiering" means incorporating by reference the discussion of an issue from a broader or more general EIS. An example of tiering is the incorporation of a program or policy statement into a subsequent environmental document of a more narrow scope, such as a site-specific EIS.
Subp. 89.
Transfer station.
"Transfer station" has the meaning given in Minnesota Statutes, section 115A.03, subdivision 33.
Subp. 89a.
Warehousing facility.
"Warehousing facility" means a subcategory of industrial-commercial land use that has as its primary function the storage of goods or materials. Warehousing facilities may include other uses, such as office space or sales, in minor amounts.
Subp. 90.
Waste.
"Waste" has the meaning given in Minnesota Statutes, section 115A.03, subdivision 34.
Subp. 91.
Waste facility.
"Waste facility" has the meaning given in Minnesota Statutes, section 115A.03, subdivision 35.
Subp. 92.
Wastewater treatment facility.
"Wastewater treatment facility" means a facility for the treatment of municipal or industrial waste water.
Subp. 92a.
Water-related land use management district.
"Water-related land use management district" includes:
D.
areas subject to the comprehensive land use plan of the Project Riverbend Board under Minnesota Statutes, chapter 103F; and
E.
areas subject to the comprehensive land use plan of the Mississippi River Headwaters Board under Minnesota Statutes, chapter 103F.
Subp. 92b.
Water-related land use management district ordinance or plan, approved.
"Water-related land use management district ordinance or plan, approved" means:
D.
the comprehensive land use plan of the Project Riverbend Board under Minnesota Statutes, chapter 103F; or
E.
the comprehensive land use plan of the Mississippi River Headwaters Board under Minnesota Statutes, chapter 103F.
Subp. 92c.
Waters of the state.
"Waters of the state" has the meaning given in Minnesota Statutes, section 103G.005, subdivision 17.
Subp. 93.
Wetland.
"Wetland" has the meaning given wetlands in Minnesota Statutes, section 103G.005, subdivision 19.
Subp. 94.
Wild and scenic rivers district.
"Wild and scenic rivers district" means a river or a segment of the river and its adjacent lands that possess outstanding scenic, recreational, natural, historical, scientific, or similar values and has been designated by the commissioner of the DNR or by the legislature of the state of Minnesota for inclusion within the Minnesota wild and scenic rivers system pursuant to Minnesota Statutes, sections 103F.301 to 103F.345, or by Congress for inclusion within the national wild and scenic rivers system pursuant to United States Code 1976, title 16, sections 1274 to 1286.
Subp. 95.
Wild and scenic rivers district ordinances, state approved.
"Wild and scenic rivers district ordinances, state approved" means a local governmental unit ordinance implementing the state management plan for the district. The ordinance must be approved by the commissioner of the DNR pursuant to parts 6105.0220 to 6105.0250 or 6105.0500 to 6105.0550 of the Department of Natural Resources.
Statutory Authority:
MS s 14.388; 116C.94; 116C.991; 116D.04; 116D.045; L 2013 c 114 art 4 s 105; L 2015 1Sp4 art 4 s 121; art 5 s 33
History:
L 1983 c 289 s 115; 11 SR 714; 13 SR 1437; 17 SR 139; 17 SR 1279; 21 SR 1458; 28 SR 951; 31 SR 539; 31 SR 646; 34 SR 721; 37 SR 820; 41 SR 545; 44 SR 691
Published Electronically:
December 21, 2023
4410.0300 AUTHORITY, SCOPE, PURPOSE, AND OBJECTIVES.
Subpart 1.
Authority.
Parts 4410.0200 to 4410.6500 are issued under authority granted in Minnesota Statutes, chapter 116D, to implement the environmental review procedures established by the Minnesota Environmental Policy Act.
Subp. 2.
Scope.
Parts 4410.0200 to 4410.6500 apply to all governmental actions. They shall apply to projects for which environmental review has not been initiated prior to September 28, 1982. For any project for which environmental review has been initiated by submission of a citizens petition, environmental assessment worksheet, environmental impact statement preparation notice, or environmental impact statement to the EQB prior to September 28, 1982, all governmental decisions that may be required for that project shall be acted upon in accord with prior rules.
Subp. 3.
Purpose.
The Minnesota Environmental Policy Act recognizes that the restoration and maintenance of environmental quality is critically important to our welfare. The act also recognizes that human activity has a profound and often adverse impact on the environment.
A first step in achieving a more harmonious relationship between human activity and the environment is understanding the impact which a proposed project will have on the environment. The purpose of parts 4410.0200 to 4410.6500 is to aid in providing that understanding through the preparation and public review of environmental documents.
Environmental documents shall contain information that addresses the significant environmental issues of a proposed action. This information shall be available to governmental units and citizens early in the decision making process.
Environmental documents shall not be used to justify a decision, nor shall indications of adverse environmental effects necessarily require that a project be disapproved. Environmental documents shall be used as guides in issuing, amending, and denying permits and carrying out other responsibilities of governmental units to avoid or minimize adverse environmental effects and to restore and enhance environmental quality.
Subp. 4.
Objectives.
The process created by parts 4410.0200 to 4410.6500 is designed to:
A.
provide usable information to the project proposer, governmental decision makers and the public concerning the primary environmental effects of a proposed project;
B.
provide the public with systematic access to decision makers, which will help to maintain public awareness of environmental concerns and encourage accountability in public and private decision making;
C.
delegate authority and responsibility for environmental review to the governmental unit most closely involved in the project;
Statutory Authority:
MS s 116D.04
Published Electronically:
November 30, 2009
4410.0400 GENERAL RESPONSIBILITIES.
Subpart 1.
EQB.
The EQB shall monitor the effectiveness of parts 4410.0200 to 4410.6500 and shall take appropriate measures to modify and improve their effectiveness. The EQB shall assist governmental units and interested persons in understanding and implementing the rules.
Subp. 2.
RGU's.
RGU's shall be responsible for verifying the accuracy of environmental documents and complying with environmental review processes in a timely manner.
Subp. 3.
Governmental units, private individuals, citizen groups, and business concerns; trade secret information.
When environmental review documents are required on a project, the proposer of the project and any other person shall supply any data reasonably requested by the RGU which the proposer has in his or her possession or to which the proposer has reasonable access.
Information submitted to the RGU that qualifies as trade secret information under Minnesota Statutes, section 13.37, subdivision 1, paragraph (b), must be treated as nonpublic data in accordance with Minnesota Statutes, chapter 13.
Subp. 4.
Appeal of final decisions.
Decisions by a RGU on the need for an EAW, the need for an EIS, the adequacy of an EIS, and the adequacy of an alternative urban areawide review document are final decisions and may be reviewed by a declaratory judgment action initiated within 30 days of the RGU's decision in the district court of the county where the proposed project, or any part thereof, would be undertaken.
History:
13 SR 1437; 21 SR 1458; 34 SR 721
Published Electronically:
November 30, 2009
4410.0500 RGU SELECTION PROCEDURES.
Subpart 1.
RGU for mandatory categories.
For any project listed in part 4410.4300 or 4410.4400, the governmental unit specified in those rules is the RGU unless the project will be carried out by a state agency, in which case that state agency is the RGU. For any project listed in both parts 4410.4300 and 4410.4400, the RGU is the unit specified in part 4410.4400. For any project listed in two or more subparts of part 4410.4300 or two or more subparts of part 4410.4400, the RGU is determined as specified in subpart 5.
Subp. 2.
RGU for discretionary EAW's.
If a governmental unit orders an EAW pursuant to part 4410.1000, subpart 3, item A, that governmental unit shall be designated as the RGU.
Subp. 3.
RGU for petition EAW's.
If an EAW is ordered in response to a petition, the RGU that was designated by the EQB to act on the petition is responsible for the preparation of the EAW. The EQB chair or designee shall determine an RGU to act on the petition as follows:
B.
for any project of a type for which a mandatory category is listed in part 4410.4300, the RGU is the governmental unit specified by the mandatory category for projects of that type, unless the project will be carried out by a state agency; or
C.
for any project of a type for which there is no mandatory category listed in part 4410.4300 and which will not be carried out by a state agency, the RGU is selected in accordance with subpart 5.
In applying items A, B, and C, the EQB chair or designee shall not designate as the RGU any governmental unit which has already made its final decisions to grant all permits or approvals required from it to construct the project. If as a result, the RGU cannot be designated under item A, B, or C, the RGU shall be designated pursuant to subpart 5, except that no completed data portions of an EAW shall be required for the determination.
Subp. 4.
RGU for EAW by order of EQB.
If the EQB orders an EAW pursuant to part 4410.1000, subpart 3, item C, the EQB shall, at the same time, designate the RGU for that EAW.
Subp. 5.
RGU selection generally.
For any project where the RGU is not listed in part 4410.4300 or 4410.4400 or which falls into more than one category in part 4410.4300 or 4410.4400, or for which the RGU is in question, the RGU is determined as follows:
A.
When a single governmental unit proposes to carry out or has sole jurisdiction to approve a project, it is the RGU.
B.
When two or more governmental units propose to carry out or have jurisdiction to approve the project, the RGU is the governmental unit with the greatest responsibility for supervising or approving the project as a whole. Where it is not clear which governmental unit has the greatest responsibility for supervising or approving the project or where there is a dispute about which governmental unit has the greatest responsibility for supervising or approving the project, the governmental units shall either:
(1)
by agreement, designate which unit is the RGU within five days of receipt of the completed data portion of the EAW; or
(2)
submit the question to the EQB chairperson, who shall within five days of receipt of the completed data portions of the EAW designate the RGU based on a consideration of which governmental unit has the greatest responsibility for supervising or approving the project or has expertise that is relevant for the environmental review.
Subp. 6.
Exception.
Notwithstanding subparts 1 to 5, the EQB or EQB chair may designate a different RGU for the project if the designee has greater expertise in analyzing the potential impacts of the project.
Statutory Authority:
MS s 116C.991; 116D.04; 116D.045; L 2013 c 114 art 4 s 105; L 2015 1Sp4 art 4 s 121; art 5 s 33
History:
11 SR 714; 21 SR 1458; 44 SR 691
Published Electronically:
January 17, 2020
ENVIRONMENTAL ASSESSMENT WORKSHEET
4410.1000 PROJECTS REQUIRING EAW.
Subpart 1.
Purpose of EAW.
The EAW is a brief document prepared in worksheet format which is designed to rapidly assess the environmental effects which may be associated with a proposed project. The EAW serves primarily to:
Subp. 2.
Mandatory EAW categories.
An EAW shall be prepared for any project that meets or exceeds the thresholds of any of the EAW categories listed in part 4410.4300 or any of the EIS categories listed in part 4410.4400.
Subp. 3.
Discretionary EAWs.
An EAW shall be prepared:
A.
when a project is not exempt under part 4410.4600 and when a governmental unit with approval authority over the proposed project determines that, because of the nature or location of a proposed project, the project may have the potential for significant environmental effects;
B.
when a project is not exempt under part 4410.4600 and when a governmental unit with approval authority over a proposed project determines pursuant to the petition process set forth in part 4410.1100 that, because of the nature or location of a proposed project, the project may have the potential for significant environmental effects;
C.
whenever the EQB determines that, because of the nature or location of a proposed project, the project may have the potential for significant environmental effects (this item shall not be applicable to a project exempt under part 4410.4600 or to a project for which a governmental unit, with approval authority over the project, has made a prior negative or positive determination concerning the need for an EAW concerning the project); or
D.
when the proposer wishes to initiate environmental review to determine if a project has the potential for significant environmental effects.
Subp. 4.
Connected actions and phased actions.
Multiple projects and multiple stages of a single project that are connected actions or phased actions must be considered in total when determining the need for an EAW, preparing the EAW, and determining the need for an EIS.
In connected actions and phased actions where it is not possible to adequately address all the project components or stages at the time of the initial EAW, a new EAW must be completed before approval and construction of each subsequent project component or stage. Each EAW must briefly describe the past and future stages or components to which the subject of the present EAW is related.
For proposed projects such as highways, streets, pipelines, utility lines, or systems where the proposed project is related to a large existing or planned network, for which a governmental unit has determined environmental review is needed, the RGU shall treat the present proposal as the total proposal or select only some of the future elements for present consideration in the threshold determination and EAW. These selections must be logical in relation to the design of the total system or network and must not be made merely to divide a large system into exempted segments.
When review of the total of a project is separated under this subpart, the components or stages addressed in each EAW must include at least all components or stages for which permits or approvals are being sought from the RGU or other governmental units.
Subp. 5.
Change in proposed project; new EAW.
If, after a negative declaration has been issued but before the proposed project has received all approvals or been implemented, the RGU determines that a substantial change has been made in the proposed project or has occurred in the project's circumstances, which change may affect the potential for significant adverse environmental effects that were not addressed in the existing EAW, a new EAW is required.
History:
13 SR 1437; 31 SR 539; 34 SR 721
Published Electronically:
August 20, 2018
4410.1100 PETITION PROCESS.
Subpart 1.
Petition.
Any person may request the preparation of an EAW on a project by filing a petition that contains the signatures and mailing addresses of at least 100 individuals who reside or own property in the state.
Subp. 2.
Content.
The petition shall also include:
D.
a brief description of the potential environmental effects which may result from the project; and
E.
material evidence indicating that, because of the nature or location of the proposed project, there may be potential for significant environmental effects. The material evidence must physically accompany the petition. It is not sufficient to merely provide a reference or citation to where the evidence may be found.
Subp. 3.
Filing of petition.
The petition shall be filed with the EQB for a determination of the RGU.
Subp. 4.
Notice to proposer.
The petitioners shall notify the proposer in writing at the time they file a petition with the EQB.
Subp. 5.
Determining RGU.
The EQB's chair or designee shall determine whether the petition complies with the requirements of subparts 1 and 2. If the petition complies, the chair or designee shall designate an RGU pursuant to part 4410.0500 and forward the petition to the RGU within five days of receipt of the petition. If the petition fails to comply, the chair or designee shall return the petition to the petitioner's representative within five days of receipt of the petition with a written explanation of why it fails to comply.
Subp. 6.
EAW decision.
The RGU shall order the preparation of an EAW if the evidence presented by the petitioners, proposers, and other persons or otherwise known to the RGU demonstrates that, because of the nature or location of the proposed project, the project may have the potential for significant environmental effects. The RGU shall deny the petition if the evidence presented fails to demonstrate the project may have the potential for significant environmental effects. In considering the evidence, the RGU must take into account the factors listed in part 4410.1700, subpart 7. The RGU shall maintain, either as a separate document or contained within the records of the RGU, a record, including specific findings of fact, of its decision on the need for an EAW.
Subp. 7.
Time limits.
The RGU has 15 days from the date of the receipt of the petition to decide on the need for an EAW.
If the decision must be made by a board, council, or other body which meets only on a periodic basis, the time period may be extended by the RGU for an additional 15 days.
For all other RGU's, the EQB's chair shall extend the 15-day period by not more than 15 additional days upon request of the RGU.
Subp. 8.
Notice of decision.
Within five days of its decision the RGU shall notify, in writing, the proposer, the EQB staff, and the petitioner's representative of its decision. The EQB staff shall publish notice of the RGU's decision concerning the petition in the EQB Monitor.
Subp. 9.
Duration of effect of petition.
If an RGU cannot act on a petition because no permit application has been filed, the application has been withdrawn, or the application has been denied, the petition remains in effect for no more than one year from the date on which it was filed with the EQB. While the petition remains in effect, part 4410.3100, subparts 1 and 2, apply to any proposed project for which the nature and location is substantially similar to the project identified in the petition.
History:
13 SR 1437; 31 SR 539; 34 SR 721; 37 SR 820
Published Electronically:
August 20, 2018
4410.1200 EAW CONTENT.
The EAW shall address at least the following major categories in the form provided on the worksheet:
B.
procedural details including identification of the RGU, EAW contact person, and instructions for interested persons wishing to submit comments;
C.
description of the project, the purpose of the project, methods of construction, quantification of physical characteristics and impacts, project site description, and land use and physical features of the surrounding area;
E.
major issues sections identifying potential environmental impacts and issues that may require further investigation before the project is commenced, including identification of cumulative potential effects;
F.
known governmental approvals, reviews, or financing required, applied for, or anticipated and the status of any applications made, including permit conditions that may have been ordered or are being considered;
G.
if the project will be carried out by a governmental unit, a brief explanation of the need for the project and an identification of those who will benefit from the project; and
H.
an assessment of the compatibility of the project with approved plans of local units of government.
History:
21 SR 1458; 31 SR 539; 34 SR 721
Published Electronically:
November 30, 2009
4410.1300 EAW FORM.
A.
The EQB chair shall develop an EAW form to be used by the RGU. The EQB chair may approve the use of an alternative EAW form if an RGU demonstrates the alternative form will better accommodate the RGU's function or better address a particular type of project and the alternative form will provide more complete, more accurate, or more relevant information.
B.
The EAW form shall be assessed by the EQB chair periodically and may be altered by the EQB chair to improve the effectiveness of the document.
C.
If a federal Environmental Assessment has been prepared for a project, the Environmental Assessment document may be circulated in place of the EAW form, provided that the Environmental Assessment addresses each of the environmental effects identified in the EAW form.
History:
13 SR 1437; 21 SR 1458
Published Electronically:
August 20, 2018
4410.1400 PREPARING EAW.
A.
The EAW shall be prepared as early as practicable in the development of the proposed project. The EAW shall be prepared by the RGU or its agents.
B.
When an EAW is to be prepared, the proposer shall submit the completed data portions of the EAW to the RGU. The RGU shall determine whether the proposer's submittal is complete within 30 days or such other time period as agreed upon by the RGU and proposer. If the RGU determines that the submittal is incomplete, the RGU shall return the submittal to the proposer for completion of the missing data. If the RGU determines that the submittal is complete, the RGU shall notify the proposer of the acceptance of the submittal within five days. The RGU shall have 30 days from notification to add supplementary material to the EAW, if necessary, and to approve the EAW for distribution. The RGU shall be responsible for the completeness and accuracy of all information.
History:
21 SR 1458; 31 SR 539
Published Electronically:
August 20, 2018
4410.1500 PUBLISHING AND DISTRIBUTING EAW.
A.
The RGU shall provide one copy of the EAW to the EQB staff within five days after the RGU approves the EAW. This copy shall serve as notification to the EQB staff to publish the notice of availability of the EAW in the EQB Monitor. At the time of submission of the EAW to the EQB staff, the RGU shall also submit one copy of the EAW to:
(10)
the regional development commission and regional development library for the region of the project site;
B.
The RGU shall promptly publish notice of the completion of an EAW by:
(1)
publishing the notice in at least one newspaper of general circulation in the geographic area where the project is proposed; or
(2)
posting the notice on a website that has been designated as the official publication site for publication of proceedings, public notices, and summaries of a political subdivision in which the project is proposed.
C.
Within five days of the date of submission of the EAW to the EQB staff, the RGU shall provide a press release, containing notice of the availability of the EAW for public review, to at least one newspaper of general circulation within the area where the project is proposed. The press release shall include the name and location of the project, a brief description of the project, the location at which copies of the EAW are available for review, the date the comment period expires, and the procedures for commenting. The RGU shall publish legal notice or advertisement of the availability of the EAW if the proposer requests and agrees to pay for the notice or advertisement. The notice or advertisement shall contain the information required in the press release.
D.
The EQB staff shall maintain an official EAW distribution list containing the names and addresses of agencies designated to receive EAW's.
History:
31 SR 539; 37 SR 820
Published Electronically:
September 7, 2018
4410.1600 EAW COMMENT PERIOD.
A.
A 30-day period for review and comment on the EAW shall begin the day the EAW availability notice is published in the EQB Monitor.
B.
Written comments shall be submitted to the RGU during the 30-day review period. The comments shall address the accuracy and completeness of the material contained in the EAW, potential impacts that may warrant further investigation before the project is commenced, and the need for an EIS on the proposed project.
C.
The RGU may hold one or more public meetings to gather comments on the EAW if it determines that a meeting is necessary or useful. Reasonable public notice of the meetings shall be given prior to the meetings. All meetings shall be open to the public.
Statutory Authority:
MS s 116D.04
Published Electronically:
August 20, 2018
4410.1700 DECISION ON NEED FOR EIS.
Subpart 1.
Standard for decision on need for EIS.
An EIS shall be ordered for projects that have the potential for significant environmental effects.
Subp. 2.
Decision-making process.
The decision on the need for an EIS shall be made in compliance with one of the following time schedules:
A.
if the decision is to be made by a board, council, or other body which meets only on a periodic basis, the decision shall be made between three and 30 days after the close of the review period; or
B.
for all other RGU's the decision shall be made no later than 15 days after the close of the 30-day review period. This 15-day period shall be extended by the EQB chair by no more than 15 additional days upon request of the RGU.
Subp. 2a.
Insufficient information.
If the RGU determines that information necessary to a reasoned decision about the potential for, or significance of, one or more possible environmental impacts is lacking, but could be reasonably obtained, the RGU shall either:
A.
make a positive declaration and include within the scope of the EIS appropriate studies to obtain the lacking information; or
B.
postpone the decision on the need for an EIS, for not more than 30 days or such other period of time as agreed upon by the RGU and proposer, in order to obtain the lacking information. If the RGU postpones the decision, it shall provide written notice of its action, including a brief description of the lacking information, within five days to the project proposer, the EQB staff, and any person who submitted substantive comments on the EAW.
Subp. 3.
Form and basis for decision.
The RGU's decision shall be either a negative declaration or a positive declaration. The RGU shall base its decision regarding the need for an EIS on the information gathered during the EAW process and the comments received on the EAW.
Subp. 4.
Record of findings supporting decision.
The RGU shall maintain a record, including specific findings of fact, supporting its decision. The record must include specific responses to all substantive and timely comments on the EAW. This record shall either be a separately prepared document or contained within the records of the governmental unit.
Subp. 5.
Distributing decision.
The RGU's decision shall be provided, within five days, to all persons on the EAW distribution list pursuant to part 4410.1500, to all persons that commented in writing during the 30-day review period, and to any person upon written request. All persons who submitted timely and substantive comments on the EAW shall be sent a copy of the RGU's response to those comments prepared under subpart 4. Upon notification, the EQB staff shall publish the RGU's decision in the EQB Monitor.
Subp. 6.
Standard.
In deciding whether a project has the potential for significant environmental effects the RGU shall compare the impacts that may be reasonably expected to occur from the project with the criteria in this part.
Subp. 7.
Criteria.
In deciding whether a project has the potential for significant environmental effects, the following factors shall be considered:
B.
cumulative potential effects. The RGU shall consider the following factors: whether the cumulative potential effect is significant; whether the contribution from the project is significant when viewed in connection with other contributions to the cumulative potential effect; the degree to which the project complies with approved mitigation measures specifically designed to address the cumulative potential effect; and the efforts of the proposer to minimize the contributions from the project;
C.
the extent to which the environmental effects are subject to mitigation by ongoing public regulatory authority. The RGU may rely only on mitigation measures that are specific and that can be reasonably expected to effectively mitigate the identified environmental impacts of the project; and
D.
the extent to which environmental effects can be anticipated and controlled as a result of other available environmental studies undertaken by public agencies or the project proposer, including other EISs.
Subp. 9.
Connected actions and phased actions.
Connected actions and phased actions shall be considered a single project for purposes of the determination of need for an EIS.
History:
13 SR 1437; 21 SR 1458; 31 SR 539; 34 SR 721
Published Electronically:
August 20, 2018
ENVIRONMENTAL IMPACT STATEMENT
4410.2000 PROJECTS REQUIRING EIS.
Subpart 1.
Purpose of EIS.
The purpose of an EIS is to provide information for governmental units, the proposer of the project, and other persons to evaluate proposed projects which have the potential for significant environmental effects, to consider alternatives to the proposed projects, and to explore methods for reducing adverse environmental effects.
Subp. 2.
Mandatory EIS categories.
An EIS shall be prepared for any project that meets or exceeds the thresholds of any of the EIS categories listed in part 4410.4400.
Subp. 3.
Discretionary EIS.
An EIS shall be prepared:
A.
when the RGU determines that, based on the EAW and any comments or additional information received during the EAW comment period, the proposed project has the potential for significant environmental effects; or
Subp. 4.
Connected actions and phased actions.
Multiple projects and multiple stages of a single project that are connected actions or phased actions must be considered in total when determining the need for an EIS and in preparing the EIS.
In connected actions and phased actions where it is not possible to adequately address all the project components or stages at the time of the initial EIS, a supplemental EIS must be completed before approval and construction of each subsequent project component or stage. The supplemental EIS must address the impacts associated with the particular project component or stage that were not addressed in the initial EIS.
For proposed projects such as highways, streets, pipelines, utility lines, or systems where the proposed project is related to a large existing or planned network, for which a governmental unit has determined environmental review is needed, the RGU shall treat the present proposal as the total proposal or select only some of the future elements for present consideration in the threshold determination and EIS. These selections must be logical in relation to the design of the total system or network and must not be made merely to divide a large system into exempted segments.
When review of the total of a project is separated under this subpart, the components or stages addressed in each EIS or supplement must include at least all components or stages for which permits or approvals are being sought from the RGU or other governmental units.
Subp. 5.
Related actions EIS.
An RGU may prepare a single EIS for independent projects with potential cumulative environmental impacts on the same geographic area if the RGU determines that review can be accomplished in a more effective or efficient manner through a related actions EIS. A project must not be included in a related actions EIS if its inclusion would unreasonably delay review of the project compared to review of the project through an independent EIS.
History:
13 SR 1437
Published Electronically:
August 20, 2018
4410.2100 EIS SCOPING PROCESS.
Subpart 1.
Purpose.
The scoping process shall be used before the preparation of an EIS to reduce the scope and bulk of an EIS, identify only those potentially significant issues relevant to the proposed project, define the form, level of detail, content, alternatives, time table for preparation, and preparers of the EIS, and to determine the permits for which information will be developed concurrently with the EIS.
Subp. 2.
EAW as scoping document.
All projects requiring an EIS must have an EAW filed with the RGU. The EAW shall be the basis for the scoping process.
For projects which fall within a mandatory EIS category or if a voluntary EIS is planned, the EAW will be used solely as a scoping document. For such projects, the RGU shall prepare and circulate with the EAW a draft scoping decision document that addresses the contents specified by subpart 6 to the extent that information is already available. The purpose of the draft scoping decision document is to facilitate the delineation of issues and analyses to be contained in the EIS. The information in a draft scoping decision document shall be considered as preliminary and subject to revision based on the entire record of the scoping process.
If the need for an EIS has not been determined the EAW will have two functions:
Subp. 3.
Scoping period.
If the EIS is being prepared pursuant to part 4410.2000, subpart 2 or 3, item B, the following schedule applies:
A.
The 30-day scoping period will begin when the notice of the availability of the EAW is published in accord with part 4410.1500, items A and B. This notice and press release shall include the time, place, and date of the scoping meeting.
B.
The RGU shall provide the opportunity for at least one scoping meeting during the scoping period. This meeting shall be held not less than 15 days after publication of the notice of availability of the EAW. All meetings shall be open to the public.
C.
A final scoping decision shall be issued within 15 days after the close of the 30-day scoping period.
Subp. 4.
Scoping period for some discretionary EIS's.
If the EIS is being prepared pursuant to part 4410.2000, subpart 3, item A, the following schedule applies:
A.
At least ten days but not more than 20 days after notice is published in the EQB Monitor, a public meeting shall be held to review the scope of the EIS. Notice of the time, date, and place of the scoping meeting shall be published in the EQB Monitor within 15 days of receipt of the proposer's scoping cost payment pursuant to part 4410.6500, subpart 1, item A, and a press release shall be provided to a newspaper of general circulation in the area where the project is proposed. All meetings shall be open to the public.
B.
Within 15 days of the public scoping meeting, the RGU shall issue its final decision regarding the scope of the EIS. If the decision of the RGU must be made by a board, council, or other similar body which meets only on a periodic basis, the decision may be made at the next regularly scheduled meeting of the body following the scoping meeting but not more than 45 days after the positive declaration is published in the EQB Monitor.
Subp. 5.
Procedure for scoping.
Written comments suggesting issues for scoping or commenting on the EAW must be filed with the RGU during the scoping period. Interested persons may attend the scoping meeting to exercise their right to comment.
Governmental units and other persons shall be responsible for participating in the scoping process within the time limits and in the manner prescribed in parts 4410.0200 to 4410.6500.
Subp. 6.
Scoping decision; contents.
The scoping decision at the least shall contain:
B.
time limits for preparation, if they are shorter than those allowed by parts 4410.0200 to 4410.6500;
C.
identification of the permits for which information will be gathered concurrently with EIS preparation;
F.
identification of potential impact areas resulting from the project itself and from related actions which shall be addressed in the EIS; and
G.
identification of necessary studies requiring compilation of existing information or the development of new data that can be generated within a reasonable amount of time and at a reasonable cost.
Subp. 7.
Change in form of EIS.
The form of an EIS may be changed during scoping if circumstances indicate the need or appropriateness of an alternative form.
Subp. 8.
Amendments to scoping decision.
After the scoping decision is made, the RGU shall not amend the decision without the agreement of the proposer unless substantial changes are made in the proposed project that affect the potential significant environmental effects of the project or substantial new information arises relating to the proposed project that significantly affects the potential environmental effects of the proposed project or the availability of prudent and feasible alternatives to the project. If the scoping decision is amended after publication of the EIS preparation notice, notice and a summary of the amendment shall be published in the EQB Monitor within 30 days of the amendment. The notice may be incorporated into the notice of the availability of the draft or final EIS.
Subp. 9.
EIS preparation notice.
An EIS preparation notice shall be published within 45 days after the RGU receives the proposer's cash payment pursuant to part 4410.6410, subpart 3, or 4410.6500, subpart 1, item B. The notice shall be published in the EQB Monitor, and a press release shall be provided to at least one newspaper of general circulation in each county where the project will occur. The notice shall contain a summary of the scoping decision.
Subp. 10.
Consultant selection.
The RGU shall be responsible for expediting the selection of consultants for the preparation of the EIS.
Subp. 11.
Modifying project; terminating EIS process.
After initiation of scoping for an EIS, if the proposed project is modified so that an EIS is no longer mandatory, or the reasons for ordering an EIS no longer apply, the RGU may terminate the EIS process as described in items A and B.
A.
If the modified project meets or exceeds any threshold for a mandatory EAW listed at part 4410.4300, an EAW must be prepared on the modified project in accordance with parts 4410.1400 to 4410.1700. The EAW shall be accompanied by a notice of termination of the former EIS explaining the changes made in the proposed project and the reasons for the termination of the EIS.
B.
If the modified project does not meet or exceed any thresholds for a mandatory EAW listed at part 4410.4300 and is not exempted pursuant to part 4410.4600, the RGU shall send written notice of its intent to terminate the EIS to all persons who submitted comments on the EIS scope and to all persons on the EAW distribution list under part 4410.1500. The notice shall summarize the reasons for the intended termination of the EIS, identify a contact person to whom comments may be sent, and announce the end of the comment period. The EQB staff shall publish notice in the EQB Monitor, and a press release shall be supplied by the RGU to at least one newspaper of general circulation in the area of the project.
A period of not less than ten days from the date of publication of the notice in the EQB Monitor shall be provided for interested persons to comment on the need for an EIS on the modified project and to object to the termination of the EIS. If no written objections are received by the RGU within the comment period, the EIS process is automatically terminated upon the expiration of the comment period. If any written objections are received by the RGU within the comment period, the RGU shall consider the comments received and determine the need to continue the EIS on the modified project in accordance with part 4410.1700.
Subp. 12.
Amendment of scope by order of EQB pursuant to resolution of a cost dispute.
If in resolving an EIS cost disagreement pursuant to part 4410.6410, the EQB finds that the scope of the EIS is not in conformance with parts 4410.2100 to 4410.2500, the EQB may order the RGU to amend the scope of the EIS to the extent necessary to conform to the requirements of those parts, and the new scope of the EIS shall be considered in resolving the cost dispute.
History:
13 SR 1437; 21 SR 1458; 31 SR 539
Published Electronically:
August 20, 2018
4410.2200 EIS INTERDISCIPLINARY PREPARATION.
An EIS shall be prepared using an interdisciplinary approach which will ensure the integrated use of the natural, environmental, and social sciences. The RGU may request that another governmental unit help in the completion of the EIS. Governmental units shall provide any unprivileged data or information, to which it has reasonable access, concerning the subjects to be discussed and shall assist in the preparation of environmental documents on any project for which it has special expertise or access to information.
Statutory Authority:
MS s 116D.04
Published Electronically:
November 30, 2009
4410.2300 CONTENT OF EIS.
An EIS shall be written in plain and objective language. An RGU shall use a format for an EIS that will encourage good analysis and clear presentation of the proposed action including alternatives to the project. The standard format shall be:
A.
Cover sheet: the cover sheet shall include:
(2)
the title of the proposed project that is the subject of the statement and, if appropriate, the titles of related actions, together with each county or other jurisdictions, if applicable, where the project is located;
(3)
the name, address, and telephone number of the person at the RGU who can supply further information;
(4)
the name and address of the proposer and the name, address, and telephone number of the proposer's representative who can supply further information;
(7)
if appropriate, the date of the public meeting on the draft EIS and the date following the meeting by which comments on the draft EIS must be received by the RGU.
B.
Summary: the summary shall stress the major findings, areas of controversy, and the issues to be resolved including the choice among alternatives.
D.
List of preparers: this list shall include the names and qualifications of the persons who were primarily responsible for preparing the EIS or significant background papers.
E.
Project description: the proposed project shall be described with no more detail than is absolutely necessary to allow the public to identify the purpose of the project, its size, scope, environmental setting, geographic location, and the anticipated phases of development.
F.
Governmental approvals: this section shall list all known governmental permits and approvals required including identification of the governmental unit which is responsible for each permit or approval. Those permits for which all necessary information has been gathered and presented in the EIS shall be identified.
G.
Alternatives: the EIS shall compare the potentially significant impacts of the proposal with those of other reasonable alternatives to the proposed project. The EIS must address one or more alternatives of each of the following types of alternatives or provide a concise explanation of why no alternative of a particular type is included in the EIS: alternative sites, alternative technologies, modified designs or layouts, modified scale or magnitude, and alternatives incorporating reasonable mitigation measures identified through comments received during the comment periods for EIS scoping or for the draft EIS. An alternative may be excluded from analysis in the EIS if it would not meet the underlying need for or purpose of the project, it would likely not have any significant environmental benefit compared to the project as proposed, or another alternative, of any type, that will be analyzed in the EIS would likely have similar environmental benefits but substantially less adverse economic, employment, or sociological impacts. Alternatives included in the scope of the EIS as established under part 4410.2100 that were considered but eliminated based on information developed through the EIS analysis shall be discussed briefly and the reasons for their elimination shall be stated. The alternative of no action shall be addressed.
H.
Environmental, economic, employment, and sociological impacts: for the proposed project and each major alternative there shall be a thorough but succinct discussion of potentially significant adverse or beneficial effects generated, be they direct, indirect, or cumulative. Data and analyses shall be commensurate with the importance of the impact and the relevance of the information to a reasoned choice among alternatives and to the consideration of the need for mitigation measures; the RGU shall consider the relationship between the cost of data and analyses and the relevance and importance of the information in determining the level of detail of information to be prepared for the EIS. Less important material may be summarized, consolidated, or simply referenced. The EIS shall identify and briefly discuss any major differences of opinion concerning significant impacts of the proposed project on the environment.
I.
Mitigation measures: this section shall identify those measures that could reasonably eliminate or minimize any adverse environmental, economic, employment, or sociological effects of the proposed project.
J.
Appendix: if a RGU prepares an appendix to an EIS the appendix shall include, when applicable:
(1)
material prepared in connection with the EIS, as distinct from material which is not so prepared and which is incorporated by reference;
(3)
permit information that was developed and gathered concurrently with the preparation of the EIS. The information may be presented on the permitting agency's permit application forms. The appendix may reference information for the permit included in the EIS text or the information may be included within the appendix, as appropriate. If the permit information cannot conveniently be incorporated into the EIS, the EIS may simply indicate the location where the permit information may be reviewed.
History:
21 SR 1458; 34 SR 721
Published Electronically:
November 30, 2009
4410.2400 INCORPORATION BY REFERENCE IN EIS.
An RGU shall incorporate material into an EIS by reference when the effect will be to reduce bulk without impeding governmental and public review of the project. The incorporated material shall be cited in the EIS, and its content shall be briefly described. No material may be incorporated by reference unless it is reasonably available for inspection by interested persons within the time allowed for comment.
History:
21 SR 1458
Published Electronically:
November 30, 2009
4410.2500 INCOMPLETE OR UNAVAILABLE INFORMATION.
If information about potentially significant environmental effects is essential to a reasoned choice among alternatives and is not known and the cost of obtaining it is excessive, the information cannot be obtained within the time periods specified in part 4410.2800, subpart 3, or the means to obtain the information are beyond the state of the art, the RGU shall include the following information in the EIS:
A.
a statement that the information is incomplete or unavailable and a brief explanation of why it is lacking;
B.
an explanation of the relevance of the lacking information to evaluation of potentially significant environmental impacts and their mitigation and to a reasoned choice among alternatives;
C.
a brief summary of existing credible scientific evidence that is relevant to evaluating the potential significant environmental impacts; and
D.
the RGU's evaluation of such impacts from the project and its alternatives based upon theoretical approaches or research methods generally accepted in the scientific community.
History:
21 SR 1458
Published Electronically:
November 30, 2009
4410.2550 PRELIMINARY DRAFT EIS OPTION.
The proposer of a specific action may include in the information submitted to the RGU a preliminary draft EIS on that action for review, modification, and determination of completeness and adequacy by the RGU. The RGU may allow a proposer of a specific action to prepare a preliminary draft environmental impact statement according to Minnesota Statutes, section 116D.04, subdivision 2a, paragraph (k). A preliminary draft EIS prepared by the project proposer and submitted to the RGU shall identify or include as an appendix all studies and other sources of information used to substantiate the analysis contained in the preliminary draft EIS. The RGU shall require additional studies, if needed, and obtain from the project proposer all additional studies and information necessary for the RGU to perform its responsibility to review, modify, and determine the completeness and adequacy of the EIS.
History:
37 SR 820; 43 SR 162
Published Electronically:
August 20, 2018
4410.2600 DRAFT EIS.
Subpart 1.
Preparation.
A draft EIS shall be prepared consistent with parts 4410.0200 to 4410.6500 and in accord with the scoping determination.
Subp. 2.
Review and comment; informational meeting.
When the draft EIS is completed, the RGU shall make the draft EIS available for public review and comment and shall hold an informational meeting in the county where the project is proposed.
Subp. 3.
Distribution of draft.
The entire draft EIS with appendixes shall be provided to:
A.
any governmental unit which has authority to permit or approve the proposed project, to the extent known;
G.
a public library or public place where the draft will be available for public review in each county where the project will take place, to the extent known; and
Subp. 4.
Distribution of summary.
The summary of the draft EIS shall be provided to all members of the EAW distribution list that do not receive the entire draft EIS; any person that submitted substantive comments on the EAW that does not receive the entire draft EIS; and any person requesting the summary.
Subp. 5.
Notice to publish in EQB Monitor.
The copy provided to the EQB staff shall serve as notification to publish notice of availability of the draft EIS in the EQB Monitor.
Subp. 6.
Press release.
The RGU shall supply a press release to at least one newspaper of general circulation within the area where the project is proposed.
Subp. 7.
Contents of published notices.
The notice of availability in the EQB Monitor and the press release shall contain notice of the date, time, and place of the informational meeting, notice of the location of the copy of the draft EIS available for public review, and notice of the date of termination of the comment period.
Subp. 8.
Time of meeting; transcript.
The informational meeting must be held not less than 15 days after publication of the notice of availability in the EQB Monitor. A typewritten or audio-recorded transcript of the meeting shall be made.
Subp. 9.
Public comment.
The record shall remain open for public comment not less than ten days after the last date of the informational meeting. Written comments on the draft EIS may be submitted any time during the comment period.
Subp. 10.
RGU's response.
The RGU shall respond to the timely substantive comments received on the draft EIS and prepare the final EIS.
Statutory Authority:
MS s 116D.04
Published Electronically:
November 30, 2009
4410.2700 FINAL EIS.
Subpart 1.
Contents.
The final EIS shall respond to the timely substantive comments on the draft EIS consistent with the scoping decision. The RGU shall discuss at appropriate points in the final EIS any responsible opposing views relating to scoped issues which were not adequately discussed in the draft EIS and shall indicate the RGU's response to the views.
Subp. 2.
Treatment of major or minor changes to draft EIS.
If only minor changes in the draft EIS are suggested in the comments on the draft, the written comments and the responses may be attached to the draft or bound as a separate volume and circulated as the final EIS. If other than minor changes are required, the draft text shall be rewritten so that necessary changes in the text are incorporated in the appropriate places.
Subp. 3.
Distribution of copies.
The RGU shall provide copies of the final EIS to all persons receiving copies of the entire draft EIS pursuant to part 4410.2600, subpart 3; any person who submitted substantive comments on the draft EIS; and to the extent possible, to any person requesting the final EIS.
Subp. 4.
Notice to publish in EQB Monitor.
The copy provided to the EQB staff shall serve as notification to publish notice of availability of the final EIS in the EQB Monitor.
Subp. 5.
Press release.
The RGU shall supply a press release to at least one newspaper of general circulation within the area where the project is proposed.
Subp. 6.
Contents of published notices.
The notice of availability in the EQB Monitor and the press release shall contain notice of the location of the copy of the final EIS available for public review and notice of the opportunity for public comment on the adequacy of the final EIS.
Statutory Authority:
MS s 116D.04
Published Electronically:
November 30, 2009
4410.2800 DETERMINATION OF ADEQUACY.
Subpart 1.
Who is to determine.
The RGU shall determine the adequacy of the final EIS unless notified by the EQB, on its own initiative or at the request of the RGU, the proposer of the project, or other interested persons, that the EQB will determine the adequacy. The EQB shall notify the RGU no later than 60 days following publication of the preparation notice in the EQB Monitor. The EQB shall intervene only if the EQB determines that:
A.
the RGU is or will be unable to provide an objective appraisal of the potential impacts of the project;
Subp. 1a.
Decision by EQB; information needs.
If the EQB will be determining the adequacy of the EIS, the RGU shall submit to the EQB the following information within five days of the filing of the final EIS:
A.
evidence of compliance with distribution requirements for the scoping EAW, draft EIS, and final EIS;
B.
copies of press releases giving notice of EIS scoping, the EIS preparation notice, the draft EIS, and the final EIS, and evidence of submission of each in accordance with the applicable requirements of the rules;
G.
copies of any comments the RGU has received on the final EIS that have not also been supplied to the EQB.
Subp. 2.
Written comments.
Interested persons may submit written comments on the adequacy of the final EIS to the RGU or the EQB, if applicable, for a period of not less than ten days following publication in the EQB Monitor of the notice of availability of the final EIS. The notice of availability of the final EIS shall indicate when the comment period expires.
Subp. 3.
Time limits.
The determination of adequacy of the final EIS shall be made at least ten days after publication in the EQB Monitor of the notice of availability of the final EIS. The determination of adequacy of the final EIS shall be made within 280 days after the preparation notice was published in the EQB Monitor unless the time is extended by consent of the proposer and the RGU or by the governor for good cause.
Subp. 4.
Conditions.
The final EIS shall be determined adequate if it:
A.
addresses the potentially significant issues and alternatives raised in scoping so that all significant issues for which information can be reasonably obtained have been analyzed in conformance with part 4410.2300, items G and H;
B.
provides responses to the substantive comments received during the draft EIS review concerning issues raised in scoping; and
History:
13 SR 1437; 21 SR 1458
Published Electronically:
November 30, 2009
4410.2900 PERMIT DECISIONS IN CASES REQUIRING EIS.
A.
Within 30 days after the determination of adequacy of a final EIS, final decisions shall be made by the appropriate governmental units on those permits which were identified as required in the scoping process and for which information was developed concurrently with the preparation of the EIS. The 30-day period may be extended with the consent of the permit applicant, where a longer period is required by federal law or state statute, or where a longer period is permitted by Minnesota Statutes, section 15.99.
B.
At the time of its permit decision, for those permits that were identified during the scoping process as requiring a record of decision, each permitting unit of government shall prepare a concise public record of how it considered the EIS in its decision. That record shall be supplied to the EQB for the purpose of monitoring the effectiveness of the process created by parts 4410.0200 to 4410.6500 and to any other person requesting the information. The record may be integrated into any other record prepared by the permitting unit of government.
C.
The RGU or other governmental unit shall, upon request, inform commenting governmental units and interested parties on the progress in carrying out mitigation measures which the commenting governmental units have proposed and which were adopted by the RGU making the decision.
History:
37 SR 820
Published Electronically:
August 20, 2018
4410.3000 SUPPLEMENTING EIS.
Subpart 1.
Applicability.
An RGU shall supplement an EIS by preparing a supplemental EIS document in accordance with this part.
Subp. 2.
EIS addendum.
An RGU may make minor revisions to a final EIS by use of an EIS addendum. An EIS addendum may not be used to make revisions required under subpart 3. The addendum shall be distributed to the EQB, to any person who received the final EIS document, and to any other person upon written request. The EQB shall publish notice of the availability of the addendum in the EQB Monitor.
Subp. 3.
Supplement to EIS.
An RGU shall prepare a supplement to an EIS under any of the following circumstances:
A.
whenever after a final EIS has been determined adequate, but before the project becomes exempt under part 4410.4600, subpart 2, item B or D, the RGU determines that either:
(1)
substantial changes have been made in the proposed project that affect the potential significant adverse environmental effects of the project; or
(2)
there is substantial new information or new circumstances that significantly affect the potential environmental effects from the proposed project that have not been considered in the final EIS or that significantly affect the availability of prudent and feasible alternatives with lesser environmental effects;
B.
whenever an EIS has been prepared for an ongoing governmental action and the RGU determines that the conditions of item A, subitem (1) or (2), are met with respect to the action; or
C.
whenever an EIS has been prepared for one or more phases of a phased action or one or more components of a connected action and a later phase or another component is proposed for approval or implementation that was not evaluated in the initial EIS.
Subp. 4.
Request for supplement to EIS.
Any person may request preparation of a supplement to an EIS by submitting a written request to the RGU containing material evidence that a supplement is required under subpart 3. A copy of the request must be sent to the EQB. The RGU shall make a decision on the need for a supplement within 30 days of receipt of the request, and shall notify the requesting person and the EQB staff of its decision within five days. If the RGU denies the request, the notice must explain the basis for its decision and respond to the issues raised by the requesting person. If the RGU orders a supplement, its basis for the decision must be incorporated into the supplement preparation notice.
Subp. 5.
Procedure for preparing supplement to EIS.
A supplement to an EIS shall be prepared, circulated, and reviewed according to the procedures in items A to E.
A.
The scope of a supplement to an EIS must be limited to impacts, alternatives, and mitigation measures not addressed or inadequately addressed in the final EIS. The RGU shall adopt a scope for the supplement as part of the preparation notice. The RGU may consult with any person in order to obtain information relevant to the scoping of a supplement, and may hold public meetings to obtain the information. Reasonable notice must be given of any meetings. All meetings must be open to the public.
B.
The RGU shall adopt and distribute a notice of the preparation of the supplement to the EIS. The notice must contain:
(2)
a brief description of the situation necessitating the preparation of the supplement, including a description of how the changes in the proposed project or new information may affect the potential significant environmental effects from the project or the availability of prudent and feasible alternatives;
(3)
the scope of the supplement including issues to be analyzed, alternatives to be examined, and studies to be undertaken; and
(4)
the proposed time schedule for the preparation of the supplement.
The preparation notice must be distributed to all persons who received the final EIS, to all persons on the EAW distribution list under part 4410.1500, and to any person who requested that a supplement be prepared under subpart 4, provided that if more than one person signed a letter or other document requesting a supplement, notice need only be distributed to their representative or to the person whose signature first appears on the document. The EQB shall publish a summary of the preparation notice in the EQB Monitor.
If, within 20 days of publication of the preparation notice in the EQB Monitor, any person submits written comments to the RGU objecting to the scope of the supplement, the RGU shall give due consideration to modifying its scope based on the comments. The RGU shall include in the draft supplement document a copy of any timely comments received objecting to the scope and its response to the comments.
C.
The RGU shall prepare a draft supplement for the purposes of receiving public comments. The draft document must conform to the requirements of parts 4410.2300, items D to J, 4410.2400, and 4410.2500. The draft supplement must be distributed and reviewed in accordance with part 4410.2600, subparts 2 to 10, except that the informational meeting must be held not less than ten days after publication of notice in the EQB Monitor.
Subp. 6.
Time limit for supplement to EIS.
A determination of the adequacy of a supplement to an EIS must be made within 120 days of the order for preparation of the supplement, unless the time is extended by the consent of the proposer and RGU or by the governor for good cause.
Subp. 7.
Treatment of expansions of a project for which EIS was prepared.
Subsequent expansions of, or additions to, implemented projects for which an EIS was prepared must be treated as independent projects for the determination of the need for environmental review and must be reviewed in accordance with parts 4410.1000 to 4410.2800 rather than according to this part, unless the expansion or addition is part of a phased action or connected action requiring review under subpart 3, item C. Tiering of information from the original EIS may be used to minimize duplication of paperwork, provided that the original EIS is reasonably available for public and agency review.
History:
13 SR 1437
Published Electronically:
August 20, 2018
4410.3100 PROHIBITION ON FINAL GOVERNMENTAL DECISIONS.
Subpart 1.
Prohibitions.
If an EAW or EIS is required for a governmental action under parts 4410.0200 to 4410.6500, or if a petition for an EAW is filed under part 4410.1100 that complies with the requirements of subparts 1 and 2 of that part, a project may not be started and a final governmental decision may not be made to grant a permit, approve a project, or begin a project, until:
Subp. 2.
Public projects, prohibitions.
If a project subject to review under parts 4410.0200 to 4410.6500 is proposed to be carried out or sponsored by a governmental unit, the governmental unit shall not take any action with respect to the project, including the acquisition of property, if the action will prejudice the ultimate decision on the project, until a petition has been dismissed, a negative declaration has been issued, or until the final EIS has been determined adequate by the RGU or the EQB, unless the project is an emergency under subpart 9 or a variance is granted under subparts 4 to 8. An action prejudices the ultimate decision on a project if it tends to determine subsequent development or to limit alternatives or mitigative measures.
Subp. 2a.
Concurrent review of draft permits not prohibited.
Subpart 1 does not prohibit a governmental unit from issuing notice of and receiving public comments on a draft permit prior to completion of environmental review.
Subp. 4.
Variance.
Construction may begin on a project if the proposer applies for and is granted a variance from subparts 1 and 2. A variance for certain governmental approvals to be granted prior to completion of the environmental review process may also be requested. A variance may be requested at any time after the commencement of the 30-day review period following the filing of an EAW. The proposer shall submit an application for a variance to the EQB together with:
A.
a detailed explanation of the construction proposed to be undertaken or the governmental approvals to be granted;
B.
the anticipated environmental effects of undertaking the proposed construction or granting the governmental approvals;
E.
a statement describing how approval would affect subsequent approvals needed for the project and how approval would affect the purpose of environmental review.
Subp. 5.
Variance applications.
The EQB chair shall publish a notice of the variance application in the EQB Monitor within 15 days after receipt of the application. The EQB chair shall issue a press release to at least one newspaper of general circulation in the area where the project is proposed. The notice and press release shall summarize the reasons given for the variance application and specify that comments on whether a variance should be granted must be submitted to the EQB within 20 days after the date of publication in the EQB Monitor.
Subp. 6.
Granting variance.
At its first meeting more than ten days after the comment period expires, the EQB shall grant or deny the variance. A variance shall be granted if:
B.
on the basis of the variance application and the comments, construction is necessary in order to avoid excessive and unusual economic hardship, or avoid a serious threat to public health or safety. Unusual economic hardship is hardship caused by unique conditions and circumstances which are peculiar to the project and are not characteristic of other similar projects or general economic conditions of the area or state. It does not include hardship caused by the proposer's own action, or inaction, if the hardship was reasonably foreseeable;
C.
on the basis of the variance application and the comments, the construction for which the variance is sought will not have a serious adverse effect on the environment; and
D.
on the basis of the variance application and the comments, the construction for which the variance is sought is separable from the remainder of the project and would not have the effect of eliminating from consideration any feasible and prudent alternatives or mitigation measures likely to be presented in an EIS.
Subp. 7.
Written notice.
The EQB shall set forth in writing its reasons for granting or denying each request for a variance.
Subp. 8.
Construction or government approvals.
Only the construction or governmental approvals necessary to avoid the consequences listed in subpart 6 shall be undertaken or granted.
Subp. 9.
Emergency action.
In the rare situation when immediate action by a governmental unit or person is essential to avoid or eliminate an imminent threat to the public health or safety or a serious threat to natural resources, a proposed project may be undertaken without the environmental review which would otherwise be required by parts 4410.0200 to 4410.6500. The governmental unit or person must demonstrate to the EQB chair, either orally or in writing, that immediate action is essential and must receive authorization from the EQB chair to proceed. Authorization to proceed shall be limited to those aspects of the project necessary to control the immediate impacts of the emergency. Other aspects of the project remain subject to review under parts 4410.0200 to 4410.6500.
History:
11 SR 714; 13 SR 1437; 21 SR 1458; 28 SR 951; 31 SR 539; 34 SR 721
Published Electronically:
November 30, 2009
4410.3200
[Repealed, 21 SR 1458]
Published Electronically:
November 30, 2009
SUBSTITUTE FORMS OF ENVIRONMENTAL REVIEW
4410.3600 ALTERNATIVE REVIEW.
Subpart 1.
Implementation.
Governmental units may request EQB approval of an alternative form of environmental review for categories of projects which undergo environmental review under other governmental processes. The governmental processes must address substantially the same issues as the EAW and EIS process and use procedures similar in effect to those of the EAW and EIS process. The EQB shall approve the governmental process as an alternative form of environmental review if the governmental unit demonstrates the process meets the following conditions:
B.
the aspects of the process that are intended to substitute for an EIS process address substantially the same issues as an EIS and uses procedures similar to those used in preparing an EIS but in a more timely or more efficient manner;
C.
alternatives to the proposed project are considered in light of their potential environmental impacts in those aspects of the process that are intended to substitute for an EIS process;
E.
a description of the proposed project and analysis of potential impacts, alternatives (in those aspects of the process intended to substitute for an EIS), and mitigating measures are provided to other affected or interested governmental units and the general public;
F.
the governmental unit shall provide notice of the availability of environmental documents to the general public in at least the area affected by the project (a copy of environmental documents on projects reviewed under an alternative review procedure shall be submitted to the EQB; the EQB shall be responsible for publishing notice of the availability of the documents in the EQB Monitor);
G.
other governmental units and the public are provided with a reasonable opportunity to request environmental review and to review and comment on the information concerning the project (the process must provide for RGU response to timely substantive comments relating to issues discussed in environmental documents relating to the project); and
H.
the process must routinely develop the information required in items A to E and provide the notification and review opportunities in items F and G for each project that would be subject to environmental review.
Subp. 2.
Exemption.
If the EQB accepts a governmental unit's process as an adequate alternative review procedure, projects reviewed under that alternative review procedure shall be exempt from environmental review under parts 4410.1100 to 4410.1700, and 4410.2100 to 4410.3000 but the EQB retains its authority under part 4410.2800 to determine the adequacy of the environmental documents that substitute for the EIS in the approved process. On approval of the alternative review process, the EQB shall provide for periodic review of the alternative procedure to ensure continuing compliance with the requirements and intent of these environmental review procedures. The EQB shall withdraw its approval of an alternative review procedure if review of the procedure indicates that the procedure no longer fulfills the intent and requirements of the Minnesota Environmental Policy Act and parts 4410.0200 to 4410.6500. A project in the process of undergoing review under an approved alternative process shall not be affected by the EQB's withdrawal of approval.
History:
11 SR 714; 13 SR 1437
Published Electronically:
November 30, 2009
4410.3610 ALTERNATIVE URBAN AREAWIDE REVIEW PROCESS.
Subpart 1.
Applicability.
A local unit of government may use the procedures of this part instead of the procedures of parts 4410.1100 to 4410.1700 and 4410.2100 to 4410.3000 to review anticipated residential, commercial, warehousing, and light industrial development and associated infrastructure in a particular geographic area within its jurisdiction, if the local unit has adopted a comprehensive plan that includes at least the elements in items A to C. The procedures of this part may not be used to review any project meeting the requirements for a mandatory EAW in part 4410.4300, subparts 2 to 13, 15 to 17, 18, item C, D, or E, or 24, or a mandatory EIS in part 4410.4400, subparts 2 to 10, 12, 13, or 25. The local unit of government is the RGU for any review conducted under this part.
A.
A land use plan designating the existing and proposed location, intensity, and extent of use of land and water for residential, commercial, industrial, agricultural, and other public and private purposes.
B.
A public facilities plan describing the character, location, timing, sequence, function, use, and capacity of existing and future public facilities of the local governmental unit. The public facilities plan must include at least the following parts:
(1)
a transportation plan describing, designating, and scheduling the location, extent, function, and capacity of existing and proposed local public and private transportation facilities and services; and
(2)
a sewage collection system policy plan describing, designating, and scheduling the areas to be served by the public system, the existing and planned capacities of the public system, and the standards and conditions under which the installation of private sewage treatment systems will be permitted.
C.
An implementation program describing public programs, fiscal devices, and other actions to be undertaken to implement the comprehensive plan. The implementation plan must include a description of official controls addressing the matters of zoning, subdivision, and private sewage treatment systems, a schedule for the implementation of those controls, and a capital improvements program for public facilities.
A local governmental unit that has an adopted comprehensive plan that lacks any of the elements required by this subpart may qualify for the use of the procedures of this part upon a demonstration to the EQB chair that the lacking element would have no substantial effect on the purpose of or outcome of the environmental review and upon receiving authorization from the EQB chair to use these procedures.
Subp. 2.
Relationship to specific development projects.
A.
Upon completion of review under this part, residential, commercial, warehousing, and light industrial development projects and associated infrastructure within the boundaries established under subpart 3 that are consistent with development assumptions established under subpart 3 are exempt from review under parts 4410.1100 to 4410.1700 and 4410.2100 to 4410.3000 as long as the approval and construction of the project complies with the conditions of the plan for mitigation developed under subpart 5.
B.
The prohibitions of part 4410.3100, subparts 1 and 2, apply to all projects for which review under this part substitutes for review under parts 4410.1100 to 4410.1700 or 4410.2100 to 4410.3000. These prohibitions terminate upon the adoption by the RGU of the environmental analysis document and plan for mitigation under subpart 5.
C.
If a specific residential, commercial, warehousing, light industrial, or associated infrastructure project, that is subject to an EAW or EIS, is proposed within the boundaries of an area for which an alternative review under this part is planned or is in preparation but has not yet been completed, the RGU may, at its discretion, review the specific project either through the alternative areawide review procedures or through the EAW or EIS procedures. If the project is reviewed through the alternative areawide review procedures, at least one set of development assumptions used in the process must be consistent with the proposed project, and the project must incorporate the applicable mitigation measures developed through the process.
D.
The ordering of a review pursuant to subpart 3 does not constitute a finding by the RGU that each potential project within the designated boundary has or may have the potential for significant environmental effects. After an order for review has been adopted under subpart 3, if a specific project for which an EAW or EIS is not mandatory is proposed within the boundaries of the review area, the RGU may exclude the project from the review process and proceed with its approval by using the following process. The RGU must provide notice of the intended exclusion and the reasons for the intended exclusion in the same manner as for distribution of an EAW pursuant to part 4410.1500. Agencies and interested persons shall have ten days from the date of the notice in the EQB Monitor to file comments with the RGU about the proposed removal of the project from the review. If no adverse comments are received within the comment period, the project is automatically excluded from the review and the prohibitions under part 4410.3100 do not apply to the project without further action by the RGU. If adverse comments are received, the RGU must consider the comments and determine whether to include the project in the review or to exclude it within 30 days of the end of the comment period based on whether the project may have the potential for significant environmental effects, taking into account the comments received and the interaction of the project with other anticipated development in its surrounding area.
E.
If a specific project will be reviewed through the procedures of this part rather than through the EAW or EIS procedures and the project itself would otherwise require preparation of an EIS pursuant to part 4410.4400 or will comprise at least 50 percent of the geographic area to be reviewed, the RGU must follow the additional procedures of subpart 5a in the review.
Subp. 3.
Order for review; geographic area designation and specification of development.
The RGU shall adopt an order for each review under this part that specifies the boundaries of the geographic area within which the review will apply and specifies the anticipated nature, location, and intensity of residential, commercial, warehousing, and light industrial development and associated infrastructure within those boundaries. The RGU may specify more than one scenario of anticipated development provided that at least one scenario is consistent with the adopted comprehensive plan. At least one scenario must be consistent with any known development plans of property owners within the area. The RGU may delineate subareas within the area, as appropriate to facilitate planning and review of future development, and allocate the overall anticipated development among the subareas.
Subp. 4.
Environmental analysis document; form and content.
The content and format must be similar to that of the EAW, but must provide for a level of analysis comparable to that of an EIS for direct, indirect, and cumulative potential effects typical of urban residential, commercial, warehousing, and light industrial development and associated infrastructure. The content and format must provide for a certification by the RGU that the comprehensive plan requirements of subpart 1 are met.
Subp. 5.
Procedures for review.
The procedures in items A to H must be used for review under this part.
A.
The RGU shall prepare a draft environmental analysis document addressing each of the development scenarios selected under subpart 3 using the standard content and format provided by the EQB under subpart 4. A draft version of the mitigation plan as described under item C must be included. The geographic extent of the analyses of direct, indirect, and cumulative potential effects conducted in preparing the document is not to be limited by the boundaries set in the order for review under subpart 3. The draft document must be distributed and noticed in accordance with part 4410.1500.
B.
Reviewers shall have 30 days from the date of notice of availability of the draft environmental analysis in the EQB Monitor to submit written comments to the RGU. Reviewers that are governmental units shall be granted a 15-day extension by the RGU upon a written request for good cause. A copy of the request must be sent to the EQB.
Comments may address the accuracy and completeness of the information provided in the draft analysis and draft mitigation plan, potential impacts that warrant further analysis, further information that may be required in order to secure permits for specific projects in the future, mitigation measures or procedures necessary to prevent significant environmental impacts within the area when actual development occurs, and the need to analyze additional development scenarios as required by this part.
Governmental units shall also state in their comments whether or not they wish to be notified by the RGU upon receipt of applications for specific development projects within the area.
C.
The RGU shall revise the environmental analysis document based on comments received during the comment period. The RGU shall include in the document a section specifically responding to each timely, substantive comment received that indicates in what way the comment has been addressed. If the RGU believes a request for additional analysis is unreasonable, it may consult with the EQB chair before responding to the comment.
The RGU shall include in the document a plan for mitigation specifying the mitigation measures that will be imposed upon future development within the area in order to avoid or mitigate potential environmental impacts. The plan shall contain a description of how each mitigation measure will be implemented, including a description of the involvement of other agencies, if appropriate.
D.
The RGU shall distribute the revised environmental analysis document, including the plan for mitigation, in the same manner as the draft document and also to any persons who commented on the draft document and to the EQB staff. State agencies and the Metropolitan Council of the Twin Cities have ten days from the date of receipt of the revised document to file an objection to the document with the RGU. A copy of any letter of objection must be filed with the EQB staff. An objection may be filed only if the agency filing the objection has evidence that the revised document contains inaccurate or incomplete information relevant to the identification and mitigation of potentially significant environmental impacts, that the review has not analyzed sufficient development scenarios as required by this part, or that the proposed plan for mitigation will be inadequate to prevent potentially significant environmental impacts from occurring.
E.
Unless an objection is filed in accordance with item D, the RGU shall adopt the revised environmental analysis document, including the plan for mitigation, at its first regularly scheduled meeting held 15 or more days after the distribution of the revised document. The RGU shall submit evidence of the adoption of the document and plan for mitigation to the EQB staff and all agencies that have stated that they wish to be informed of any future projects within the area as part of their comments on the draft environmental analysis document. The EQB shall publish a notice of the adoption of the document and the completion of the review process in the EQB Monitor.
Upon adoption of the environmental analysis document, including the plan for mitigation, residential, commercial, warehousing, and light industrial projects and associated infrastructure within the area that are consistent with the assumptions of the document and that comply with the plan for mitigation are exempt from review under parts 4410.1100 to 4410.1700 and 4410.2100 to 4410.2800.
F.
If an objection is filed with the RGU in accordance with item D, within five days of receipt of the objection the RGU shall consult with the objecting agency about the issues raised in the objection and shall advise the EQB staff of its proposed response to the objection. At the request of the RGU, the objecting agency, the EQB staff, and any other affected agency shall meet with the RGU as soon as practicable to attempt to resolve the issues raised in the objection.
Within 30 days after receipt of the objection the RGU shall submit a written response to the objecting agency and the EQB chair. The response shall address each of the issues raised in the objection. The RGU may address an issue by either revising the environmental analysis document or plan for mitigation, or by refuting the comment.
G.
Within five days of receipt of the RGU's response to the objection, the objecting agency shall advise the EQB chair of whether it accepts the response and withdraws its objection or continues to object. If the objecting agency continues to object, the EQB chair shall place the matter on the agenda of the next regularly scheduled EQB meeting or of a special meeting.
H.
If the matter is referred to the EQB under item G, the EQB shall determine whether the environmental analysis document, including the plan for mitigation, is adequate, conditionally adequate, or inadequate. If the EQB finds the document conditionally adequate or inadequate, the EQB shall specify the revisions necessary for adequacy. The EQB shall only find the document inadequate if the EQB determines that it contains inaccurate or incomplete information necessary to the identification and mitigation of potentially significant environmental impacts, that the review of development scenarios is not in compliance with this part, or that the proposed plan for mitigation will be inadequate to prevent the occurrence of potentially significant environmental impacts.
If the EQB finds the document adequate or conditionally adequate, the RGU shall adopt the document under item E. If the document is found conditionally adequate by the EQB, the RGU shall first revise the document as directed by the EQB. If the EQB finds the document inadequate, the RGU has 30 days to revise the document and circulate it for review in accordance with items D to H.
Subp. 5a.
Additional procedures required when certain large specific projects reviewed.
A.
The procedures of this subpart must be followed in addition to those of subpart 5 if a specific project will be reviewed according to this part and the project would otherwise require preparation of an EIS pursuant to part 4410.4400 or will comprise at least 50 percent of the geographic area to be reviewed.
B.
Prior to final approval of the order for review pursuant to subpart 3, the RGU must conduct a public process to receive comments about the scope of the review. The RGU shall prepare a draft order for review and distribute and provide notice of its availability in the same manner as for an EAW pursuant to part 4410.1500. The draft order for review must include the information specified in subpart 3 and a description of the specific large project or projects to be included in the review comparable to that of a scoping EAW pursuant to part 4410.2100, subpart 2.
C.
Government units and interested persons shall participate in the public comment process in accordance with part 4410.1600, except that the purpose of the comments is to suggest additional development scenarios and relevant issues to be analyzed in the review. Comments may suggest additional development scenarios that include alternatives to the specific large project or projects proposed to be included in the review, including development at sites outside of the proposed geographic boundary. The comments must provide reasons why a suggested development scenario or alternative to a specific project is potentially environmentally superior to those identified in the RGU's draft order.
D.
The RGU must consider all timely and substantive comments received when finalizing the order for review. The RGU shall apply the criteria for excluding an alternative from analysis found under part 4410.2300, item G, in determining if a suggested additional scenario or alternative to a specific project should be included or excluded and must explain its reasoning in a written record of decision.
E.
The RGU shall adopt the final order for review within 15 days of the end of the comment period. A copy of the order and the RGU's record of decision must be sent within ten days of the decision to the EQB and to anyone who submitted timely and substantive comments.
Subp. 6.
Time limit.
Unless an objection is filed under subpart 5, item D, the RGU shall adopt the environmental analysis document and plan for mitigation no later than at its first meeting held more than 120 days after the date on which the RGU ordered review under this part. The time limit may be extended upon the agreement of all proposers whose project schedules are affected by the review.
Subp. 7.
Updating review.
To remain valid as a substitute form of review, the environmental analysis document and the plan for mitigation must be revised if any of the circumstances in items A to H apply.
A.
Five years have passed since the RGU adopted the original environmental analysis document and plan for mitigation or the latest revision. This item does not apply if all development within the area has been given final approval by the RGU.
B.
A comprehensive plan amendment is proposed that would allow an increase in development over the levels assumed in the environmental analysis document.
C.
Total development within the area would exceed the maximum levels assumed in the environmental analysis document.
D.
Development within any subarea delineated in the environmental analysis document would exceed the maximum levels assumed for that subarea in the document.
E.
A substantial change is proposed in public facilities intended to service development in the area that may result in increased adverse impacts on the environment.
F.
Development or construction of public facilities will occur on a schedule other than that assumed in the environmental analysis document or plan for mitigation so as to substantially increase the likelihood or magnitude of potential adverse environmental impacts or to substantially postpone the implementation of identified mitigation measures.
G.
New information demonstrates that important assumptions or background conditions used in the analysis presented in the environmental analysis document are substantially in error and that environmental impacts have consequently been substantially underestimated.
H.
The RGU determines that other substantial changes have occurred that may affect the potential for, or magnitude of, adverse environmental impacts.
The environmental analysis document and plan for mitigation must be revised by preparing, distributing, and reviewing revised documents in accordance with subpart 5, items D to H, except that the documents must be distributed to all persons on the EAW distribution list under part 4410.1500. Persons not entitled to object to the documents under subpart 5, item D, may submit comments to the RGU suggesting changes in the documents.
Subp. 8.
Report to EQB.
The EQB chair may ask the RGU to report on the status of actual development within the area, and on the status of implementation of the plan for mitigation. Upon request, the RGU shall report to the EQB chair within 30 days.
History:
13 SR 1437; 21 SR 1458; 31 SR 539; 31 SR 646; 34 SR 721
Published Electronically:
December 27, 2019
4410.3700 MODEL ORDINANCE.
Subpart 1.
Application.
The model ordinance set out in subpart 3 may be utilized by any local governmental unit that adopts the ordinance in lieu of parts 4410.1000 to 4410.3100 for projects that qualify for review under the ordinance.
Subp. 2.
Notice.
If a local governmental unit adopts the ordinance exactly as set out in subpart 3 it shall be effective without prior approval by the EQB. A copy of the adopted ordinance shall be forwarded to the EQB. Notice of adoption of the ordinance shall be made in the EQB Monitor.
Subp. 3.
Model ordinance.
AN ORDINANCE RELATING TO THE PREPARATION AND
REVIEW OF ENVIRONMENTAL ANALYSIS
The (county board) (town board) (city council) (watershed board) of _______________________ ordains:
Section 1. Application. This ordinance shall apply to all projects that:
A. are consistent with any applicable comprehensive plan; and
B. do not require a state permit; and
C. the (board) (council) determines that, because of the nature or location of the project, the project may have the potential for significant environmental effects; or
D. are listed in a mandatory EAW or EIS category of the state environmental review program, Minnesota Rules, parts 4410.4300 and 4410.4400, one copy of which is on file with the (county auditor) (town clerk) (city clerk) (watershed district board of managers).
This ordinance shall not apply to projects which are exempted from environmental review by Minnesota Rules, part 4410.4600 or to projects which the (board) (council) determines are so complex or have potential environmental effects which are so significant that review should be completed under the state environmental review program, Minnesota Rules, parts 4410.0200 to 4410.6500.
Section 2. Preparation. Prior to or together with any application for a permit or other form of approval for a project, the proposer of the project shall prepare an analysis of the project's environmental effects, reasonable alternatives to the project and measures for mitigating the adverse environmental effects. The analysis should not exceed 25 pages in length. The (board) (council) shall review the information in the analysis and determine the adequacy of the document. The (board) (council) shall use the standards of the state's environmental review program rules in its determination of adequacy. If the (board) (council) determines the document is inadequate, it shall return the document to the proposer to correct the inadequacies.
Section 3. Review. Upon filing the analysis with the (board) (council), the (board) (council) shall publish notice in a newspaper of general circulation in the (county) (city) (town) (district) that the analysis is available for review. A copy of the analysis shall be provided to any person upon request. A copy of the analysis shall also be provided to every local governmental unit within which the proposed project would be located and to the EQB. The EQB shall publish notice of the availability of the analysis in the EQB Monitor.
Comments on the analysis shall be submitted to the (board) (council) within 30 days following the publication of the notice of availability in the EQB Monitor. The (board) (council) may hold a public meeting to receive comments on the analysis if it determines that a meeting is necessary or useful. The meeting may be combined with any other meeting or hearing for a permit or other approval for the project. Public notice of the meeting to receive comments on the analysis shall be provided at least ten days before the meeting.
Section 4. Decision. In issuing any permits or granting any other required approvals for a project subject to review under this ordinance, the (board) (council) shall consider the analysis and the comments received on it. The (board) (council) shall, whenever practicable and consistent with other laws, require that mitigation measures identified in the analysis be incorporated in the project's design and construction.
Statutory Authority:
MS s 116D.04
Published Electronically:
November 30, 2009
4410.3800 GENERIC EIS.
Subpart 1.
Order for.
A generic EIS may be ordered by the EQB to study types of projects that are not adequately reviewed on a case-by-case basis.
Subp. 2.
RGU.
The EQB may be the RGU for the generic EIS or may designate another governmental unit to be the RGU, if that governmental unit consents to be the RGU. In determining which governmental unit should be the RGU for a generic EIS, the EQB shall consider the following factors with respect to each prospective RGU:
B.
expertise in the subject matter of the generic EIS, including the ability to address any complex issues;
Subp. 3.
Public requests for generic EIS.
A governmental unit or any other person may request the EQB to order a generic EIS.
Subp. 4.
Timing.
Time deadlines for the preparation of a generic EIS shall be set at the scoping meeting.
Subp. 5.
Criteria.
In determining the need for a generic EIS, the EQB shall consider:
A.
if the review of a type of action can be better accomplished by a generic EIS than by project specific review;
B.
if the possible effects on the human environment from a type of action are highly uncertain or involve unique or unknown risks;
E.
the degree to which decision makers or the public have a need to be informed of the potential impacts of such projects;
F.
the degree to which information to be presented in the generic EIS is needed for governmental or public planning;
G.
the potential for significant environmental effects as a result of the cumulative impacts of such projects;
H.
the regional and statewide significance of the impacts and the degree to which they can be addressed on a project-by-project basis;
I.
the degree to which governmental policies affect the number or location of such projects or the potential for significant environmental effects;
J.
the degree to which the cost of basic information ought to be borne by the public rather than individual project proposers;
K.
the need to explore issues raised by a type of project that go beyond the scope of review of individual projects; and
L.
the need to understand the long-term past, present, and future effects of a type of action upon the economy, environment, and way of life of the residents of the state.
Subp. 6.
Scoping.
The generic EIS shall be scoped. Scoping shall be coordinated by the RGU and shall identify the issues and geographic areas to be addressed in the generic EIS. Scoping procedures shall follow the procedures in part 4410.2100 except for the identification of permits for which information is to be gathered concurrently with the EIS preparation, the preparation and circulation of the EAW, and the time requirements.
Subp. 7.
Content.
In addition to content requirements specified by the scoping process, the generic EIS shall contain the following:
A.
any new data that has been gathered or the results of any new research that has been undertaken as part of the generic EIS preparation;
B.
a description of the possible impacts and likelihood of occurrence, the extent of current use, and the possibility of future development for the type of action;
C.
alternatives including recommendations for geographic placement of the type of action to reduce environmental harm, different methods for construction and operation, and different types of actions that could produce the same or similar results as the subject type of action but in a less environmentally harmful manner; and
Subp. 8.
Relationship to project-specific review.
Preparation of a generic EIS does not exempt specific activities from project-specific environmental review.
Subp. 9.
Relationship to projects.
The fact that a generic EIS is being prepared shall not preclude the undertaking and completion of a specific project whose impacts are considered in the generic EIS.
History:
13 SR 1437; 31 SR 539
Published Electronically:
November 30, 2009
4410.3900 JOINT FEDERAL AND STATE ENVIRONMENTAL DOCUMENTS.
Subpart 1.
Cooperative processes.
Governmental units shall cooperate with federal agencies to the fullest extent possible to reduce duplication between Minnesota Statutes, chapter 116D, and the National Environmental Policy Act, United States Code 1976, title 42, sections 4321 to 4361.
Subp. 2.
Joint responsibility.
Where a joint federal and state environmental document is prepared, the RGU and one or more federal agencies shall be jointly responsible for its preparation. Where federal laws have environmental document requirements in addition to but not in conflict with those in Minnesota Statutes, section 116D.04, governmental units shall cooperate in fulfilling these requirements as well as those of state laws so that one document can comply with all applicable laws.
Statutory Authority:
MS s 116D.04
Published Electronically:
November 30, 2009
4410.4000 TIERED EIS.
A.
An RGU may use a series of tiered EISs to fulfill environmental review requirements for an action where decisions on which alternative to select must be made in stages, progressing from the general to the specific. Prior to each decision which would eliminate from further consideration any alternatives under consideration, a tiered EIS must be completed which addresses the issues and alternatives relevant to the decisions to be made in that tier, at a level of detail appropriate to that tier. The level of detail in earlier tiers need not be as great as that in later tiers, provided that it is sufficient to reasonably inform decision makers of the significant environmental, economic, employment, and sociological impacts of the choices made in that tier.
History:
21 SR 1458
Published Electronically:
August 20, 2018
MANDATORY CATEGORIES
4410.4300 MANDATORY EAW CATEGORIES.
Subpart 1.
Threshold test.
An EAW must be prepared for projects that meet or exceed the threshold of any of subparts 2 to 37, unless the project meets or exceeds any thresholds of part 4410.4400, in which case an EIS must be prepared.
If the proposed project is an expansion or additional stage of an existing project, the cumulative total of the proposed project and any existing stages or components of the existing project must be included when determining if a threshold is met or exceeded if construction was begun within three years before the date of application for a permit or approval from a governmental unit for the expansion or additional stage but after April 21, 1997, except that any existing stage or component that was reviewed under a previously completed EAW or EIS need not be included.
Multiple projects and multiple stages of a single project that are connected actions or phased actions must be considered in total when comparing the project or projects to the thresholds of this part and part 4410.4400.
Subp. 2.
Nuclear fuels and nuclear waste.
Items A to F designate the RGU for the type of project listed:
A.
For construction or expansion of a facility for the storage of high level nuclear waste, other than an independent spent-fuel storage installation, the EQB is the RGU.
B.
For construction or expansion of a facility for the storage of low level nuclear waste for one year or longer, the MDH is the RGU.
E.
For expansion of an away-from-reactor facility for temporary storage of spent nuclear fuel, the EQB is the RGU.
F.
For construction or expansion of an on-site pool for temporary storage of spent nuclear fuel, the EQB is the RGU.
Subp. 3.
Electric-generating facilities.
Items A to D designate the RGU for the type of project listed:
A.
For construction of an electric power generating plant and associated facilities designed for or capable of operating at a capacity of 25 megawatts or more but less than 50 megawatts and for which an air permit from the PCA is required, the PCA is the RGU.
B.
For construction of an electric power generating plant and associated facilities designed for and capable of operating at a capacity of 25 megawatts or more but less than 50 megawatts and for which an air permit from the PCA is not required, the local governmental unit is the RGU.
Subp. 4.
Petroleum refineries.
For expansion of an existing petroleum refinery that increases the refinery's capacity by 10,000 barrels per day or more, the PCA is the RGU.
Subp. 5.
Fuel conversion facilities.
A.
Subitems (1) and (2) designate the RGU for the type of project listed:
(1)
For construction of a new fuel conversion facility for the conversion of coal, peat, or biomass sources to gaseous, liquid, or solid fuels if that facility has the capacity to utilize 25,000 dry tons or more per year of input, the PCA is the RGU.
(2)
For construction of a new fuel conversion facility for the production of alcohol fuels that would have the capacity to produce 5,000,000 gallons or more per year of alcohol, the PCA is the RGU.
B.
An EAW is required if an ethanol plant or biobutanol facility meets or exceeds thresholds of other categories of actions for which EAWs must be prepared.
Subp. 6.
Transmission lines.
For construction of a transmission line at a new location with a nominal capacity of between 70 kilovolts and 100 kilovolts with 20 or more miles of its length in Minnesota, the EQB is the RGU. For construction of a high-voltage transmission line and associated facilities, as defined in part 7850.1000, the PUC is the RGU. Environmental review must be conducted according to parts 7849.1000 to 7849.2100 and 7850.1000 to 7850.5600.
Subp. 7.
Pipelines.
Items A to D designate the RGU for the type of project listed:
A.
For routing of a pipeline, greater than six inches in diameter and having more than 0.75 miles of its length in Minnesota, used for the transportation of coal, crude petroleum fuels, or oil or their derivates, the EQB is the RGU.
B.
For the construction of a pipeline for distribution of natural or synthetic gas under a license, permit, right, or franchise that has been granted by the municipality under authority of Minnesota Statutes, section 216B.36, designed to operate at pressures in excess of 275 pounds per square inch (gauge) with a length greater than:
(2)
0.75 miles if the pipeline will occupy private property;
the EQB or the municipality is the RGU.
C.
For construction of a pipeline to transport natural or synthetic gas subject to regulation under the federal Natural Gas Act, United States Code, title 15, section 717, et. seq., designed to operate at pressures in excess of 275 pounds per square inch (gauge) with a length greater than:
(1)
five miles if the pipeline will be constructed and operated within an existing right-of-way; or
(2)
0.75 miles if construction or operation will require new temporary or permanent right-of-way;
the EQB is the RGU. This item shall not apply to the extent that the application is expressly preempted by federal law, or under specific circumstances when an actual conflict exists with applicable federal law.
D.
For construction of a pipeline to convey natural or synthetic gas that is not subject to regulation under the federal Natural Gas Act, United States Code, title 15, section 717, et seq.; or to a license, permit, right, or franchise that has been granted by a municipality under authority of Minnesota Statutes, section 216B.36; designed to operate at pressures in excess of 275 pounds per square inch (gauge) with a length greater than 0.75 miles, the EQB is the RGU.
Items A to D do not apply to repair or replacement of an existing pipeline within an existing right-of-way or to a pipeline located entirely within a refining, storage, or manufacturing facility.
Subp. 8.
Transfer facilities.
Items A to C designate the RGU for the type of project listed:
A.
For construction of a new facility designed for or capable of transferring 300 tons or more of coal per hour or with an annual throughput of 500,000 tons of coal from one mode of transportation to a similar or different mode of transportation or the expansion of an existing facility by these respective amounts, the PCA is the RGU.
B.
For construction of a new facility or the expansion by 50 percent or more of an existing facility for the bulk transfer of hazardous materials with the capacity of 10,000 or more gallons per transfer, if the facility is located in a shoreland area, a delineated floodplain, a state or federally designated wild and scenic rivers district, the Minnesota River Project Riverbend area, or the Mississippi headwaters area, the PCA is the RGU.
Subp. 9.
Underground storage.
Items A and B designate the RGU for the type of project listed:
Subp. 10.
Storage facilities.
Items A to H designate the RGU for the type of project listed:
A.
For construction of a new facility designed for or capable of storing more than 7,500 tons of coal or with an annual throughput of more than 125,000 tons of coal or the expansion of an existing facility by these respective amounts, the PCA is the RGU.
B.
For construction of a new major facility, as defined in part 7151.1200, that results in a designed storage capacity of 1,000,000 gallons or more of hazardous materials, the PCA is the RGU.
C.
For expansion of an existing major facility, as defined in part 7151.1200, with a designed storage capacity of 1,000,000 gallons or more of hazardous materials when the expansion adds a net increase of 1,000,000 gallons or more of hazardous materials, the PCA is the RGU.
D.
For expansion of an existing facility that has less than 1,000,000 gallons in total designed storage capacity of hazardous materials when the net increase in designed storage capacity results in 1,000,000 gallons or more of hazardous materials, the PCA is the RGU.
E.
For construction of a new facility designed for or capable of storing on a single site 100,000 gallons or more of liquefied natural gas, as defined in Minnesota Statutes, section 299F.56, subdivision 14, or synthetic gas, as defined in Minnesota Statutes, section 216B.02, subdivision 6b, the PUC is the RGU, except as provided in item G.
F.
For construction of a new facility designed for or capable of storing on a single site 100,000 gallons or more of anhydrous ammonia, the MDA is the RGU, except as provided in item G.
G.
For construction of a new facility designed for or capable of storing on a single site 100,000 gallons or more of a combination of liquefied natural gas, as defined in Minnesota Statutes, section 299F.56, subdivision 14; synthetic gas, as defined in Minnesota Statutes, section 216B.02, subdivision 6b; or anhydrous ammonia, the PUC is the RGU.
Subp. 11.
Metallic mineral mining and processing.
Items A to C designate the RGU for the type of project listed:
A.
For mineral deposit evaluation of metallic mineral deposits other than natural iron ore and taconite, the DNR is the RGU.
C.
For expansion of a metallic mineral plant processing facility that is capable of increasing production by 25 percent per year or more, provided that increase is in excess of 1,000,000 tons per year in the case of facilities for processing natural iron ore or taconite, the DNR is the RGU.
Subp. 12.
Nonmetallic mineral mining.
Items A to D designate the RGU for the type of project listed:
A.
For development of a facility for the extraction or mining of peat which will result in the excavation of 160 or more acres of land during its existence, the DNR is the RGU.
B.
For development of a facility for the extraction or mining of sand, gravel, stone, or other nonmetallic minerals, other than peat, which will excavate 40 or more acres of land to a mean depth of ten feet or more during its existence, the local governmental unit is the RGU.
C.
For development of a facility for the extraction or mining of sand, gravel, stone, or other nonmetallic minerals, other than peat, which will excavate 20 or more acres of forested or other naturally vegetated land in a sensitive shoreland area or 40 acres of forested or other naturally vegetated land in a nonsensitive shoreland area, the local governmental unit is the RGU.
D.
For development of a silica sand project that excavates 20 or more acres of land to a mean depth of ten feet or more during the project's existence, the local governmental unit is the RGU.
Subp. 13.
Paper or pulp processing mills.
For expansion of an existing paper or pulp processing facility that will increase its production capacity by 50 percent or more, the PCA is the RGU.
Subp. 14.
Industrial, commercial, and institutional facilities.
Items A and B designate the RGU for the type of project listed, except as provided in items C and D:
A.
For construction of a new or expansion of an existing warehousing or light industrial facility equal to or in excess of the following thresholds, expressed as gross floor space, the local governmental unit is the RGU:
B.
For construction of a new or expansion of an existing industrial, commercial, or institutional facility, other than a warehousing or light industrial facility, equal to or in excess of the following thresholds, expressed as gross floor space, the local governmental unit is the RGU:
C.
This subpart applies to any industrial, commercial, or institutional project which includes multiple components, if there are mandatory categories specified in subparts 2 to 13, 16, 17, 20, 21, 23, 25, or 29, or part 4410.4400, subparts 2 to 10, 12, 13, 15, or 17, for two or more of the components, regardless of whether the project in question meets or exceeds any threshold specified in those subparts. In those cases, the entire project must be compared to the thresholds specified in items A and B to determine the need for an EAW. If the project meets or exceeds the thresholds specified in any other subpart as well as that of item A or B, the RGU must be determined as provided in part 4410.0500, subpart 1.
D.
This subpart does not apply to projects for which there is a single mandatory category specified in subparts 2 to 13, 16, 17, 20, 23, 25, 29, or 34, or part 4410.4400, subparts 2 to 10, 12, 13, 17, or 22, regardless of whether the project in question meets or exceeds any threshold specified in those subparts. In those cases, the need for an EAW must be determined by comparison of the project to the threshold specified in the applicable subpart, and the RGU must be the governmental unit assigned by that subpart.
Subp. 15.
Air pollution.
Items A and B designate the RGU for the type of project listed.
A.
For construction of a stationary source facility that generates 250 tons or more per year or modification of a stationary source facility that increases generation by 250 tons or more per year of any single air pollutant, other than those air pollutants described in item B, after installation of air pollution control equipment, the PCA is the RGU.
B.
For construction of a stationary source facility that generates a combined 100,000 tons or more per year or modification of a stationary source facility that increases generation by a combined 100,000 tons or more per year of greenhouse gas emissions, after installation of air pollution control equipment, expressed as carbon dioxide equivalents, the PCA is the RGU. For purposes of this subpart, "greenhouse gases" include carbon dioxide, methane, nitrous oxide, hydrofluorocarbons (HFCs), perfluorocarbons (PFCs), and sulfur hexafluoride, and their combined carbon dioxide equivalents shall be computed by multiplying the mass amount of emissions for each of the six greenhouse gases in the pollutant GHGs by the gas's associated global warming potential published in Table A-1 to subpart A of Code of Federal Regulations, title 40, part 98, Global Warming Potentials, as amended, and summing the resultant value for each.
Subp. 16.
Hazardous waste.
Items A to D designate the RGU for the type of project listed:
A.
For construction of a new or expansion of an existing hazardous waste disposal facility, the PCA is the RGU.
B.
For construction of a new facility for hazardous waste storage or treatment that is generating or receiving 1,000 kilograms or more per month of hazardous waste or one kilogram or more per month of acute hazardous waste, the PCA is the RGU.
C.
For expansion of an existing facility for hazardous waste storage or treatment that increases the facility's capacity by ten percent or more, the PCA is the RGU.
D.
For construction or expansion of a facility that sells hazardous waste storage services to generators other than the owner and operator of the facility or construction of a facility at which a generator's own hazardous wastes will be stored for a time period in excess of 90 days, if the facility is located in a water-related land use management district, or in an area characterized by soluble bedrock, the PCA is the RGU.
Subp. 17.
Solid waste.
Items A to G designate the RGU for the type of project listed:
A.
For construction of a mixed municipal solid waste land disposal facility for up to 100,000 cubic yards of waste fill per year, the PCA is the RGU.
B.
For expansion by 25 percent or more of previously permitted capacity of a mixed municipal solid waste land disposal facility for up to 100,000 cubic yards of waste fill per year, the PCA is the RGU.
C.
For construction or expansion of a mixed municipal solid waste transfer station for 300,000 or more cubic yards per year, the PCA is the RGU.
D.
For construction or expansion of a mixed municipal solid waste energy recovery facility or incinerator or use of an existing facility for the combustion of mixed municipal solid waste or refuse-derived fuel, with a permitted capacity of 30 tons or more per day of input, the PCA is the RGU.
E.
For construction or expansion of a mixed municipal solid waste compost facility or a refuse-derived fuel production facility with a permitted capacity of 50 tons or more per day of input, the PCA is the RGU.
F.
For expansion by at least ten percent but less than 25 percent of previously permitted capacity of a mixed municipal solid waste land disposal facility for 100,000 cubic yards or more of waste fill per year, the PCA is the RGU.
G.
For construction or expansion of a mixed municipal solid waste energy recovery facility ash landfill receiving ash from an incinerator that burns refuse-derived fuel or mixed municipal solid waste, the PCA is the RGU.
Subp. 18.
Wastewater systems.
Items A to F designate the RGU for the type of project listed:
A.
For expansion, modification, or replacement of a municipal sewage collection system resulting in an increase in design average daily flow of any part of that system by 1,000,000 gallons per day or more if the discharge is to a wastewater treatment facility with a capacity less than 20,000,000 gallons per day, the PCA is the RGU.
B.
For expansion, modification, or replacement of a municipal sewage collection system resulting in an increase in design average daily flow of any part of that system by 2,000,000 gallons per day or more if the discharge is to a wastewater treatment facility with the capacity of 20,000,000 gallons or greater, the PCA is the RGU.
C.
For expansion or modification of an existing municipal or domestic wastewater treatment facility that results in an increase by 50 percent or more and by at least 200,000 gallons per day of the facility's average wet weather design flow capacity, the PCA is the RGU.
D.
For construction of a new municipal or domestic wastewater treatment facility with an average wet weather design flow capacity of 200,000 gallons per day or more, the PCA is the RGU.
E.
For expansion or modification of an existing industrial process wastewater treatment facility that increases the facility's design flow capacity by 50 percent or more and by at least 200,000 gallons per day or more, the PCA is the RGU.
F.
For construction of a new industrial process wastewater treatment facility with a design flow capacity of 200,000 gallons per day or more, 5,000,000 gallons per month or more, or 20,000,000 gallons per year or more, the PCA is the RGU. This category does not apply to industrial process wastewater treatment facilities that discharge to a publicly owned treatment works or to a tailings basin reviewed according to subpart 11, item B.
Subp. 19.
Residential development.
An EAW is required for residential development if the total number of units that may ultimately be developed on all contiguous land owned or under an option to purchase by the proposer, except land identified by an applicable comprehensive plan, ordinance, resolution, or agreement of a local governmental unit for a future use other than residential development, equals or exceeds a threshold of this subpart. In counting the total number of ultimate units, the RGU shall include the number of units in any plans of the proposer; for land for which the proposer has not yet prepared plans, the RGU shall use as the number of units the product of the number of acres multiplied by the maximum number of units per acre allowable under the applicable zoning ordinance or, if the maximum number of units allowable per acre is not specified in an applicable zoning ordinance, by the overall average number of units per acre indicated in the plans of the proposer for those lands for which plans exist. If the total project requires review but future phases are uncertain, the RGU may review the ultimate project sequentially in accordance with part 4410.1000, subpart 4.
If a project consists of mixed unattached and attached units, an EAW must be prepared if the sum of the quotient obtained by dividing the number of unattached units by the applicable unattached unit threshold, plus the quotient obtained by dividing the number of attached units by the applicable attached unit threshold, equals or exceeds one.
The local governmental unit is the RGU for construction of a permanent or potentially permanent residential development of:
A.
50 or more unattached or 75 or more attached units in an unsewered unincorporated area or 100 unattached units or 150 attached units in a sewered unincorporated area;
B.
100 unattached units or 150 attached units in a city that does not meet the conditions of item D;
C.
100 unattached units or 150 attached units in a city meeting the conditions of item D if the project is not consistent with the adopted comprehensive plan; or
D.
250 unattached units or 375 attached units in a city within the seven-county Twin Cities metropolitan area that has adopted a comprehensive plan under Minnesota Statutes, section 473.859, or in a city not located within the seven-county Twin Cities metropolitan area that has filed with the EQB chair a certification that it has adopted a comprehensive plan containing the following elements:
(1)
a land use plan designating the existing and proposed location, intensity, and extent of use of land and water for residential, industrial, agricultural, and other public and private purposes;
(2)
a transportation plan describing, designating, and scheduling the location, extent, function, and capacity of existing and proposed local public and private transportation facilities and services;
(3)
a sewage collection system policy plan describing, designating, and scheduling the areas to be served by the public system, the existing and planned capacities of the public system, and the standards and conditions under which the installation of private sewage treatment systems will be permitted;
(5)
an implementation plan describing public programs, fiscal devices, and other actions to be undertaken to implement the comprehensive plan, and a description of official controls addressing the matters of zoning, subdivision, private sewage systems, and a schedule for the implementation of those controls. The EQB chair may specify the form to be used for making a certification under this item.
Subp. 19a.
Residential development in shoreland outside of the seven-county Twin Cities metropolitan area.
A.
The local governmental unit is the RGU for construction of a permanent or potentially permanent residential development located wholly or partially in shoreland outside the seven-county Twin Cities metropolitan area of a type listed in items B to E. For purposes of this subpart, "riparian unit" means a unit in a development that abuts a public water or, in the case of a development where units are not allowed to abut the public water, is located in the first tier of the development as provided under part 6120.3800, subpart 4, item A. If a project is located partially in a sensitive shoreland area and partially in nonsensitive shoreland areas, an EAW must be prepared if the sum of the quotient obtained by dividing the number of units in the sensitive shoreland area by the applicable sensitive shoreland area threshold, plus the quotient obtained by dividing the number of units in nonsensitive shoreland areas by the applicable nonsensitive shoreland area threshold, equals or exceeds one. If a project is located partially in shoreland and partially not in shoreland, an EAW must be prepared if the sum of the quotients obtained by dividing the number of units in each type of area by the applicable threshold for each area equals or exceeds one.
B.
A development containing 15 or more unattached or attached units for a sensitive shoreland area or 25 or more unattached or attached units for a nonsensitive shoreland area, if any of the following conditions is present:
(2)
the number of riparian units exceeds by at least 15 percent the number of riparian lots that would be allowable calculated according to the applicable lot area and width standards for riparian unsewered single lots under part 6120.3300, subparts 2a and 2b; or
(3)
if any portion of the project is in an unincorporated area, the number of nonriparian units in shoreland exceeds by at least 15 percent the number of lots that would be allowable on the parcel calculated according to the applicable lot area standards for nonriparian unsewered single lots under part 6120.3300, subparts 2a and 2b.
C.
A development containing 25 or more unattached or attached units for a sensitive shoreland area or 50 or more unattached or attached units for a nonsensitive shoreland area, if none of the conditions listed in item B is present.
D.
A development in a sensitive shoreland area that provides permanent mooring space for at least one nonriparian unattached or attached unit.
E.
A development containing at least one unattached or attached unit created by the conversion of a resort, motel, hotel, recreational vehicle park, or campground, if either of the following conditions is present:
F.
An EAW is required for residential development if the total number of units that may ultimately be developed on all contiguous land owned or under an option to purchase by the proposer, except land identified by an applicable comprehensive plan, ordinance, resolution, or agreement of a local governmental unit for a future use other than residential development, equals or exceeds a threshold of this subpart. In counting the total number of ultimate units, the RGU shall include the number of units in any plans of the proposer. For land for which the proposer has not yet prepared plans, the RGU shall use as the number of units the number of acres multiplied by the maximum number of units per acre allowable under the applicable zoning ordinance or, if the maximum number of units allowable per acre is not specified in an applicable zoning ordinance, by the overall average number of units per acre indicated in the plan of the proposer for those lands for which plans exist.
Subp. 20.
Campgrounds and RV parks.
For construction of a seasonal or permanent recreational development, accessible by vehicle, consisting of 50 or more sites, or the expansion of such a facility by 50 or more sites, the local governmental unit is the RGU.
Subp. 20a.
Resorts, campgrounds, and RV parks in shorelands.
The local governmental unit is the RGU for construction or expansion of a resort or other seasonal or permanent recreational development located wholly or partially in shoreland, accessible by vehicle, of a type listed in item A or B:
A.
construction or addition of 25 or more units or sites in a sensitive shoreland area or 50 units or sites in a nonsensitive shoreland area if at least 50 percent of the area in shoreland is common open space; or
B.
construction or addition of 15 or more units or sites in a sensitive shoreland area or 25 or more units or sites in a nonsensitive shoreland area, if less than 50 percent of the area in shoreland is common open space.
If a project is located partially in a sensitive shoreland area and partially in nonsensitive shoreland areas, an EAW must be prepared if the sum of the quotient obtained by dividing the number of units in the sensitive shoreland area by the applicable sensitive shoreland area threshold, plus the quotient obtained by dividing the number of units in nonsensitive shoreland areas by the applicable nonsensitive shoreland area threshold, equals or exceeds one. If a project is located partially in shoreland and partially not in shoreland, an EAW must be prepared if the sum of the quotients obtained by dividing the number of units in each type of area by the applicable threshold for each area equals or exceeds one.
Subp. 21.
Airport projects.
Items A and B designate the RGU for the type of project listed:
A.
For construction of a paved, new airport runway, the DOT, local governmental unit, or Metropolitan Airports Commission is the RGU.
B.
For construction of a runway extension that would upgrade an existing airport runway to permit usage by aircraft over 12,500 pounds that are at least three decibels louder than aircraft currently using the runway, the DOT, local governmental unit, or Metropolitan Airports Commission is the RGU. The RGU is selected according to part 4410.0500, subpart 5.
Subp. 22.
Highway projects.
Items A to C designate the RGU for the type of project listed:
A.
For construction of a road on a new location over one mile in length that will function as a collector roadway, the DOT or local governmental unit is the RGU.
B.
For construction of additional through lanes or passing lanes on an existing road for a length of two or more miles, exclusive of auxiliary lanes, the DOT or local governmental unit is the RGU.
C.
For the addition of one or more new interchanges to a completed limited access highway, the DOT or local governmental unit is the RGU.
Subp. 23.
Barge fleeting.
For construction of a new or expansion of an existing barge fleeting facility, the DOT or port authority is the RGU.
Subp. 24.
Water appropriation and impoundments.
Items A to C designate the RGU for the type of project listed:
A.
For a new appropriation for commercial or industrial purposes of either surface water or ground water averaging 30,000,000 gallons per month; or a new appropriation of either ground water or surface water for irrigation of 540 acres or more in one continuous parcel from one source of water, the DNR is the RGU.
B.
For a new permanent impoundment of water creating additional water surface of 160 or more acres or for an additional permanent impoundment of water creating additional water surface of 160 or more acres, the DNR is the RGU.
C.
For construction of a dam with an upstream drainage area of 50 square miles or more, the DNR is the RGU.
Subp. 25.
Marinas.
For construction or expansion of a marina or harbor that results in a 20,000 or more square foot total or a 20,000 or more square foot increase of water surface area used temporarily or permanently for docks, docking, or maneuvering of watercraft, the local governmental unit is the RGU.
Subp. 26.
Stream diversion.
For a diversion, realignment, or channelization of any designated trout stream, or affecting greater than 500 feet of natural watercourse with a total drainage area of ten or more square miles unless exempted by part 4410.4600, subpart 14, item E, or 17, the DNR or local governmental unit is the RGU.
Subp. 27.
Public waters, public waters wetlands, and wetlands.
Items A and B designate the RGU for the type of project listed:
A.
For projects that will change or diminish the course, current, or cross-section of one acre or more of any public water or public waters wetland except for those to be drained without a permit according to Minnesota Statutes, chapter 103G, the DNR or local governmental unit is the RGU.
B.
For projects that will cause an impact, as defined in part 8420.0111, to a total of one acre or more of wetlands, regardless of type, excluding public waters wetlands, if any part of the wetland is within a shoreland area, a delineated floodplain, a state or federally designated wild and scenic rivers district, the Minnesota River Project Riverbend area, or the Mississippi headwaters area, the local governmental unit is the RGU. This item does not apply to projects exempted by part 4410.4600, subpart 14.
Subp. 28.
Forestry.
Items A and B designate the RGU for the type of project listed:
A.
For harvesting timber for commercial purposes on public lands within a state park, a historical area, a wilderness area, a scientific and natural area, a wild and scenic rivers district, the Minnesota River Project Riverbend area, the Mississippi headwaters area, or a critical area that does not have an approved plan under Minnesota Statutes, section 86A.09 or 116G.07, the DNR is the RGU.
B.
For a clear-cutting of 80 or more contiguous acres of forest, any part of which is located within a shoreland area and within 100 feet of the ordinary high water mark of the lake or river, the DNR is the RGU.
Subp. 29.
Animal feedlots.
The PCA is the RGU for the types of projects listed in items A and B unless the county will issue the feedlot permit, in which case the county is the RGU. However, the county is not the RGU prior to January 1, 2001.
A.
For the construction of an animal feedlot facility with a capacity of 1,000 animal units or more or the expansion of an existing facility by 1,000 animal units or more if the facility is not in an area listed in item B.
B.
For the construction of an animal feedlot facility of more than 500 animal units or expansion of an existing animal feedlot facility by more than 500 animal units if the facility is located wholly or partially in any of the following sensitive locations: shoreland; a delineated flood plain, except that in the flood plain of the Red River of the North the sensitive area includes only land within 1,000 feet of the ordinary high water mark; a state or federally designated wild and scenic river district; the Minnesota River Project Riverbend area; the Mississippi headwaters area; or an area within a drinking water supply management area delineated under chapter 4720 where the aquifer is identified in the wellhead protection plan as vulnerable to contamination; or within 1,000 feet of a known sinkhole, cave, resurgent spring, disappearing spring, Karst window, blind valley, or dry valley.
The provisions of part 4410.1000, subpart 4, regarding connected actions do not apply to animal feedlots. The provisions of part 4410.1000, subpart 4, regarding phased actions apply to feedlots.
With the agreement of the proposers, the RGU may prepare a single EAW to collectively review individual sites of a multisite feedlot proposal.
Subp. 30.
Natural areas.
For projects resulting in permanent physical encroachment on lands within a national park, a state park, a wilderness area, state lands and waters within the boundaries of the Boundary Waters Canoe Area, or a scientific and natural area when the encroachment is inconsistent with laws applicable to or the management plan prepared for the recreational unit, the DNR or local governmental unit is the RGU.
Subp. 31.
Historical places.
For the destruction, in whole or part, or the moving of a property that is listed on the National Register of Historic Places or State Register of Historic Places, the permitting state agency or local governmental unit is the RGU, except this does not apply to projects reviewed under section 106 of the National Historic Preservation Act of 1966, United States Code, title 54, section 306108, or the federal policy on lands, wildlife and waterfowl refuges, and historic sites pursuant to United States Code, title 49, section 303, or projects reviewed by a local heritage preservation commission certified by the State Historic Preservation Office pursuant to Code of Federal Regulations, title 36, sections 61.5 and 61.7. This subpart does not apply to a property located within a designated historic district if the property is listed as "noncontributing" in the official district designation or if the State Historic Preservation Office issues a determination that the property is noncontributing.
Subp. 32.
Mixed residential and industrial-commercial projects.
If a project includes both residential and industrial-commercial components, the project must have an EAW prepared if the sum of the quotient obtained by dividing the number of residential units by the applicable residential threshold of subpart 19, plus the quotient obtained by dividing the amount of industrial-commercial gross floor space by the applicable industrial-commercial threshold of subpart 14, equals or exceeds one. The local governmental unit is the RGU.
Subp. 33.
Communications towers.
For construction of a communications tower equal to or in excess of 500 feet in height, or 300 feet in height within 1,000 feet of any public water or public waters wetland or within two miles of the Mississippi, Minnesota, Red, or St. Croix rivers or Lake Superior, the local governmental unit is the RGU.
Subp. 34.
Sports or entertainment facilities.
For construction of a new sports or entertainment facility designed for or expected to accommodate a peak attendance of 5,000 or more persons, or the expansion of an existing sports or entertainment facility by this amount, the local governmental unit is the RGU.
Subp. 35.
Release of genetically engineered organisms.
For the release of a genetically engineered organism that requires a release permit from the EQB under chapter 4420, the EQB is the RGU. For all other releases of genetically engineered organisms, the RGU is the permitting state agency. This subpart does not apply to the direct medical application of genetically engineered organisms to humans or animals.
Subp. 36.
Land use conversion, including golf courses.
Items A and B designate the RGU for the type of project listed:
A.
For golf courses, residential development where the lot size is less than five acres, and other projects resulting in the permanent conversion of 80 or more acres of agricultural, native prairie, forest, or naturally vegetated land, the local governmental unit is the RGU, except that this subpart does not apply to agricultural land inside the boundary of the Metropolitan Urban Service Area established by the Metropolitan Council.
B.
For projects resulting in the conversion of 640 or more acres of forest or naturally vegetated land to a different open space land use, the local governmental unit is the RGU.
Subp. 36a.
Land conversions in shoreland.
A.
For a project proposing a permanent conversion that alters 800 feet or more of the shoreline in a sensitive shoreland area or 1,320 feet or more of shoreline in a nonsensitive shoreland area, the local governmental unit is the RGU.
B.
For a project proposing a permanent conversion that alters more than 50 percent of the shore impact zone if the alteration measures at least 5,000 square feet, the local governmental unit is the RGU.
C.
For a project that permanently converts 20 or more acres of forested or other naturally vegetated land in a sensitive shoreland area or 40 or more acres of forested or other naturally vegetated land in a nonsensitive shoreland area, the local governmental unit is the RGU.
Subp. 37.
Recreational trails.
If a project listed in items A to F will be built on state-owned land or funded, in whole or part, by grant-in-aid funds administered by the DNR, the DNR is the RGU. For other projects, if a governmental unit is sponsoring the project, in whole or in part, that governmental unit is the RGU. If the project is not sponsored by a unit of government, the RGU is the local governmental unit. For purposes of this subpart, "existing trail" means an established corridor in current legal use.
A.
Constructing a trail at least 25 miles long on forested or other naturally vegetated land for a recreational use, unless exempted by part 4410.4600, subpart 14, item D.
B.
Designating at least 25 miles of an existing trail for a new motorized recreational use other than snowmobiling. When designating an existing motorized trail or existing corridor in current legal use by motor vehicles, the designation does not contribute to the 25-mile threshold under this item. When adding a new recreational use or seasonal recreational use to an existing motorized recreational trail, the addition does not contribute to the 25-mile threshold if the treadway width is not expanded as a result of the added use. In applying items A and B, if a proposed trail will contain segments of newly constructed trail and segments that will follow an existing trail but be designated for a new motorized use, an EAW must be prepared if the total length of the newly constructed and newly designated segments is at least 25 miles.
C.
Paving ten or more miles of an existing unpaved trail, unless exempted by part 4410.4600, subpart 27, item B or F. Paving an unpaved trail means to create a hard surface on the trail with a material impervious to water.
D.
Constructing an off-highway vehicle recreation area of 80 or more acres, or expanding an off-highway vehicle recreation area by 80 or more acres, on agricultural land or forested or other naturally vegetated land.
E.
Constructing an off-highway vehicle recreation area of 640 or more acres, or expanding an off-highway vehicle recreation area by 640 or more acres, if the land on which the construction or expansion is carried out is not agricultural, is not forested or otherwise naturally vegetated, or has been significantly disturbed by past human activities such as mineral mining.
F.
Some recreation areas for off-highway vehicles may be constructed partially on agricultural naturally vegetated land and partially on land that is not agricultural, is not forested or otherwise naturally vegetated, or has been significantly disturbed by past human activities. In that case, an EAW must be prepared if the sum of the quotients obtained by dividing the number of acres of agricultural or naturally vegetated land by 80 and the number of acres of land that is not agricultural, is not forested or otherwise naturally vegetated, or has been significantly disturbed by past human activities by 640, equals or exceeds one.
Statutory Authority:
MS s 116C.94; 116C.991; 116D.04; 116D.045; L 1998 c 401 s 54; L 2013 c 114 art 4 s 105; L 2015 1Sp4 art 4 s 121; art 5 s 33
History:
11 SR 714; 13 SR 1437; 13 SR 2046; 17 SR 139; 21 SR 1458; 24 SR 517; 28 SR 951; 30 SR 319; 31 SR 539; 34 SR 721; 36 SR 567; 44 SR 691
Published Electronically:
January 17, 2020
4410.4400 MANDATORY EIS CATEGORIES.
Subpart 1.
Threshold test.
An EIS must be prepared for projects that meet or exceed the threshold of any of subparts 2 to 25. Multiple projects and multiple stages of a single project that are connected actions or phased actions must be considered in total when comparing the project or projects to the thresholds of this part.
Subp. 2.
Nuclear fuels and nuclear waste.
Items A to E designate the RGU for the type of project listed:
A.
For the construction or expansion of a nuclear fuel or nuclear waste processing facility, including fuel fabrication facilities, reprocessing plants, and uranium mills, the DNR is the RGU for uranium mills; otherwise, the PCA is the RGU.
C.
For construction or expansion of an independent spent-fuel storage installation, the Department of Commerce is the RGU.
D.
For construction of an away-from-reactor facility for temporary storage of spent nuclear fuel, the PUC is the RGU.
Subp. 3.
Electric-generating facilities.
For construction of a large electric power generating plant, as defined in Minnesota Statutes, section 216E.01, subdivision 5, the PUC is the RGU. Environmental review must be conducted according to parts 7849.1000 to 7849.2100 and 7850.1000 to 7850.5600.
Subp. 4.
Petroleum refineries.
For construction of a new petroleum refinery facility, the PCA is the RGU.
Subp. 5.
Fuel conversion facilities.
Items A and B designate the RGU for the type of project listed:
A.
For construction of a new fuel conversion facility for converting coal, peat, or biomass sources to gaseous, liquid, or solid fuels if the facility has the capacity to use 250,000 dry tons or more per year of input, the PCA is the RGU.
B.
For construction of a new or expansion of an existing fuel conversion facility for the production of alcohol fuels that would have or would increase the facility's capacity by 50,000,000 or more gallons per year of alcohol produced if the facility will be in the seven-county Twin Cities metropolitan area or by 125,000,000 or more gallons per year of alcohol produced if the facility will be outside the seven-county Twin Cities metropolitan area, the PCA is the RGU.
C.
A mandatory EIS is not required for projects described in Minnesota Statutes, section 116D.04, subdivision 2a, paragraph (c).
Subp. 6.
Transmission lines.
For construction of a high-voltage transmission line and associated facilities, as defined in part 7850.1000, the PUC is the RGU. Environmental review must be conducted according to parts 7849.1000 to 7849.2100 and 7850.1000 to 7850.5600.
Subp. 7.
Underground storage.
Items A and B designate the RGU for the type of project listed:
Subp. 8.
Metallic mineral mining and processing.
Items A to C designate the RGU for the type of project listed:
A.
For mineral deposit evaluation involving the extraction of 1,000 tons or more of material that is of interest to the proposer principally due to its radioactive characteristics, the DNR is the RGU.
B.
For construction of a new facility for mining metallic minerals or for the disposal of tailings from a metallic mineral mine, the DNR is the RGU.
Subp. 9.
Nonmetallic mineral mining.
Items A to C designate the RGU for the type of project listed:
A.
For development of a facility for the extraction or mining of peat which will utilize 320 acres of land or more during its existence, the DNR is the RGU.
B.
For development of a facility for the extraction or mining of sand, gravel, stone, or other nonmetallic minerals, other than peat, which will excavate 160 acres of land or more to a mean depth of ten feet or more during its existence, the local governmental unit is the RGU.
C.
For development of a facility for the extraction or mining of sand, gravel, stone, or other nonmetallic minerals, other than peat, which will excavate 40 or more acres of forested or other naturally vegetated land in a sensitive shoreland area or 80 or more acres of forested or other naturally vegetated land in a nonsensitive shoreland area, the local governmental unit is the RGU.
Subp. 10.
Paper or pulp processing.
For construction of a new paper or pulp processing mill, the PCA is the RGU.
Subp. 11.
Industrial, commercial, and institutional facilities.
Items A and B designate the RGU for the type of project listed, except as provided in items C and D:
A.
For construction of a new or expansion of an existing warehousing or light industrial facility equal to or in excess of the following thresholds, expressed as gross floor space, the local governmental unit is the RGU:
B.
For construction of a new or expansion of an existing industrial, commercial, or institutional facility, other than a warehousing or light industrial facility, equal to or in excess of the following thresholds, expressed as gross floor space, the local governmental unit is the RGU:
C.
This subpart applies to any industrial, commercial, or institutional project which includes multiple components, if there are mandatory categories specified in subparts 2 to 10, 12, 13, 15, or 17, or part 4410.4300, subparts 2 to 13, 16, 17, 20, 21, 23, 25, or 29 for two or more of the components, regardless of whether the project in question meets or exceeds any threshold specified in those subparts. In those cases, the entire project must be compared to the thresholds specified in items A and B to determine the need for an EIS. If the project meets or exceeds the thresholds specified in any other subparts as well as those in item A or B, the RGU must be determined as provided in part 4410.0500, subpart 1.
D.
This subpart does not apply to projects for which there is a single mandatory category specified in subparts 2 to 10, 12, 13, 17, or 22, or part 4410.4300, subparts 2 to 13, 16, 17, 20, 23, 25, 29, or 34, regardless of whether the project in question meets or exceeds any threshold specified in those subparts. In those cases, the need for an EIS or an EAW must be determined by comparison of the project to the threshold specified in the applicable subpart, and the RGU must be the governmental unit assigned by that subpart.
Subp. 12.
Hazardous waste.
Items A to C designate the RGU for the type of project listed:
A.
For construction or expansion of a hazardous waste disposal facility for 1,000 or more kilograms per month, the PCA is the RGU.
B.
For the construction or expansion of a hazardous waste disposal facility in a water-related land use management district, or in an area characterized by soluble bedrock, the PCA is the RGU.
C.
For construction or expansion of a facility for hazardous waste storage or treatment, if the facility is located in a water-related land use management district or in an area characterized by soluble bedrock, the PCA is the RGU.
Subp. 13.
Solid waste.
Items A to E designate the RGU for the type of project listed:
A.
For construction of a mixed municipal solid waste land disposal facility for 100,000 cubic yards or more of waste fill per year, the PCA is the RGU.
B.
For construction or expansion of a mixed municipal solid waste land disposal facility in a water-related land use management district or in an area characterized by soluble bedrock, the PCA is the RGU.
C.
For construction or expansion of a mixed municipal solid waste energy recovery facility or incinerator or use of an existing facility for the combustion of mixed municipal solid waste or refuse-derived fuel with a permitted capacity of 250 tons or more per day of input, the PCA is the RGU.
D.
For construction or expansion of a mixed municipal solid waste compost facility or a refuse-derived fuel production facility when the construction or expansion results in a facility with a permitted capacity of 500 tons or more per day of input, the PCA is the RGU.
E.
For expansion by 25 percent or more of previous capacity of a mixed municipal solid waste land disposal facility for 100,000 cubic yards or more of waste fill per year, the PCA is the RGU.
Subp. 14.
Residential development.
An EIS is required for residential development if the total number of units that the proposer may ultimately develop on all contiguous land owned by the proposer or for which the proposer has an option to purchase, except land identified by an applicable comprehensive plan, ordinance, resolution, or agreement of a local governmental unit for a future use other than residential development, equals or exceeds a threshold of this subpart. In counting the total number of ultimate units, the RGU shall include the number of units in any plans of the proposer; for land for which the proposer has not yet prepared plans, the RGU shall use as the number of units the product of the number of acres multiplied by the maximum number of units per acre allowable under the applicable zoning ordinance, or if the maximum number of units allowable per acre is not specified in an applicable zoning ordinance, by the overall average number of units per acre indicated in the plans of the proposer for those lands for which plans exist. If the total project requires review but future phases are uncertain, the RGU may review the ultimate project sequentially in accordance with part 4410.2000, subpart 4.
The RGU may review an initial stage of the project, that may not exceed ten percent of the applicable EIS threshold, by means of the procedures of parts 4410.1200 to 4410.1700 instead of the procedures of parts 4410.2000 to 4410.2800. If the RGU determines that this stage requires preparation of an EIS under part 4410.1700, it may be reviewed through a separate EIS or through an EIS that also covers later stages of the project.
If a project consists of mixed unattached and attached units, an EIS must be prepared if the sum of the quotient obtained by dividing the number of unattached units by the applicable unattached unit threshold, plus the quotient obtained by dividing the number of attached units by the applicable attached unit threshold, equals or exceeds one.
The local governmental unit is the RGU for construction of a permanent or potentially permanent residential development of:
A.
100 or more unattached or 150 or more attached units in an unsewered unincorporated area or 400 unattached units or 600 attached units in a sewered unincorporated area;
B.
400 unattached units or 600 attached units in a city that does not meet the conditions of item D;
C.
400 unattached units or 600 attached units in a city meeting the conditions of item D if the project is not consistent with the adopted comprehensive plan; or
D.
1,000 unattached units or 1,500 attached units in a city within the seven-county Twin Cities metropolitan area that has adopted a comprehensive plan under Minnesota Statutes, section 473.859, or in a city not located within the seven-county Twin Cities metropolitan area that has filed with the EQB chair a certification that it has adopted a comprehensive plan containing the following elements:
(1)
a land use plan designating the existing and proposed location, intensity, and extent of use of land and water for residential, industrial, agricultural, and other public and private purposes;
(2)
a transportation plan describing, designating, and scheduling the location, extent, function, and capacity of existing and proposed local public and private transportation facilities and services;
(3)
a sewage collection system policy plan describing, designating, and scheduling the areas to be served by the public system, the existing and planned capacities of the public system, and the standards and conditions under which the installation of private sewage treatment systems will be permitted;
(5)
an implementation plan describing public programs, fiscal devices, and other actions to be undertaken to implement the comprehensive plan, and a description of official controls addressing the matters of zoning, subdivision, private sewage systems, and a schedule for the implementation of the controls. The EQB chair may specify the form to be used for making a certification under this item.
Subp. 14a.
Residential development in shoreland outside of the seven-county Twin Cities metropolitan area.
A.
The local governmental unit is the RGU for construction of a permanent or potentially permanent residential development located wholly or partially in shoreland outside the seven-county Twin Cities metropolitan area of a type listed in items B to D. For purposes of this subpart, "riparian unit" means a unit in a development that abuts a public water or, in the case of a development where units are not allowed to abut the public water, is located in the first tier of the development as provided under part 6120.3800, subpart 4, item A. If a project is located partially in a sensitive shoreland area and partially in nonsensitive shoreland areas, an EIS must be prepared if the sum of the quotient obtained by dividing the number of units in the sensitive shoreland area by the applicable sensitive shoreland area threshold, plus the quotient obtained by dividing the number of units in nonsensitive shoreland areas by the applicable nonsensitive shoreland area threshold, equals or exceeds one. If a project is located partially in shoreland and partially not in shoreland, an EIS must be prepared if the sum of the quotients obtained by dividing the number of units in each type of area by the applicable threshold for each area equals or exceeds one.
B.
A development containing 50 or more unattached or attached units for a sensitive shoreland area or 100 or more unattached or attached units for a nonsensitive shoreland area, if any of the following conditions is present:
C.
A development of 100 or more unattached or attached units for a sensitive shoreland area or 200 or more unattached or attached units for a nonsensitive shoreland area, if none of the conditions listed in item B is present.
D.
A development creating 20 or more unattached or attached units for a sensitive shoreland area or 40 or more unattached or attached units for a nonsensitive shoreland area by the conversion of a resort, motel, hotel, recreational vehicle park, or campground, if either of the following conditions is present:
E.
An EIS is required for residential development if the total number of units that the proposer may ultimately develop on all contiguous land owned by the proposer or for which the proposer has an option to purchase, except land identified by an applicable comprehensive plan, ordinance, resolution, or agreement of a local governmental unit for a future use other than residential development, equals or exceeds a threshold of this subpart. In counting the total number of ultimate units, the RGU shall include the number of units in any plans of the proposer. For land for which the proposer has not yet prepared plans, the RGU shall use as the number of units the number of acres multiplied by the maximum number of units per acre allowable under the applicable zoning ordinance or, if the maximum number of units allowable per acre is not specified in an applicable zoning ordinance, by the overall average number of units per acre indicated in the plans of the proposer for those lands for which plans exist.
Subp. 15.
Airport runway projects.
For construction of a paved and lighted airport runway of 5,000 feet of length or greater, the DOT or local governmental unit is the RGU.
Subp. 16.
Highway projects.
For construction of a road on a new location which is four or more lanes in width and two or more miles in length, the DOT or local governmental unit is the RGU.
Subp. 17.
Barge fleeting facilities.
For construction of a barge fleeting facility at a new off-channel location that involves the dredging of 1,000 or more cubic yards, the DOT or port authority is the RGU.
Subp. 18.
Water appropriation and impoundments.
For construction of a Class I dam, the DNR is the RGU.
Subp. 19.
Marinas.
For construction of a new or expansion of an existing marina, harbor, or mooring project on a state or federally designated wild and scenic river, the local governmental unit is the RGU.
Subp. 20.
Public waters and public water wetlands.
For projects that will eliminate a public water or public waters wetland, the DNR or the local governmental unit is the RGU.
Subp. 21.
Mixed residential and commercial-industrial projects.
If a project includes both residential and commercial-industrial components, the project must have an EIS prepared if the sum of the quotient obtained by dividing the number of residential units by the applicable residential threshold of subpart 14, plus the quotient obtained by dividing the amount of industrial-commercial gross floor space by the applicable industrial-commercial threshold of subpart 11, equals or exceeds one.
Subp. 22.
Sports or entertainment facilities.
For construction of a new outdoor sports or entertainment facility designed for or expected to accommodate a peak attendance of 20,000 or more persons or a new indoor sports or entertainment facility designed for or expected to accommodate a peak attendance of 30,000 or more persons, or the expansion of an existing facility by these amounts, the local governmental unit is the RGU.
Subp. 23.
Water diversions.
For a diversion of waters of the state to an ultimate location outside the state in an amount equal to or greater than 2,000,000 gallons per day, expressed as a daily average over any 30-day period, the DNR is the RGU.
Subp. 24.
Pipelines.
For routing of a pipeline subject to the full route selection procedures under Minnesota Statutes, section 216G.02, the Public Utilities Commission is the RGU.
Subp. 25.
Incinerating wastes containing PCBs.
For incinerating wastes containing PCBs for which an EIS is required by Minnesota Statutes, section 116.38, subdivision 2, the PCA is the RGU.
Subp. 26.
Resorts, campgrounds, and RV parks in shorelands.
For construction or expansion of a resort or other seasonal or permanent recreational development located wholly or partially in shoreland, accessible by vehicle, adding 100 or more units or sites in a sensitive shoreland area or 200 or more units or sites in a nonsensitive shoreland area, the local governmental unit is the RGU. If a project is located partially in a sensitive shoreland area and partially in nonsensitive shoreland areas, an EIS must be prepared if the sum of the quotient obtained by dividing the number of units in the sensitive shoreland area by the applicable sensitive shoreland area threshold, plus the quotient obtained by dividing the number of units in nonsensitive shoreland areas by the applicable nonsensitive shoreland area threshold, equals or exceeds one. If a project is located partially in shoreland and partially not in shoreland, an EIS must be prepared if the sum of the quotients obtained by dividing the number of units in each type of area by the applicable threshold for each area equals or exceeds one.
Subp. 27.
Land conversion in shorelands.
For a project that permanently converts 40 or more acres of forested or other naturally vegetated land in a sensitive shoreland area or 80 or more acres of forested or other naturally vegetated land in a nonsensitive shoreland area, the local governmental unit is the RGU.
Statutory Authority:
MS s 116C.991; 116D.04; 116D.045; L 2013 c 114 art 4 s 105; L 2015 1Sp4 art 4 s 121; art 5 s 33
History:
11 SR 714; 13 SR 1437; 13 SR 2046; 21 SR 1458; 28 SR 951; L 2005 c 97 art 3 s 19; 31 SR 539; 34 SR 721; 44 SR 691
Published Electronically:
January 17, 2020
4410.4500 DISCRETIONARY EAW.
A governmental unit with jurisdiction may order the preparation of an EAW for any project that does not exceed the mandatory thresholds designated in part 4410.4300 or 4410.4400 if the governmental unit determines that because of the nature or location of the proposed project the project may have the potential for significant environmental effects, and the project is not exempted pursuant to part 4410.4600.
Statutory Authority:
MS s 116D.04
Published Electronically:
November 30, 2009
4410.4600 EXEMPTIONS.
Subpart 1.
Scope of exemption.
Projects within subparts 2 and 26 are exempt from parts 4410.0200 to 4410.6500. Projects within subparts 3 to 25 and 27 are exempt from parts 4410.0200 to 4410.6500, unless they have characteristics which meet or exceed any of the thresholds specified in part 4410.4300 or 4410.4400.
Subp. 2.
Standard exemptions.
The following projects are standard exemptions:
B.
projects for which all governmental decisions have been made. However, this exemption does not in any way alter the prohibitions on final governmental decisions to approve a project under part 4410.3100;
C.
projects for which, and so long as, a governmental unit has denied a required governmental approval;
D.
projects for which a substantial portion of the project has been completed and an EIS would not influence remaining construction; and
Subp. 3.
Electric generating facilities.
Construction of an electric generating plant or combination of plants at a single site with a combined capacity of less than five megawatts is exempt.
Subp. 4.
Fuel conversion facilities.
Expansion of a facility for the production of alcohol fuels that would have or would increase its capacity by less than 500,000 gallons per year of alcohol produced is exempt.
Subp. 5.
Transmission lines.
Construction of a transmission line with a nominal capacity of 69 kilovolts or less is exempt.
Subp. 6.
Transfer facilities.
Construction of a facility designed for or capable of transferring less than 30 tons of coal per hour or with an annual throughput of less than 50,000 tons of coal from one mode of transportation to a similar or different mode of transportation, or the expansion of an existing facility by these respective amounts, is exempt.
Subp. 7.
Storage facilities.
Construction of a facility designed for or capable of storing less than 750 tons of coal, with an annual throughput of less than 12,500 tons of coal, or the expansion of an existing facility by these respective amounts, is exempt.
Subp. 8.
Mining.
The following projects are exempt:
A.
General mine site evaluation activities that do not result in a permanent alteration of the environment, including mapping, aerial surveying, visual inspection, geologic field reconnaissance, geophysical studies, and surveying, but excluding exploratory borings, are exempt.
B.
Expansion of metallic mineral plant processing facilities that are capable of increasing production by less than ten percent per year, provided the increase is less than 100,000 tons per year in the case of facilities for processing natural iron ore or taconite, is exempt.
Subp. 9.
Paper or pulp processing facilities.
Expansion of an existing paper or pulp processing facility that will increase its production capacity by less than ten percent is exempt.
Subp. 10.
Industrial, commercial, and institutional facilities.
The following projects are exempt:
A.
Construction of a new or expansion of an existing warehousing, light industrial, commercial, or institutional facility of less than the following thresholds, expressed as gross floor space:
(3)
first class city, 100,000 square feet, if no part of the development is within a shoreland area, delineated flood plain, state or federally designated wild and scenic rivers district, the Minnesota River Project Riverbend area, or the Mississippi headwaters area.
B.
Construction of a warehousing, light industrial, commercial, or institutional facility with less than 4,000 square feet of gross floor space and with associated parking facilities designed for 20 vehicles or fewer.
C.
Construction of a new parking facility for fewer than 100 vehicles if the facility is not located in a shoreland area, a delineated floodplain, a state or federally designated wild and scenic rivers district, the Minnesota River Project Riverbend area, or the Mississippi headwaters area.
Subp. 11.
Sewage systems.
Construction of a new wastewater treatment facility with a capacity of less than 5,000 gallons per day average wet weather flow or the expansion of an existing wastewater treatment facility by less than 5,000 gallons per day average wet weather flow or the expansion of a sewage collection system by less than 5,000 gallons per day design daily average flow or a sewer line of 1,000 feet or less and eight-inch diameter or less, is exempt.
Subp. 12.
Residential development.
The following projects are exempt:
A.
Construction of a sewered residential development, of:
(4)
fewer than 80 units in a first class city, no part of which is within a shoreland area, a delineated floodplain, a state or federally designated wild and scenic rivers district, the Minnesota River Project Riverbend area, or the Mississippi headwaters area.
B.
Construction of less than ten residential units located in shoreland, provided all land in the development that lies within 300 feet of the ordinary high water level of the lake or river, or edge of any wetland adjacent to the lake or river, is preserved as common open space.
C.
Construction of a single residence or multiple residence with four dwelling units or fewer and accessory appurtenant structures and utilities.
Subp. 13.
Airport projects.
The following projects are exempt:
A.
Runway, taxiway, apron, or loading ramp construction or repair work including reconstruction, resurfacing, marking, grooving, fillets, and jet blast facilities is exempt, except where the project will create environmental impacts off airport property.
B.
Installation or upgrading of airfield lighting systems, including beacons and electrical distribution systems, is exempt.
C.
Construction or expansion of passenger handling or parking facilities, including pedestrian walkway facilities, is exempt.
D.
Grading or removal of obstructions and erosion control projects on airport property is exempt, except where the projects will create environmental impacts off airport property.
Subp. 14.
Highway projects.
The following projects are exempt:
B.
Installation of traffic control devices, individual noise barriers, bus shelters and bays, loading zones, and access and egress lanes for transit and paratransit vehicles.
C.
Modernization of an existing roadway or bridge by resurfacing, restoration, or rehabilitation that may involve acquiring minimal amounts of right-of-way.
D.
Roadway landscaping or construction of bicycle and pedestrian lanes, paths, and facilities within an existing right-of-way.
E.
Any stream diversion, realignment, or channelization within the right-of-way of an existing public roadway associated with bridge or culvert replacement.
F.
Reconstruction or modification of an existing bridge structure on essentially the same alignment or location that may involve acquiring minimal amounts of right-of-way.
Subp. 15.
Water impoundments.
A new or additional permanent impoundment of water creating a water surface of less than ten acres is exempt.
Subp. 16.
Marinas.
Construction of private residential docks for use by four or less boats and utilizing less than 1,500 square feet of water surface is exempt.
Subp. 17.
Ditch maintenance or repair.
Routine maintenance or repair of a drainage ditch within the limits of its original construction flow capacity, performed within 20 years of construction or major repair, is exempt.
Subp. 18.
Agriculture and forestry.
The following projects are exempt:
B.
Public and private forest management practices, other than clear-cutting or applying pesticides, that involve less than 20 acres of land.
Subp. 19.
Animal feedlots.
The activities in items A to D are exempt.
A.
Construction of an animal feedlot facility with a capacity of less than 1,000 animal units or the expansion of an existing animal feedlot facility to a total cumulative capacity of less than 1,000 animal units, if all of the following apply:
(1)
the feedlot is not in an environmentally sensitive location listed in part 4410.4300, subpart 29, item B;
(2)
the application for the animal feedlot permit includes a written commitment by the proposer to design, construct, and operate the facility in full compliance with PCA feedlot rules; and
(3)
the county board holds a public meeting for citizen input at least ten business days prior to the PCA or county issuing a feedlot permit for the facility, unless another public meeting for citizen input has been held with regard to the feedlot facility to be permitted.
B.
The construction of an animal feedlot facility of less than 300 animal units or the expansion of an existing facility by less than 100 animal units, no part of either of which is located within a shoreland area; delineated flood plain; state or federally designated wild and scenic rivers district; the Minnesota River Project Riverbend area; the Mississippi headwaters area; an area within a drinking water supply management area designated under chapter 4720 where the aquifer is identified in the wellhead protection plan as vulnerable to contamination; or 1,000 feet of a known sinkhole, cave, resurgent spring, disappearing spring, Karst window, blind valley, or dry valley.
C.
The construction or expansion of an animal feedlot facility with a resulting capacity of less than 50 animal units regardless of location.
D.
The modification without expansion of capacity of any feedlot of no more than 300 animal units if the modification is necessary to secure a Minnesota feedlot permit.
Subp. 21.
Construction projects.
The following projects are exempt:
A.
Construction of accessory appurtenant structures including garages, carports, patios, swimming pools, agricultural structures excluding feedlots, or other similar buildings not changing land use or density is exempt.
B.
Accessory signs appurtenant to any commercial, industrial, or institutional facility are exempt.
C.
Operation, maintenance, or repair work having no substantial impact on existing structures, land use, or natural resources is exempt.
D.
Restoration or reconstruction of a structure is exempt, provided that the structure is not of historical, cultural, architectural, archaeological, or recreational value.
E.
Demolition or removal of buildings and related structures is exempt, except where they are of historical, archaeological, or architectural significance.
Subp. 22.
Land use.
The following projects are exempt:
A.
Individual land use variances, including minor lot line adjustments and side yard and setback variances not resulting in the creation of a new subdivided parcel of land or any change in land use character or density, are exempt.
B.
Minor temporary uses of land having negligible or no permanent effect on the environment are exempt.
C.
Maintenance of existing landscaping, native growth, and water supply reservoirs, excluding the use of pesticides, is exempt.
Subp. 23.
Research and data collection.
Basic data collection, training programs, research, experimental management, and resource evaluation projects that do not result in an extensive or permanent disturbance to an environmental resource, and do not constitute a substantial commitment to a further course of action having potential for significant environmental effects, are exempt.
Subp. 24.
Financial transactions.
The following projects are exempt:
A.
Acquisition or disposition of private interests in real property, including leaseholds, easements, right-of-way, or fee interests, is exempt.
Subp. 25.
Licenses.
The following decisions are exempt:
A.
Licensing or permitting decisions related to individual persons or activities directly connected with an individual's household, livelihood, transportation, recreation, health, safety, and welfare, such as motor vehicle licensing or individual park entrance permits, are exempt.
B.
All licenses required under electrical, fire, plumbing, heating, mechanical and safety codes and regulations, but not including building permits, are exempt.
Subp. 26.
Governmental activities.
Proposals and enactments of the legislature, rules or orders of governmental units, adoption and amendment of comprehensive and other plans, zoning ordinances, or other official controls by local governmental units, rezoning actions by a local governmental unit unless the action would be primarily for the benefit of a specific project or projects, adoption and amendment of plans by state agencies, executive orders of the governor or their implementation by governmental units, judicial orders, and submissions of proposals to a vote of the people of the state are exempt.
Subp. 27.
Recreational trails.
The projects listed in items A to H are exempt. For purposes of this subpart, "existing trail" means an established corridor in current legal use.
A.
Rerouting less than one continuous mile of a recreational trail if the reroute is necessary to avoid sensitive areas or to alleviate safety concerns. Multiple reroutes on the same trail must be treated as independent projects, except that where the cumulative length of currently proposed reroutes exceeds one mile on any five-mile segment of trail, as measured along the rerouted trail, those reroutes are not exempt.
B.
Reconstructing, rehabilitating, or maintaining an existing trail involving no changes in designated use.
C.
Constructing less than one continuous mile of trail for use by snowmobiles or cross-country skiers.
F.
Constructing or rehabilitating a nonmotorized trail within the Twin Cities Metropolitan Regional Park System.
G.
Paving a trail located on an abandoned railroad grade retired in accordance with Code of Federal Regulations, title 49, part 1152.
H.
Adding a new motorized use to an existing motorized trail or trail segment where the trail is located only on an abandoned railroad grade retired in accordance with Code of Federal Regulations, title 49, part 1152.
Statutory Authority:
MS s 116C.991; 116D.04; 116D.045; L 1998 c 401 s 54; L 2013 c 114 art 4 s 105; L 2015 1Sp4 art 4 s 121; art 5 s 33
History:
11 SR 714; 13 SR 1437; 21 SR 1458; 24 SR 517; 30 SR 319; 31 SR 539; 34 SR 721; 44 SR 691
Published Electronically:
January 17, 2020
EARLY NOTICE RULES
4410.5000 AUTHORITY AND PURPOSE.
Subpart 1.
Bulletin.
To provide early notice of impending projects which may have significant environmental effects, the EQB shall, pursuant to Minnesota Statutes, section 116D.04, subdivision 8, publish a bulletin with the name of "EQB Monitor" containing all notices as specified in part 4410.5200. The EQB chair may prescribe the form and manner in which the governmental units submit any material for publication in the EQB Monitor, and the EQB chair may withhold publication of any material not submitted according to the form or procedures the EQB chair has prescribed.
Subp. 2.
Purpose.
These rules are intended to provide a procedure for notice to the EQB and to the public of natural resource management and development permit applications, and impending governmental and private projects that may have significant environmental effects. The notice through the early notice procedures is in addition to public notices otherwise required by law, rule, or regulation.
History:
13 SR 1437
Published Electronically:
November 30, 2009
4410.5100 EXEMPTIONS.
Subpart 1.
EPA permit exemption.
All national pollutant discharge elimination system permits granted by the PCA, under the authority given by the Environmental Protection Agency, shall be exempt from parts 4410.5000 to 4410.5600 unless otherwise provided by resolution of the EQB.
Subp. 2.
Nonstrict observance.
Where, in the opinion of any governmental unit, strict observance of parts 4410.5000 to 4410.5400 would jeopardize the public health, safety, or welfare or would otherwise generally compromise the public interest, the governmental unit shall comply with these rules as far as practicable. In such cases, the governmental unit shall carry out alternative means of public notification and shall communicate the same to the EQB chairperson.
Subp. 3.
Federal permits exemption.
Any federal permits for which review authority has been delegated to a nonfederal governmental unit by the federal government may be exempted by resolution of the EQB.
Statutory Authority:
MS s 116D.04
Published Electronically:
November 30, 2009
4410.5200 EQB MONITOR; PUBLICATION REQUIREMENTS.
Subpart 1.
Required notices.
Governmental units are required to publish notice of the items listed in items A to R in the EQB Monitor, except that this part constitutes a request and not a requirement with respect to federal agencies.
A.
When a project has been noticed according to item D, separate notice of individual permits required by that project need not be made unless changes in the project are proposed that will involve new and potentially significant environmental effects not considered previously. No decision granting a permit application for which notice is required to be published by this part is effective until 30 days following publication of the notice.
(1)
For all public hearings conducted pursuant to water resources permit applications, Minnesota Statutes, chapter 103G, the DNR is the permitting authority.
(2)
For notice of public sales of permits for or leases to mine iron ore, copper-nickel, or other minerals on state-owned or administered mineral rights, Minnesota Statutes, sections 93.16 and 93.335, and part 6125.0500, the DNR is the permitting authority.
B.
Impending projects proposed by state agencies when the proposed project may have the potential for significant environmental effects.
F.
Notice of the time, place, and date of the EIS scoping meeting pursuant to part 4410.2100, subpart 2, items A, subitem (2) and B, subitem (1).
I.
Availability of draft and final EIS pursuant to parts 4410.2600, subpart 5 and 4410.2700, subpart 4.
L.
Notice of activities undergoing environmental review under alternative review processes pursuant to part 4410.3600, subpart 1, item F.
N.
Environmental analyses prepared under adopted model ordinances pursuant to part 4410.3700, subpart 3.
Subp. 2.
Optional notices.
Governmental units may publish notices of general interest or information in the EQB Monitor.
Subp. 3.
Required EQB notices.
The EQB is required to publish the following in the EQB Monitor:
A.
receipt of a valid petition and assignment of a RGU pursuant to part 4410.1100, subparts 3 and 5;
B.
decision by the EQB that it will determine the adequacy of a final EIS pursuant to part 4410.2800, item A;
D.
receipt by the EQB of an application for a variance pursuant to part 4410.3100, subpart 4, item D;
E.
the EQB's decision to hold public hearings on a recommended critical area pursuant to Minnesota Statutes, section 116G.06, subdivision 1, clause (c);
F.
notice of application for a site permit for a large electric power generating plant or a route permit for a high voltage transmission line pursuant to Minnesota Statutes, chapter 216E;
Statutory Authority:
MS s 116C.991; 116D.04; 116D.045; L 2013 c 114 art 4 s 105; L 2015 1Sp4 art 4 s 121; art 5 s 33
History:
21 SR 1458; 28 SR 951; 31 SR 539; 44 SR 691
Published Electronically:
January 17, 2020
4410.5300 CONTENT OF NOTICE.
The information to be included in the notice for natural resources management and development permit applications and other items in part 4410.5200, subpart 1, items A and B shall be submitted by the governmental unit on a form approved by the EQB. This information shall include but not be limited to:
B.
the location of the proposed project, or description of the area affected by the project by county, minor civil division, public land survey township number, range number, and section number;
C.
the name of the permit applied for, or a description of the proposed project or other action to be undertaken in sufficient detail to enable other state agencies to determine whether they have jurisdiction over the proposed project;
D.
a statement of whether the agency intends to hold public hearings on the proposed project, along with the time and place of the hearings if they are to be held in less than 30 days from the date of this notice; and
E.
the identification of the governmental unit publishing the notice, including the manner and place at which comments on the project can be submitted and additional information can be obtained.
Statutory Authority:
MS s 116D.04
Published Electronically:
November 30, 2009
4410.5400 STATEMENT OF COMPLIANCE.
Each governmental permit or agency authorizing order subject to the requirements of part 4410.5200, subpart 1, item A issued or granted by a governmental unit shall contain a statement by the unit concerning whether the provisions of parts 4410.5000 to 4410.5400 have been complied with, and publication dates of the notices, if any, concerning that permit or authorization.
Statutory Authority:
MS s 116D.04
Published Electronically:
November 30, 2009
4410.5500 PUBLICATION.
The EQB shall publish the EQB Monitor whenever it is necessary, except that material properly submitted to the EQB shall not remain unpublished for more than 13 working days.
Statutory Authority:
MS s 116D.04
Published Electronically:
November 30, 2009
4410.5600 COST AND DISTRIBUTION.
Subpart 1.
Costs of publication.
When a governmental unit properly submits material to the EQB for publication, the EQB shall then be accountable for the publication of the same in the EQB Monitor. The EQB shall require each governmental unit which is required to publish material or requests the publication of material in the EQB Monitor, including the EQB itself, to pay its proportionate cost of the EQB Monitor unless other funds are provided and are sufficient to cover the cost of the EQB Monitor.
Subp. 2.
Distribution.
The EQB Monitor may be published by electronic means, including by posting at the EQB Internet website and by electronic mail to persons who have registered with the EQB to receive the EQB Monitor.
History:
31 SR 539
Published Electronically:
September 7, 2018
ASSESSING COST OF PREPARING
ENVIRONMENTAL IMPACT STATEMENTS
4410.6000 PROJECTS REQUIRING ASSESSMENT OF EIS PREPARATION COST.
The RGU shall assess the project proposer for reasonable costs that the RGU incurs in preparing, reviewing, and distributing the EIS in accord with parts 4410.6100 to 4410.6500.
History:
13 SR 1437; 37 SR 820
Published Electronically:
August 20, 2018
4410.6100 DETERMINING EIS ASSESSED COST.
Subpart 1.
Proposer and RGU agreement.
Within 30 days after the RGU's scoping decision has been issued, the RGU shall submit to the proposer a draft cost agreement. The agreement shall include the EIS estimated cost and a brief description of the tasks and the cost of each task to be performed by each party in preparing, reviewing, and distributing the EIS. Those items identified in part 4410.6200 may be used as a guideline in determining the EIS estimated cost. The proposer may request changes in the cost agreement. If, within 30 days after the proposer receives the draft cost agreement, the RGU and proposer have not signed a cost agreement, either party may refer the matter to the EQB according to part 4410.6410. If the RGU and proposer sign the cost agreement, the RGU shall submit a copy to the EQB.
Subp. 4.
Federal-state EIS.
When a joint federal-state EIS is prepared pursuant to part 4410.3900 and the EQB designates a nonfederal agency as the RGU, only those costs of the state RGU may be assessed to the proposer.
Subp. 5.
Related actions EIS.
When specific projects are included in a related actions EIS, only the portion of the EIS cost that is attributable to each specific project may be used in determining the EIS assessed cost for its proposer.
History:
21 SR 1458; 31 SR 539; 37 SR 820
Published Electronically:
January 14, 2013
4410.6200 DETERMINING EIS COST.
Subpart 1.
EIS cost inclusions.
In determining the reasonable cost of preparing, reviewing, and distributing the EIS, the following items shall be included:
A.
the cost of the RGU's staff time including direct salary and fringe benefit costs, unless the RGU elects to waive these costs;
C.
other direct costs of the RGU for the collection and analysis of information or data necessary for the preparation of the EIS;
D.
indirect costs of the RGU not to exceed the RGU's normal operating overhead rate, unless the RGU elects to waive these costs;
E.
the cost of printing and distributing the scoping EAW and draft scoping decision document, draft EIS and the final EIS and of public notices of the availability of the documents; and
F.
the cost of any public hearings or public meetings held in conjunction with the preparation of the EIS.
Subp. 2.
EIS cost exclusions.
The following items shall not be included in the cost assessed to the project proposer for the preparation and distribution of an EIS:
A.
the cost of collecting and analyzing information and data incurred before the final determination has been made that an EIS will be prepared, unless the information and data were obtained for the purpose of being included in the EIS;
B.
costs incurred by a private person other than the proposer or a governmental unit other than the RGU, unless the costs are incurred at the direction of the RGU for the preparation of material to be included in the EIS; and
C.
the capital costs of equipment purchased by the RGU or its consultants for the purpose of establishing a data collection program, unless the proposer agrees to include such costs.
Subp. 3.
EIS scoping costs.
The cost of any items specified in subpart 1 incurred by the RGU during the scoping of the EIS are part of the reasonable costs of preparing, reviewing, and distributing the EIS and are to be assessed to the project proposer by the RGU.
Subp. 4.
Change in EIS scope.
If the RGU alters the scope of an EIS pursuant to part 4410.2100, subpart 8, the EIS cost shall be revised to reflect the change in scope.
Subp. 5.
Termination of project.
If the proposer decides not to proceed with the proposed project while the EIS is under preparation, the proposer shall immediately notify the RGU in writing. The RGU shall immediately cease expending and obligating the proposer's funds for the preparation of the EIS. If the cash payments previously made by the proposer exceed the RGU's expenditures or irrevocable obligations at the time of the notification, the RGU shall refund the remaining funds within 30 days. If the previous cash payments are less than the RGU's expenditures or irrevocable obligations at the time of notification, the RGU shall notify the proposer of the balance due within ten days of the notice. The proposer shall pay the balance due within 30 days.
History:
21 SR 1458; 31 SR 539; 37 SR 820
Published Electronically:
January 14, 2013
4410.6300
[Repealed, 21 SR 1458]
Published Electronically:
November 30, 2009
4410.6400
[Repealed, 21 SR 1458]
Published Electronically:
November 30, 2009
4410.6410 DISAGREEMENTS REGARDING EIS ASSESSED COST.
Subpart 1.
EQB to determine cost.
If, after the RGU has issued its scoping decision under part 4410.2100, the RGU and the proposer disagree about the cost assessed by the RGU to the proposer, either party may request in writing that the EQB determine the appropriate cost assessment. The request must be accompanied by a description of the cost dispute together with relevant supporting documentation; a copy of the request must be supplied to the other party. The other party shall provide a written explanation of its position on the cost dispute, together with any relevant supporting information, to the EQB and the other party within ten days of receipt of its copy of the request to the EQB. The chair of the EQB may request any additional information from either party that is needed to understand and resolve the cost dispute.
Subp. 2.
Issuing determination.
The EQB shall determine the appropriate cost in dispute at its first meeting held 15 or more days after receipt of complete information from both parties. The EQB may order a contested case hearing if it determines that a hearing is necessary to obtain the information necessary to make a decision. If the EQB orders a hearing it shall determine the appropriate cost at its first meeting held 15 or more days after receipt of the report from the administrative law judge.
Subp. 3.
Half cash payment.
Nothing in subparts 1 and 2 shall prevent the proposer from making one-half of the cash payment as recommended by the RGU's proposed EIS cost for the purpose of commencing preparation of the draft EIS. If the proposer makes the above cash payment, preparation of the draft EIS shall immediately begin. If the required cash payment is altered by the EQB's determination, the remaining cash payments shall be adjusted accordingly.
History:
21 SR 1458
Published Electronically:
August 20, 2018
4410.6500 PAYING EIS COST.
Subpart 1.
Schedule of payments.
The proposer shall make all cash payments to the RGU according to the following schedule:
A.
The proposer shall pay the RGU for the full cost estimated by the RGU to be necessary for the scoping of the EIS not later than the date of submission by the proposer of the completed data portions of the scoping EAW or within five days of issuance of a positive declaration. The RGU shall not proceed with the scoping process until this payment is made. Upon issuance of the scoping decision, the RGU shall provide the proposer with a written accounting of the scoping expenditures. If the payment made by the proposer exceeds the expenditures, the balance shall be credited against the cash payments required from the proposer for preparation of the draft EIS. If the RGU's reasonable expenditures for scoping exceed the cash payment received, the proposer shall pay the balance before the RGU commences preparation of the draft EIS.
B.
At least one-half of the proposer's cash payment shall be paid within ten days after the RGU and the proposer agree to the estimated cost of preparing and distributing an EIS in accordance with the scoping decision issued under part 4410.2100 or the cost has been determined by the EQB pursuant to part 4410.6410, subpart 2. The RGU shall not proceed to prepare the draft EIS until this payment has been received.
C.
The remainder of the proposer's cash payment shall be paid on a schedule agreed to by the RGU and the proposer.
D.
If there is a disagreement over the EIS cost, such payment shall be made within 30 days after the EQB has determined the EIS cost pursuant to part 4410.6410.
If the cash payments made by the proposer exceed the RGU's actual EIS costs, the RGU shall refund the overpayment. The refund shall be paid within 30 days of completion of the RGU of the accounting of the EIS costs.
Subp. 6.
Prohibition on state agency permits until notice of final payment.
Upon receipt of final payment from the proposer, the RGU shall promptly notify each state agency having a possible governmental permit interest in the project that the final payment has been received.
Other laws notwithstanding, a state agency shall not issue any governmental permits for the construction or operation of a project for which an EIS is prepared until the required cash payments of the EIS assessed cost for that project or that portion of a related actions EIS have been paid in full.
History:
21 SR 1458; 31 SR 539
Published Electronically:
August 20, 2018
4410.7000
[Repealed, 28 SR 951]
Published Electronically:
November 30, 2009
4410.7010
[Renumbered 7849.7010]
Published Electronically:
November 30, 2009
4410.7015
Published Electronically:
November 30, 2009
4410.7020
[Renumbered 7849.7030]
Published Electronically:
November 30, 2009
4410.7025
[Renumbered 7849.7040]
Published Electronically:
November 30, 2009
4410.7030
[Renumbered 7849.7050]
Published Electronically:
November 30, 2009
4410.7035
[Renumbered 7849.7060]
Published Electronically:
November 30, 2009
4410.7040
[Renumbered 7849.7070]
Published Electronically:
November 30, 2009
4410.7045
[Renumbered 7849.7080]
Published Electronically:
November 30, 2009
4410.7050
[Renumbered 7849.7090]
Published Electronically:
November 30, 2009
LOCAL GOVERNMENT REVIEW
4410.7055 REVIEW BY OTHER GOVERNMENTAL BODIES.
All local and state governmental bodies that were identified in the environmental report with permitting authority over the project shall consider the report in making any decision to authorize the project.
Statutory Authority:
MS s 116D.04
History:
28 SR 951
Published Electronically:
November 30, 2009
4410.7060
[Renumbered 7849.7100]
Published Electronically:
November 30, 2009
4410.7065
[Renumbered 7849.7105]
Published Electronically:
November 30, 2009
4410.7070
[Renumbered 7849.7110]
Published Electronically:
November 30, 2009
4410.7100
MR 1985 [Renumbered 7850.0200]
4410.7100
[Repealed, 28 SR 951]
Published Electronically:
November 30, 2009
4410.7200
[Repealed, 15 SR 1597]
Published Electronically:
November 30, 2009
4410.7300
[Repealed, 15 SR 1597]
Published Electronically:
November 30, 2009
4410.7400
[Repealed, 28 SR 951]
Published Electronically:
November 30, 2009
4410.7500
[Repealed, 28 SR 951]
Published Electronically:
November 30, 2009
4410.7600
[Repealed, 15 SR 1597]
Published Electronically:
November 30, 2009
4410.7700
[Repealed, 15 SR 1597]
Published Electronically:
November 30, 2009
4410.7800
[Repealed, 15 SR 1597]
Published Electronically:
November 30, 2009
EXPLORATORY DRILLING FOR THE DISPOSAL OF
HIGH-LEVEL RADIOACTIVE WASTE
4410.7900 DEFINITIONS.
Subpart 1.
Scope.
The definitions in Minnesota Statutes, section 116C.71, apply to parts 4410.7900 to 4410.7934, and for the purposes of those parts, the following terms have the meanings given them.
Subp. 2.
Affected landowner.
"Affected landowner" means a person who owns or leases property within the right-of-way of the investigative activities.
Subp. 3.
Agent.
"Agent" means a responsible person who will act as a contact person on behalf of the applicant or permittee.
Subp. 5.
Data.
"Data" means any factual measurements, statistics, or information obtained from the investigative activities.
Subp. 6.
Drilling permit.
"Drilling permit" means the written document issued by the board authorizing and outlining the rights and responsibilities of the permittee.
Subp. 7.
Investigative activities.
"Investigative activities" means the actions, whether in the laboratory or in the field, including visual inspection, mapping, surveying, photography, drilling, surface excavations, in situ testing, and all other research undertaken to establish the geologic and hydrologic condition and ranges of the parameters relevant to drilling in a potentially impacted area.
Subp. 8.
Permanent abandonment.
"Permanent abandonment" means the act of permanently sealing a drill hole for the purpose of permanently discontinuing the active and operational use of the drill hole.
Subp. 10.
Right-of-way.
"Right-of-way" means the interest in real property used or proposed to be used around each drill hole and/or to obtain access to and from that drill hole.
Subp. 11.
Shelterbelt.
"Shelterbelt" means the barrier zone of grasses, shrubs, and trees, or any combination of them, planted to protect crops, soil, and other sensitive areas against erosion.
Subp. 13.
Surface water.
"Surface water" means water systems on the surface of the earth, including permanent lakes, streams and wetlands, intermittent streams, periodic wetlands and their respective watercourse beds, and wetland basins.
Subp. 14.
Temporary abandonment.
"Temporary abandonment" means the act of sealing, capping, or protecting a drill hole for the purpose of temporarily discontinuing use of the drill hole for a period of not more than five years.
Statutory Authority:
MS s 116C.724
History:
10 SR 2290
Published Electronically:
November 30, 2009
4410.7902 PREAPPLICATION RESPONSIBILITIES OF APPLICANT.
A.
Pursuant to Minnesota Statutes, section 116C.724, subdivision 3, paragraph (c), the applicant shall provide a notice of intent in writing to the chair at least ten days prior to initiating any contact with any landowner/tenant regarding negotiation of easement rights or other property interests that relate to predrilling right-of-way investigative activities. The notice of intent shall contain the legal description of the right-of-way, the property interest in that right-of-way, and the procedure by which the property interest is to be acquired.
B.
The applicant shall provide the chair with copies of any permit, lease, permission, and/or easement agreements, within ten days of reaching the agreement, negotiated with landowners and/or tenants during the entire period a potentially impacted area is under consideration for investigative activities related to drilling. These agreements shall provide unrestricted access to the right-of-way as set forth in Minnesota Statutes, section 116C.724, subdivision 2, clause (4), and parts 4410.7900 to 4410.7934.
Statutory Authority:
MS s 116C.724
History:
10 SR 2290
Published Electronically:
November 30, 2009
4410.7904 LICENSING EXPLORERS.
An applicant must comply with Minnesota Statutes, section 103I.601, subdivision 2, and parts 4727.0400 to 4727.0860, relating to the regulation of exploratory boring.
Statutory Authority:
MS s 116C.724; 116C.991; 116D.04; 116D.045; L 2013 c 114 art 4 s 105; L 2015 1Sp4 art 4 s 121; art 5 s 33
History:
10 SR 2290; 44 SR 691
Published Electronically:
January 17, 2020
4410.7906 PROCEDURE FOR ISSUING DRILLING PERMIT.
Subpart 1.
Drilling permit required.
A drilling permit shall be obtained from the board for each potentially impacted area prior to commencing any drilling to obtain geologic and hydrologic information, other than the drilling of geophysical shot holes, relating to the disposal of high-level radioactive waste.
Subp. 2.
Content of application for drilling permit.
An application for a drilling permit must be filed by the applicant with the EQB and must include:
C.
the applicant's explorer's license, issued under Minnesota Statutes, section 103I.601, subdivision 2, and parts 4727.0400 to 4727.0860;
D.
a description of the proposed drilling operation including the number, type, size, and depth of drill holes;
E.
United States Geological Survey topographical maps to the scale 1:24,000 or smaller on which are drawn to scale the exact locations of the right-of-way and the proposed drill holes;
F.
a development plan showing the rights-of-way and the geographical and cultural features existing on each side of the rights-of-way in an area not less than 200 feet in width on each side of the right-of-way. The scale of the plan shall not be greater than 200 feet per inch. The development plan shall show, to the scale of the plan, dimensions, elevations, contours (using contour intervals of five feet or less), drill hole locations, field construction of drilling equipment, and present and planned pertinent features, including but not limited to roads, buildings, encampments, shelterbelts, fencing, surface water and its diversion or drainage, and present land use. The plan shall show the stages of development from right-of-way preparation through all phases of construction and maintenance;
G.
a time schedule for acquisition and construction of each right-of-way starting with the initial visual inspection of the right-of-way. The time schedule shall include the proposed commencement and finishing dates of each stage of investigative activities, and shall also include the proposed date of right-of-way clearance, temporary and permanent abandonment, right-of-way restoration activities, and the method and schedule of drill hole monitoring;
H.
a listing of the federal, state, and local permits that may be required for the proposed drilling and the accompanying right-of-way clearance;
I.
a description of the environmental setting and the potential environmental impacts of right-of-way clearance and drilling on the following:
J.
existing or potential point and nonpoint sources of pollution on or near the right-of-way that could contaminate surface water or water-bearing formations underground because of the investigative activities.
Subp. 3.
Acceptance of drilling permit application.
Within 30 days of receipt of a permit application, the chair shall review it for completeness pursuant to subpart 2 and accept or reject the application. If the chair rejects the application, the chair shall upon rejection inform the applicant which deficiencies, if corrected, will allow the application to be accepted. Upon resubmission, the chair shall have 30 days to review the amended application and accept or reject it. After acceptance of an application, the applicant shall provide any additional relevant information that the chair or the board determines necessary for board approval of the application. The applicant shall supply extra copies of the application to the members of the board, to the technical representatives to the board designated by an agency member of the board, and five copies to the board's staff.
Subp. 4.
Copy of application to historical society and county auditor.
When an applicant files a permit application with the board, the applicant shall simultaneously send a copy of the application to the Minnesota historical society, and to the office of the county auditor in each county or any portion of a county within the potentially impacted area. The county auditor shall retain and file the application in a manner making it accessible to the public.
Statutory Authority:
MS s 116C.724; 116C.991; 116D.04; 116D.045; L 2013 c 114 art 4 s 105; L 2015 1Sp4 art 4 s 121; art 5 s 33
History:
10 SR 2290; 17 SR 1279; 44 SR 691
Published Electronically:
January 17, 2020
4410.7908 INFORMATION MEETINGS.
Subpart 1.
Information meetings required.
The applicant or permittee, as appropriate, shall hold public information meetings as required by Minnesota Statutes, section 116C.724, subdivision 3, paragraph (b).
A.
The applicant shall hold one public meeting in the potentially impacted area after the permit application has been filed with the board and before the hearing required by part 4410.7910. At the meeting the applicant shall explain the scope of the planned investigative activities and the potential short- and long-term environmental, health, and safety impacts, if any, of the investigative activities.
B.
The permittee shall hold at least one public meeting every three months in the potentially impacted area during the investigation in order to answer questions, concerns, and complaints, and to provide the public with all current raw and interpreted data on the progress of the investigation.
Subp. 2.
Agenda.
The applicant or permittee, as appropriate, shall provide the agenda, and responses to concerns and issues raised at the public information meeting, in writing to the chair within 20 days of the meeting.
Subp. 3.
Evidence.
Any person may appear at the public information meetings and present written and/or oral testimony and exhibits relevant to the investigative activities.
Subp. 4.
Schedule and location.
The public information meetings shall be scheduled on weekday evenings that do not fall on a public holiday and shall begin no earlier than 7:00 p.m. The public information meetings shall be held in a facility centrally located within the potentially impacted area and sufficient in size to accommodate the reasonably projected attendance. If no adequate facility exists within the potentially impacted area, the meetings shall be held in an adequate facility near the potentially impacted area.
Subp. 5.
Notice.
Notice of each public information meeting held pursuant to subpart 1 shall be given by the applicant or permittee, as appropriate, by paid advertisement in a qualified newspaper, as defined in Minnesota Statutes, section 331A.01, subdivision 8, in general circulation in the potentially impacted area. The notice shall be published at least ten days and not more than 30 days prior to the meeting. The applicant or permittee shall notify the chair and the county auditor of each county or portion of each county within the potentially impacted area in writing at least ten days in advance of the meeting. The notice shall include the following information:
C.
the identity of the applicant or permittee and the name of the agent and the address and phone number where that person can be reached; and
D.
the locations where the most recent permit application or the drilling permit is available to the public.
Statutory Authority:
MS s 116C.724
History:
10 SR 2290
Published Electronically:
November 30, 2009
4410.7910 HEARING PROVISIONS.
A contested case hearing under Minnesota Statutes, chapter 14, and parts 1400.5100 to 1400.8300 shall be held by the board for the purposes of collecting and verifying data, and establishing a complete and accurate record upon which to base a decision to grant or deny a drilling permit. The hearing shall be held after the chair accepts the application for completeness and before the board acts to approve or reject the application. The hearing shall be conducted by an administrative law judge from the State Office of Administrative Hearings. The board shall give notice of the hearing pursuant to part 1400.5600 and the notice shall include all information required by part 1400.5600, subpart 2.
Statutory Authority:
MS s 116C.724
History:
10 SR 2290
Published Electronically:
November 30, 2009
4410.7912 BOARD CONSIDERATION.
Subpart 1.
Consideration and approval of the drilling permit application.
After acceptance of the application by the chair, and consideration of the findings, conclusion, and recommendation of the administrative law judge, the board shall either approve or reject the application. The board shall approve the application for a permit provided:
B.
that the applicant has complied with all the requirements of Minnesota Statutes, section 116C.724, and parts 4410.7900 to 4410.7934; and
C.
that the investigative activities will not materially and adversely affect the environment, unless there is no feasible and prudent alternative and the conduct at issue is consistent with and reasonably required for promotion of the public health, safety, and welfare in light of the state's paramount concern for the protection of its air, water, land, and other natural resources from pollution, impairment, or destruction.
If the board approves the application, the board shall within 90 days issue a permit to commence drilling in accordance with the time schedule and plans set forth in the application. The drilling permit shall contain the terms and conditions to assure compliance with Minnesota Statutes, section 116C.724, parts 4410.7900 to 4410.7934, and all applicable federal, state, and local ordinances. Upon receipt of the drilling permit, the permittee may begin the approved investigative activities relevant to drilling.
Subp. 2.
Copy of permit to county auditor.
The permittee shall, within three days of receipt of the permit from the board, send a copy of the drilling permit to the office of the county auditor in each county or portion of a county within the potentially impacted area. The county auditor shall retain and file the permit in a manner making it accessible to the public.
Subp. 3.
Report of complaints.
The permittee must promptly report to the chair any complaint received about investigative activities, right-of-way preparation, maintenance, restoration, and temporary and permanent abandonment.
Subp. 4.
Rejection of drilling permit application.
The board shall reject the application if it determines that the application has not met any of the conditions of subpart 1, items A to C. If the board rejects the application, it shall upon rejection inform the applicant which deficiencies if corrected will allow the application to be approved. If the deficiencies are corrected and the amended application is submitted to the board at least 30 days in advance of the board's next regularly scheduled meeting, the board shall consider the amended application at the next regularly scheduled meeting.
Statutory Authority:
MS s 116C.724
History:
10 SR 2290
Published Electronically:
November 30, 2009
4410.7914 RIGHT-OF-WAY CLEARANCE AND MAINTENANCE.
A.
The permittee shall ensure that it clears the right-of-way only to the extent necessary to assure safe drilling operations and to provide suitable access for construction and operation.
B.
Equipment used in right-of-way preparation and maintenance shall comply with the noise control rules of the Pollution Control Agency published in chapter 7030.
C.
Where the right-of-way as planned contacts surface water and roads, clearing by the permittee shall be done so that a screen of the maximum possible width of any existing natural vegetation is left along the right-of-way adjacent to the surface water or road. If the natural vegetation that existed prior to clearing cannot be left as a screen and suitable natural regeneration is not likely to occur within one full growing season following right-of-way restoration, native types of shrubs and trees shall be planted by the permittee to provide an adequate screen. Where the right-of-way as planned contacts surface water of any size and type, the permittee shall act in accordance with federal law, including Executive Order 11990, that protects wetlands of all sizes and types, in accordance with Minnesota Statutes, section 84.083, and chapters 103A, 103B, and 103E to 103G, which cover shoreland management, floodplain management, wild and scenic rivers, and permits required for protected waters, and in accordance with any other federal, state, and local laws, regulations, and ordinances. The amount and species of vegetation that will be planted to replace the vegetation removed from any Minnesota highway right-of-way shall be specified by the Minnesota Department of Transportation or appropriate county or local authority.
D.
Investigative activities by the permittee in the vicinity of streams shall comply with Minnesota Statutes, chapter 103G, permit requirements of the Department of Natural Resources so as to minimize damage to the natural condition of the area.
E.
Stream banks disturbed during right-of-way clearance or investigative activities shall be stabilized, reclaimed, and revegetated by the permittee using native plant species indigenous to the area.
F.
Areas where natural vegetation has been removed and suitable natural regeneration is not likely to occur within one full growing season, shall be revegetated by the permittee using native plant species indigenous to the area within one full growing season after temporary abandonment.
G.
Where significant grading or excavation or both is required, precautions shall be taken by the permittee to protect and segregate top soil.
H.
Compaction of cropland by the permittee shall be kept to a minimum and confined to as small an area as practicable.
J.
All appropriate precautions to protect against pollution of the environment shall be taken by the permittee.
K.
The permittee shall repair or replace all drainage tiles broken or damaged during right-of-way preparation or investigative activities unless otherwise negotiated with the landowner or tenant, as appropriate, on whose property the tiles are located.
L.
The permittee is responsible for the repair of private roads and lanes damaged when moving equipment or when obtaining access to the right-of-way and for the reimbursement to the landowner or tenant, as appropriate, for crop loss resulting from access to right-of-way damaged during preparation or drilling operations.
M.
The permittee shall replace or repair all fences and gates removed or damaged during right-of-way preparation and investigative activities unless otherwise negotiated with the landowner or tenant, as appropriate.
N.
Shelterbelts and trees shall be protected by the permittee whenever possible. If shelterbelts and trees must be cut, native shrubs and trees shall be planted to provide protection in accordance with the request of the landowner or tenant, as appropriate, unless otherwise negotiated with the landowner or tenant, as appropriate.
O.
The permittee shall restore cropland to substantially its original condition, unless otherwise negotiated with the landowner or tenant, as appropriate. Restoration shall include grading, topsoil replacement, subsoiling and disking, or other methods as negotiated with the landowner or tenant, as appropriate.
P.
The permittee shall return pasture to its former level of productivity, unless otherwise negotiated with the landowner or tenant, as appropriate. Pasture restoration shall include planting native or tame grasses or other restoration methods as negotiated with the landowner or tenant, as appropriate.
Q.
The permittee shall, unless negotiated with the landowner or tenant, as appropriate, restore other areas to substantially their original condition.
Statutory Authority:
MS s 116C.724
History:
10 SR 2290; 18 SR 614
Published Electronically:
November 30, 2009
4410.7916 EMERGENCY NOTIFICATION.
The applicant or permittee, as appropriate, shall promptly notify the chair, the commissioner of health, the commissioner of natural resources, the Pollution Control Agency, and the agent of a community health board as authorized under Minnesota Statutes, section 145A.04, of each county or portion of a county in which investigative activities are conducted of any occurrence during investigative activities and related actions that has a potential for significant adverse health or environmental effects and shall take action as quickly as may be reasonably possible to minimize adverse effects.
Statutory Authority:
MS s 116C.724
History:
10 SR 2290; L 1987 c 309 s 24; L 2015 c 21 art 1 s 109
Published Electronically:
October 2, 2015
4410.7918 LOCATION OF DRILL HOLES.
A permittee shall comply to the extent practicable with the following standards with respect to location of a drill hole.
A.
A drill hole shall be located:
(1)
when possible on a right-of-way that has good surface drainage, at a higher elevation than, and at a sufficient distance from cesspools, buried sewers, septic tanks, privies, barnyards, and feedlots or other possible sources of contamination, as provided in the Minnesota Water Well Construction Code, chapter 4725;
(3)
to exclude all sources of pollution that are known to the permittee, or reasonably should have been known to the permittee, from entering the drill hole; and
(4)
50 feet from any building and at least 1,000 feet from any occupied residence or occupied animal barn, or as negotiated with the landowner or tenant, as appropriate.
Statutory Authority:
MS s 116C.724
History:
10 SR 2290
Published Electronically:
November 30, 2009
4410.7920 DRILL HOLE CONSTRUCTION STANDARDS.
A permittee shall comply with the following standards with respect to construction of a drill hole.
A.
Drill holes shall be constructed in such a fashion as to facilitate testing and prevent any contamination of aquifers.
Statutory Authority:
MS s 116C.724
History:
10 SR 2290
Published Electronically:
November 30, 2009
4410.7922 USE OF DRILL HOLE FOR DISPOSAL PROHIBITED.
A drill hole shall not be used by the permittee for disposal of surface water, near surface water or groundwater or any other liquid, gas, chemical, or solid waste including drilling fluids.
Statutory Authority:
MS s 116C.724
History:
10 SR 2290
Published Electronically:
November 30, 2009
4410.7924 CLEANUP PROCEDURES.
A permittee shall comply with the following cleanup procedures.
A.
Cleanup of personal litter, including cans, bottles, and paper, deposited by drilling operation or right-of-way preparation crews on and off the right-of-way shall be on a daily and continuous basis.
B.
Interim cleanup and proper disposal of all waste and scrap materials on and off the right-of-way work areas shall be carried out after each phase of the drilling operation.
C.
After all the work has been performed, the land shall be restored to approximate original contour within a reasonable period of time, unless negotiated with the landowner or tenant, as appropriate.
D.
All waste and scrap shall be removed or properly disposed of in accordance with the solid and liquid waste regulations of chapters 7035 and 7001.
Statutory Authority:
MS s 116C.724
History:
10 SR 2290
Published Electronically:
November 30, 2009
4410.7926 ABANDONING EXPLORATORY BORINGS.
According to Minnesota Statutes, section 116C.724, subdivision 2, clause (1), any abandonment, whether temporary or permanent, must comply with the state drilling and drill hole abandonment and restoration rules governing exploratory boring under Minnesota Statutes, chapter 103I, and parts 4727.1000 to 4727.1250.
Statutory Authority:
MS s 116C.724; 116C.991; 116D.04; 116D.045; L 2013 c 114 art 4 s 105; L 2015 1Sp4 art 4 s 121; art 5 s 33
History:
10 SR 2290; 44 SR 691
Published Electronically:
January 17, 2020
4410.7928 SUBMITTING SPLITS AND DATA.
Subpart 1.
Request for samples or data.
Pursuant to Minnesota Statutes, section 116C.724, subdivision 2, clauses (5) and (6), the permittee shall submit splits or portions of a core sample to the commissioner of natural resources at the commissioner's request or to the director of the Minnesota geological survey at the director's request. If the permittee needs a sample in its entirety, the commissioner or director may accept certified and uninterpreted data of the sample in lieu of an actual portion if that data provides all the information necessary to obtain complete and accurate conclusions. Splits or certified data shall be presented to the commissioner or director within 30 days after the request is made and all samples submitted shall become the property of the state.
Subp. 2.
Required data.
Pursuant to Minnesota Statutes, section 116C.724, subdivision 3, the permittee or any person conducting geologic, hydrologic, or geophysical testing or any other studies relating to disposal is required to provide unrestricted access to all raw and interpreted data to the chair and director of the Minnesota geological survey or their designated representatives within 30 days. The raw and interpreted data includes:
B.
distribution of engineering and geophysical parameters including rippability of rock and surficial materials, degree of bedrock or surficial weathering including depth of exfoliation present, resistivity, seismic properties, elastic properties, and coefficients of thermal expansion and thermal conductivity;
C.
stratigraphic sections and geologic cross sections of the affected areas including structural, mineralogical, and petrological descriptions at a scale sufficient to delineate relevant stratigraphic changes, discontinuities, or sections of hydrologic or structural interest;
D.
location, depth, thickness, and mineral composition of all bedrock aquifers and other water-bearing formations;
E.
location, depth, thickness, geologic classification, and material classification of all Quaternary hydrogeologic units encountered;
F.
distribution of hydrologic parameters including vertical and horizontal hydraulic conductivity, sustained yield ratings, transmissivity, effective porosity, dispersivity, interstitial velocity, sorption coefficients, ion exchange capacity, and elevation of the potentiometric surface for all confined units and water level elevation for unconfined units for the area of potential environmental impact;
G.
the groundwater recharge and discharge areas and a description of the flow system including local, intermediate, and regional flow;
H.
structural discontinuities and their relationship to groundwater flow, including the presence of and effects on the flow system due to faults, fractures, joints, fissures, and microfissures. Related secondary permeability, rock pore pressure factors, and the extent and type of fracture filling material;
I.
groundwater samples with hydrogeochemical analyses of the area and location, including probable ranges of the chemical composition for major and trace ions and organics with location and depth and Eh-pH;
L.
tests for solubility of radionuclides and radioactive chemicals, including but not limited to Cesium, Strontium, Carbon-14, Iodine 129, Plutonium, Technetium, Americium, Neptenium, Radon, and Radium;
N.
any and all other raw and interpreted data obtained through the studies related to the disposal of high-level radioactive waste.
Statutory Authority:
MS s 116C.724
History:
10 SR 2290; 17 SR 1279
Published Electronically:
August 20, 2018
4410.7930 PERMIT AMENDMENTS.
Subpart 1.
Amendments proposed by permittee.
Proposed amendments to the conditions set forth in the drilling permit regarding size, type, depth, number, and location of drill holes or the location of rights-of-way shall be sent in writing to the chair of the board. Revised maps, development plans, and descriptions of the environmental setting in accordance with part 4410.7906, subpart 1, shall accompany a detailed statement explaining the necessity and reasonableness of the amendments, all of which shall be sent by the permittee to be received by the chair at least ten working days before the day the proposed amendments are intended to become effective.
A.
Within the ten working days the chair shall decide whether the proposed amendments require board approval and notify the permittee as to the status of the proposed permit amendments.
B.
If, in the opinion of the chair, the proposed amendments would not significantly change the terms and conditions set forth in the drilling permit, or materially and adversely affect the environment, the amendments may be approved by the chair.
C.
If, in the opinion of the chair, the proposed amendments would cause significant changes in the terms and conditions of the permit, or materially and adversely affect the environment, the chair shall submit the proposed amendments to the board at its next scheduled meeting following the chair's determination, providing the determination is made 20 days in advance of the next scheduled board meeting. The board shall approve the proposed amendments if the application as amended complies with all the requirements of Minnesota Statutes, section 116C.724, and parts 4410.7900 to 4410.7934. The board shall reject the proposed amendments if it determines that the application as amended would not comply with the requirements of Minnesota Statutes, section 116C.724, and parts 4410.7900 to 4410.7934. Proposed amendments submitted to the board shall not be implemented until the board approves them.
Subp. 2.
Amendments proposed by board.
The board shall, acting on its own initiative, amend the permit to prevent any material and adverse effect to the environment and to prevent any violation of parts 4410.7900 to 4410.7934 or the terms of the permit. The board shall give at least ten working days written notice to the permittee of board action to amend the permit. The permittee may appear before the board and offer evidence relevant to the proposed amendment.
Statutory Authority:
MS s 116C.724
History:
10 SR 2290; 17 SR 1279
Published Electronically:
November 30, 2009
4410.7932 PERMIT REVOCATION.
Subpart 1.
Initiation of revocation.
The board may initiate action to revoke a drilling permit upon a prima facie showing by affidavit and documentation that a violation may have occurred or is likely to occur of the terms and conditions of the permit or parts 4410.7900 to 4410.7934 and Minnesota Statutes, section 116C.724, subdivision 2.
Subp. 2.
Hearing.
If the board determines that a hearing is necessary before revocation of a drilling permit, it shall order a contested case hearing. The findings, conclusions, and recommendations of the administrative law judge shall contain the opinion of the judge whether a violation has occurred or is likely to occur and whether corrective measures, permit revocation, or both, are necessary.
Subp. 3.
Considerations for board action.
Based upon the record and the findings, conclusions, and recommendations of the administrative law judge, if a contested case hearing was held, the board shall consider the following matters at its meeting:
A.
whether a violation of any of the conditions in Minnesota Statutes, section 116C.724, subdivision 2, parts 4410.7900 to 4410.7934, or the drilling permit has occurred or is likely to occur;
B.
whether the violation has resulted or will result in any significant adverse environmental effects; and
Subp. 4.
Board action.
If the board finds that a violation of Minnesota Statutes, section 116C.724, subdivision 2, parts 4410.7900 to 4410.7934, or the terms and conditions of the drilling permit has occurred or is likely to occur, or that a material and adverse effect upon the environment has occurred or is likely to occur, the board shall require corrective measures, or amend or revoke the permit, unless the permittee has undertaken effective corrective or ameliorative measures to correct the violations.
Subp. 5.
Action by the chair.
The chair shall have the power to revoke a permit if all of the following conditions are present:
A.
the three days needed to call an emergency board meeting would be too late to prevent a further violation; and
B.
the violation is an imminent threat to the public health or safety or a serious or irreversible threat to natural resources.
If a permit is revoked by the chair, the board shall at its next meeting review the decision of the chair and vote to uphold or reverse the permit revocation or vote to hold a contested case hearing on the issue of revocation.
Subp. 6.
Effect of revocation.
If a permit is revoked, the permittee shall halt all drilling and investigative activities immediately. The permit may be reinstated by the board only after the violations are corrected. If the violations are corrected and the corrective action and results are submitted to the board at least 30 days in advance of the board's next scheduled meeting, the board shall consider reinstating the permit at that meeting. If it finds the violations are not corrected, the board shall inform the permittee which deficiencies, if corrected, will allow the permit to be reinstated.
Statutory Authority:
MS s 116C.724
History:
10 SR 2290
Published Electronically:
November 30, 2009
4410.7934 APPLICATION AND MONITORING ASSESSMENTS.
Subpart 1.
Initial assessment.
Every applicant for a drilling permit shall pay to the board an initial assessment of $20,000 to be paid as follows:
Subp. 2.
Purpose of assessments and additional costs.
The purpose of the assessments is to cover the actual costs of processing an application or amendments, holding hearings, whether required by law or initiated by the board, or the costs incurred through permit revocation and monitoring the investigative activities, including staff and consultant expenses including housing, travel, office space within the potentially impacted area, equipment, administrative, logistical, and all other costs relating to the monitoring of the investigative activities. If the actual costs exceed the initial assessment the board shall assess the permittee any additional assessments necessary to cover the actual costs.
Subp. 3.
Method of assessment.
The costs assessed under subpart 2 shall be assessed quarterly, at least 30 days before the start of each calendar quarter, by the board against the permittee. The money paid pursuant to the assessment shall be paid to the board within 30 days after receipt of the assessment, which assessment shall constitute notice of the assessment and demand for payment thereof. The total amount which may be assessed to the permittee under authority of this part shall not exceed the sum of the costs incurred through the monitoring, processing, and related activities. Money received by the board pursuant to any assessment shall be paid to the special revenue fund.
Statutory Authority:
MS s 116C.724
History:
10 SR 2290
Published Electronically:
November 30, 2009
RELEASING GENETICALLY ENGINEERED ORGANISMS
4410.8000 SPECIAL RULES FOR RELEASING GENETICALLY ENGINEERED ORGANISMS.
Subpart 1.
Generally.
Environmental review for the release of genetically engineered organisms shall be conducted according to the procedures in parts 4410.1200 to 4410.3000 except as provided in items A to C.
A.
In part 4410.1400 when the EQB is the RGU, it shall have 45 days to add supplementary material, if necessary, and to approve the EAW for distribution.
C.
In deciding whether a project has the potential for significant environmental effects, the criteria in part 4410.1700, subpart 7, shall be replaced by the following factors:
(1)
the familiarity and predictability of the ecologically relevant biological properties of the introduced DNA, the vector if one exists, the recipient, and engineered organisms;
(3)
the potential for the genetically engineered organisms to cause adverse environmental effects including, but not limited to:
(b)
whether the genetically engineered organism is pathogenic or toxic to target or nontarget organisms and to what extent this trait has been introduced or altered as a result of the genetic engineering;
(c)
the extent to which the genetically engineered organism's competitiveness and survivability under environmental stress including, but not limited to, dormancy, temperature tolerance, fire resistance, drought resistance, or ability to disperse in the environment have been changed or potentially changed as a result of the genetic engineering. The determination of potential changes must be based minimally on the natural history of the recipient organism and the potential effects of natural selection on the genetically engineered organism;
(d)
the extent of change or potential change to the recipient organism's resource base including, but not limited to, the ability of plants to grow on new soil types, of bacteria to metabolize new nutrients, and of fish to eat new foods;
(e)
the potential for the genetically engineered organism's genes to transfer to other hosts and the resultant effects on other hosts' competitiveness, dispersal, dormancy, pathogenicity or toxicity, and expansion of their resource bases; and
(f)
the potential of the genetically engineered organism to enter or adversely affect the groundwater environment or to pass unusual genes to a microorganism resident in the groundwater;
(4)
the adequacy and appropriateness of proposed measures, if any, for confinement of the genetically engineered organism;
(5)
any previous risk assessments for the same or similar organisms prepared by federal or state agencies and their adequacy and relevance to the current proposal including, but not limited to, consideration of the following:
(a)
the range of soils, ecological biotypes, and meteorological conditions that existed in previous field releases and their relationship to the proposed release area;
(b)
whether the genetically engineered organisms failed to demonstrate an ability to be self-reproducing or competitive because of transient factors; and
(c)
whether the scale of the assessment was adequate to assess potential for establishing a self-reproducing population;
(6)
the conclusions reached and conditions imposed by federal agencies with jurisdiction over the proposed release;
(7)
the conclusions reached or conditions imposed by federal or state agencies on previous environmental releases in Minnesota or elsewhere and their adequacy and relevance to the current proposal;
(10)
the extent to which the environmental effects are subject to mitigation by ongoing public regulatory authority.
Subp. 2.
EAW and EIS preparation.
A.
The EAW shall be prepared, using an interdisciplinary approach that will ensure the integrated use of the natural and environmental sciences. The review should include involvement of the following disciplines, as appropriate: microbiology, ecology, public health, biological safety, agronomy, plant biology, risk assessment, molecular biology, biochemistry, entomology, vertebrate biology, physical and biological containment, and other appropriate disciplines.
B.
The EAW shall be written in plain and objective language and include clear presentation of the proposed release and of the issues of concern.
C.
When the EQB is the RGU, the EQB chair may direct the EQB genetic engineering advisory committee to provide advice and comment on the EAW or EIS. The chair may appoint special members to the advisory committee to assist with specific EAWs or EISs.
Statutory Authority:
MS s 116C.94
History:
17 SR 139
Published Electronically:
August 20, 2018
CRITICAL AREAS PLANNING PROCESS
4410.8100 DEFINITIONS.
Subpart 1.
Scope.
The following terms as used in these rules shall have the following meanings, unless otherwise defined.
Subp. 2.
Board.
"Board" means the Minnesota Environmental Quality Board created pursuant to Minnesota Statutes, section 116C.01 et seq.
Subp. 3.
Developer.
"Developer" means any person or governmental agency undertaking any development as defined in these rules.
Subp. 4.
Development.
"Development" means the making of any material change in the use or appearance of any structure or land including but not limited to:
H.
reconstruction, alteration of the size, or material change in the external appearance of a structure on the land.
Subp. 5.
Development permit.
"Development permit" means a building permit; zoning permit; water use permit; discharge permit; permit for dredging, filling or altering any portion of a watercourse; plat approval; rezoning; certification; variance or other action having the effect of permitting any development as defined in the act or these rules.
Subp. 6.
Government development.
"Government development" means any development financed in whole or in substantial part, directly or indirectly, by the United States, the state of Minnesota, or any agency or political subdivision thereof.
A.
"Development financed indirectly" means development underwritten or insured by moneys of the governments, or any agency or political subdivision thereof.
B.
"Development financed in substantial part" means development with more than 50 percent of its financing or reimbursement from moneys of the governments, or any agency or political subdivision thereof.
Subp. 7.
Land.
"Land" means the earth, water, and air, above, below, or on the surface and includes any improvements or structures customarily regarded as land.
Subp. 8.
Local unit of government.
"Local unit of government" means any political subdivision of the state, including but not limited to counties, municipalities, townships, and all agencies and boards thereof.
Subp. 9.
Order.
"Order" means the governor's executive order that formally designates a particular area as a critical area upon the recommendation of the board.
Subp. 10.
Parcel.
"Parcel" of land means any quantity of land capable of being described with such definiteness that its location and boundaries may be established, which is designated by its owner or developer as land to be used or developed as a unit, or which has been used or developed as a unit.
Subp. 11.
Powers.
"Powers" means the statutory or other legal authority of federal, state, or regional agencies and local units of government.
Subp. 12.
Recommendation.
"Recommendation" means a written document proposing a particular area as a critical area that is officially submitted for review and action by the appropriate bodies.
Subp. 13.
Regional development commission.
"Regional development commission" means any regional development commission created pursuant to Minnesota Statutes, sections 462.381 to 462.396, and the Metropolitan Council created pursuant to Minnesota Statutes, chapter 473B.
Subp. 14.
Rules.
"Rules" means the instruments by which state agencies and local units of government control the physical development of the critical area or any part or detail thereof. Rules include, but are not limited to, ordinances establishing zoning, subdivision control, platting, and the adoption of detailed maps.
Subp. 15.
State agency.
"State agency" means a state board, commission, institution, or any other unit of state government.
Subp. 16.
Structure.
"Structure" means anything constructed or installed or portable, the use of which requires a location on a parcel of land. It includes a movable structure which can, while it is located on land, be used for housing, business, commercial, agricultural, or office purposes either temporarily or permanently. "Structure" also includes fences, billboards, swimming pools, poles, pipelines, transmission lines, tracks, and advertising signs.
Statutory Authority:
MS s 116G.04
Published Electronically:
September 5, 2013
4410.8200 AUTHORITY AND PURPOSE.
Subpart 1.
Authority.
The rules contained herein are prescribed by the Minnesota Environmental Quality Board, pursuant to Minnesota Statutes, section 116G.04, for the implementation of Minnesota Statutes, sections 116G.01 to 116G.14, herein referred to as the Critical Areas Act of 1973. This act deals with the duties and responsibilities of the Environmental Quality Board, state agencies, regional development commissions, and local units of government in the identification and designation of critical areas and the preparation and implementation of plans and rules for critical areas.
Subp. 2.
Purpose.
The purpose of these rules is to provide public agencies and private persons with policy, definitions, procedures, criteria, standards, and guidelines of statewide application to be used in the implementation of the Critical Areas Act.
Because development in areas of the state that possess important historic, cultural, or aesthetic values or natural systems that perform functions of greater than local significance may result in irreversible damage to these resources, decrease their value and utility for public purposes, or unreasonably endanger life and property, the state shall identify these critical areas and assist and cooperate with local units of government in the preparation of plans and rules for the wise use of these areas.
The critical areas planning process is intended to be neither a "court of last resort" to review purely local planning and zoning issues nor a substitute for an ongoing land planning process involving the legislative, executive, and judicial branches of state and local government. The critical areas planning process shall be limited to exceptional circumstances where other powers are unavailable, inapplicable or are not being used effectively to ensure adequate and coordinated local, regional, and state planning and regulation to protect the public interest in the area.
The critical areas planning process is intended to be applied to a limited number of areas in the state. Critical area designation based on criteria that may characterize large or common areas of the state or region shall be avoided.
Statutory Authority:
MS s 116G.04
Published Electronically:
November 30, 2009
4410.8300 CHARACTERISTICS AND CRITERIA FOR IDENTIFYING CRITICAL AREAS.
Subpart 1.
Characteristics.
A critical area shall have one of the following four characteristics:
A.
an area significantly affected by an existing or proposed major government development that is intended to serve substantial numbers of persons beyond the vicinity in which the development is located and that tends to generate substantial development or urbanization;
B.
an area having a significant effect upon an existing or proposed major government development that is intended to serve substantial numbers of persons beyond the vicinity in which the development is located and that tends to generate substantial development or urbanization;
C.
an area containing historical, natural, scientific, or cultural resources of regional or statewide importance; or
D.
an area having a significant impact upon historical, natural, scientific, or cultural resources of regional or statewide importance.
Subp. 2.
Criteria.
In accordance with the characteristics of subpart 1 and the purpose of these rules, a critical area shall meet all of the following criteria:
B.
Other powers are unavailable, inapplicable, or are not being used effectively to ensure adequate and coordinated local, regional, or state planning and regulation to protect the public interest in the area.
Statutory Authority:
MS s 116G.04
Published Electronically:
August 20, 2018
4410.8400 RECOMMENDATIONS OF CRITICAL AREAS.
Subpart 1.
Content.
A recommendation to designate a critical area shall include all of the following:
D.
the dangers to the regional or statewide interest that would result from unregulated development or development contrary to that interest;
E.
the advantages that would be achieved from the development of the area in a manner that coordinates state, regional, and local interests;
F.
the standards and guidelines to be followed in the preparation and adoption of plans and rules, to the extent possible; and
G.
the development, if any, that would be permitted pending adoption of plans and rules for a critical area.
Subp. 2.
Initiation.
A recommendation to designate a critical area may be initiated by the board, regional development commissions, or local units of government.
State agencies and private persons or organizations may submit suggestions for a recommendation to the board, a regional development commission, or a local unit of government. The burden of proof to substantiate the recommendation shall rest with the board, the regional development commission, or the local unit of government that initiates the recommendation.
Statutory Authority:
MS s 116G.04
Published Electronically:
November 30, 2009
4410.8500 LOCAL GOVERNMENT ACTION ON RECOMMENDATIONS.
Subpart 1.
Existing commission.
In areas within the jurisdiction of an existing regional development commission, a local unit of government initiating a recommendation shall submit it to the regional development commission.
Subp. 2.
No existing commission.
In areas where no regional development commission exists, a local unit of government initiating a recommendation:
A.
shall give legal notice of the recommendation and the public hearing or meeting on the recommendation in the official newspaper of each county in the area directly affected by the recommendation within 15 days of initiating the recommendation;
B.
may mail notice of the recommendation to all persons owning real property within the boundaries of the area that is within the local unit of government's jurisdiction, as determined by tax records;
C.
shall submit the recommendation to every other local unit of government and any regional development commission with jurisdiction within the area directly affected by the recommendation within 15 days of initiating the recommendation;
D.
shall hold a public hearing or public meeting within the 30- to 45-day period commencing with the legal notice of the recommendation, that shall be provided for property owners, interested persons, and local units of government to comment on the recommendation; and
E.
shall submit the original or modified recommendation with a statement of the local unit of government's acceptance or rejection of the recommendation and all comments received on the recommendation to the board within 15 days after the period for comment has expired.
Subp. 3.
Comments.
Local units of government who receive a recommendation from another local unit of government for comment may give notice as prescribed in subpart 2, item B and shall submit to the local unit of government initiating the recommendation any comments on the recommendation within the designated time period.
Statutory Authority:
MS s 116G.04
Published Electronically:
November 30, 2009
4410.8600 REGIONAL DEVELOPMENT COMMISSION DUTIES REGARDING RECOMMENDATIONS.
Subpart 1.
Solicitation.
Each regional development commission shall periodically solicit in writing recommendations of critical areas from local units of government within its jurisdiction.
Subp. 2.
Duties.
When a regional development commission initiates a recommendation or receives a recommendation from a local unit of government or the board, it:
A.
shall give legal notice of the recommendation and the public hearing or meeting on the recommendation in the official newspaper of each county in the area directly affected by the recommendation within 15 days of receiving or initiating the recommendation;
B.
may mail notice of the recommendation to all persons owning real property within the recommended area, as determined by tax records;
C.
shall submit the recommendation to every other local unit of government and regional development commission with jurisdiction within the areas directly affected by the recommendation within 15 days of receiving or initiating the recommendation;
D.
shall hold a public hearing or public meeting within the 30- to 45-day period commencing with the legal notice of the recommendation, that shall be provided for property owners, interested persons, and local units of government to comment on the recommendation; and
E.
shall submit the original or modified recommendation with a statement of the regional development commission's acceptance or rejection of the recommendation and all comments received on the recommendation to the board within 15 days after the period for comment has expired.
Subp. 3.
Board recommendations.
When a regional development commission receives a recommendation from the board, it shall follow the procedures prescribed in subpart 2, unless the board has determined that the time required for regional development commission review and action must be shortened or eliminated.
Statutory Authority:
MS s 116G.04
Published Electronically:
November 30, 2009
4410.8700 BOARD ACTION ON CRITICAL AREA RECOMMENDATIONS.
Subpart 1.
Procedures.
When the board initiates a recommendation it shall:
A.
submit the recommendation to the regional development commissions with jurisdiction within the area directly affected for review and action, as prescribed in part 4410.8600, subpart 2; or
B.
follow the procedures prescribed in subpart 3, when it determines that the time required for regional development commission review and action must be shortened or eliminated to avoid further endangerment to the regional or statewide interest in the recommended area.
Subp. 2.
Notice of action.
When the board receives notice of action on a recommendation for a critical area from a regional development commission, or from a local unit of government where no regional development commission exists, it shall have 60 days to review the recommendation and either:
A.
give legal notice, as prescribed in subpart 3, of its decision to conduct a public hearing pursuant to Minnesota Statutes, chapter 14, on the recommendation; or
B.
notify the regional development commission or local unit of government of its rejection of the recommendation and its reasons therefore and specify any authorized alternate action to protect the regional or statewide public interest.
Subp. 3.
Hearings.
When the board's decision in subpart 1 or 2 is to hold a public hearing on the recommendation, the procedures to be followed are:
A.
Legal notice of at least 30 days shall be given to the following:
(3)
the regional development commissions and local units of government with jurisdiction over the area affected by the recommendation;
(4)
persons who have filed with the secretary of state pursuant to Minnesota Statutes, chapter 14, to receive notice of public hearings;
(6)
each person owning real property within the recommended area and within 350 feet of the recommended area when the recommended area is 1,000 acres or less.
B.
One legal notice of the recommendation shall be placed in the official newspaper of each county in the area directly affected by the recommended area at least two weeks prior to the date of the public hearing.
C.
The board may mail notice of the recommendation to all persons owning real property within the recommended area as determined by tax records.
F.
At the public hearing, the board shall receive all testimony and exhibits relative to the designation of the proposed critical area, including the amount and source of funds and technical aid required to prepare and adopt plans and regulations for the proposed critical area. An official record of the hearing shall be prepared. When a transcript is requested, the board may require the party requesting to pay the reasonable costs of preparing the transcript.
G.
After the public hearing on the recommendation, the board shall examine the record and prepare findings of fact that shall include the following:
(1)
an explanation of any modification or rejection of action by a regional development commission or local unit of government on the recommendation;
(2)
the amount and source of funds and technical aid required for the preparation and adoption of plans and regulations;
(4)
the specific standards and guidelines to be followed in preparing and adopting plans and regulations for the critical area.
H.
Within 30 days of the public hearing on the recommendation, the board shall, based on the findings of fact, submit the recommendation to designate a critical area to the governor, or reject the recommendation.
Statutory Authority:
MS s 116D.04
Published Electronically:
November 30, 2009
4410.8800 DESIGNATING CRITICAL AREAS.
Subpart 1.
Authority.
Only the governor may designate a critical area upon the recommendation of the board.
Subp. 2.
Action by governor.
When the board submits a recommendation to designate a critical area to the governor, the governor may designate by executive order all or part of the recommended area as a critical area.
The governor shall send a copy of the order of designation to the legislature, board, affected state and federal agencies, regional development commission, and local units of government with jurisdiction in any part of the designated critical area.
Subp. 3.
Content of order of designation.
The order of designation shall include the following:
C.
the specific standards and guidelines to be followed in preparing and adopting plans and regulations for the critical area; and
D.
the development, if any, that shall be permitted pending the adoption of plans and regulations, consistent with the policies of the act and these rules.
Subp. 4.
Use of order by local unit.
Each local unit of government shall attach the order of designation to existing regulations.
Subp. 5.
Duration of order.
The order of designation shall be effective for no longer than three years pending approval by the legislature or by the regional development commission, where one exists, of each development region in which a part of the critical area is located. After a regional development commission has approved the critical area designation, it shall not revoke or rescind its approval, except as necessary to update and reevaluate plans and regulations under part 4410.9200 of these rules.
Statutory Authority:
MS s 116G.04
Published Electronically:
August 20, 2018
4410.8900 PLANS AND REGULATIONS FOR CRITICAL AREAS.
Subpart 1.
Planning process stages.
The initial critical area plan and any subsequent update and reevaluation shall explicitly record the following stages of the critical area planning process:
A.
The evaluation of existing conditions and trends, including a description of any change in each of the elements of the plan and a comparison between the intended and actual results of any adopted local, regional, or state programs and regulations.
B.
The evaluation of alternative futures, including the major problems and opportunities associated with each alternative.
C.
The formulation of objectives based on the evaluation of existing conditions and alternative futures. The objectives shall be measurable short-range steps toward goals expressed in state law, by the regional development commission and in the standards and guidelines specified in the order of designation. When the objectives differ substantially from those previously adopted, the predicted consequences shall be compared.
D.
The formulation of programs and regulations designed to achieve the objectives. The programs shall specify the schedule and sequence of actions and development to be undertaken by individual public agencies. The regulations shall be sufficiently specific to provide public agencies with the basis for evaluating individual development permit applications.
Subp. 2.
Factors to be addressed.
The critical areas planning process shall specifically address the following factors:
A.
the elements of regional or statewide interest identified in the recommendation to designate the critical area;
B.
the standards and guidelines to be followed in preparing and adopting plans and regulations as specified in the order of designation; and
Subp. 3.
State law.
The portions of plans and regulations for the designated critical area that are implemented by local units of government shall conform to the powers and procedures authorized or required by appropriate state law.
The portions of plans and regulations for the designated critical area that are implemented by state agencies shall conform to the powers and procedures authorized or required by appropriate state laws or rules.
Statutory Authority:
MS s 116G.04
Published Electronically:
November 30, 2009
4410.9000 PREPARING CRITICAL AREA PLANS AND REGULATIONS.
Subpart 1.
Requirement.
When a critical area has been designated, plans and regulations to govern the use of the critical area shall be prepared, unless acceptable plans and regulations exist.
Subp. 2.
Responsibility for preparation.
When no plans or regulations for the critical area exist at the time of the order of designation, the plans and regulations shall be prepared by the following:
A.
each local unit of government with jurisdiction within the critical area and the existing authority to develop and enact plans and regulations;
B.
the regional development commission with jurisdiction within the critical area when requested within 30 days of notice of the order of designation by a local unit of government with jurisdiction within the critical area; or
C.
the board when requested within 30 days of notice of the order of designation by a local unit of government with jurisdiction within the critical area, when no regional development commission exists.
Subp. 3.
Time for preparing.
A.
A local unit of government shall prepare the plans and regulations within six months of notice of the order of designation. A regional development commission shall prepare the plans and regulations within six months of the request from the local unit of government.
B.
When the local unit of government or regional development commission requests a time extension for the preparation of plans and regulations, the board may grant the time extension when it determines that the local unit of government or regional development commission is making a conscientious attempt to develop the plans and regulations, and that the project is of a magnitude that precludes the completion, review, and adoption of the plans and regulations within the time limits established in these rules.
Subp. 4.
Reimbursing costs.
When a regional development commission prepares the plans and regulations for a critical area at the request of a local unit of government, it may seek reimbursement from the local unit of government for the actual costs of preparation.
Subp. 5.
State agency assistance.
When the board determines that the local unit of government or the regional development commission that is preparing the plans and regulations for the critical area requires technical assistance, the board shall direct the appropriate state agency or agencies to assist in the preparation of the plans and regulations in accordance with a time schedule established by the board.
Subp. 6.
Public participation.
The preparation process shall include adequate opportunity for participation by the general public, property owners, nonowner users of land, and appropriate officials or representatives of local, regional, state, and federal government agencies. The appropriate regional development commission may appoint an advisory committee consisting of representatives of the above interests to guide the planning process. Public hearing with adequate notice shall be held.
Statutory Authority:
MS s 116G.04
Published Electronically:
August 20, 2018
4410.9100 REVIEW AND APPROVAL OF CRITICAL AREA PLANS AND REGULATIONS.
Subpart 1.
Submission for review.
A.
A local unit of government that has existing plans and regulations for the critical area shall submit the plans and regulations to the appropriate regional development commission, and when no regional development commission exists to the board, for review, within 30 days of the order of designation.
B.
A local unit of government that prepares plans and regulations for the critical area after the order of designation shall submit the plans and regulations to the appropriate regional development commission, and when no regional development commission exists, to the board for review within six months of notice of the order of designation.
C.
A regional development commission that prepares plans and regulations for the critical area at the request of a local unit of government shall submit the plans and regulations to the board for review within six months of the request from the local unit of government.
Subp. 2.
Regional development commission review.
The regional development commission shall review the plans and regulations prepared by the local unit of government for consistency with regional objectives and the order of designation. Within 45 days of receiving the plans and regulations, the regional development commission shall submit to the board its written evaluation, any relevant prepared development plans or land use plans, and the plans and regulations. Upon a request from the regional development commission, the board may grant a time extension of 30 days when the board determines that the regional development commission has satisfactorily demonstrated that it requires more time for review.
Subp. 3.
Board review and approval.
The board shall review all plans and regulations prepared for designated critical areas. Within 45 days of receiving plans and regulations from the local unit of government or the regional development commission, the board shall review the plans and regulations to determine their consistency with the provisions of the order of designation, the evaluation of the regional development commission, and comments of the affected state agencies. When the board has completed the review, it shall either:
A.
approve the plans and regulations by a written decision and notify the local unit of government or regional development commission; or
B.
return them to the local unit of government or the regional development commission for modification with a written explanation of the need for modification.
Statutory Authority:
MS s 116G.04
Published Electronically:
August 20, 2018
4410.9200 MODIFYING PLANS AND REGULATIONS.
Subpart 1.
Plans not initially included.
When the board returns plans and regulations for modification, it shall request that any proposed or adopted development plans or land use plans of local units of government, regional development commissions, or state agencies that may exist for the critical area and that have not been included in the initial preparation, be considered in the modification of the plans and regulations.
Subp. 2.
Revision and deadline.
The plans and regulations that are returned to the local unit of government or the regional development commission for modification shall be revised consistent with the direction of the board and shall be resubmitted to the board within 60 days of their return.
Subp. 3.
Formal meeting with board.
Prior to the final revision, the local unit of government or regional development commission may request a formal meeting with the board to consider the plans and regulations. Within 15 days of the request, the board shall send a 30-day written notice of the meeting to the appropriate local units of government, regional development commission, and interested parties. The meeting shall be held at a location convenient to the area affected by the designated critical area.
Statutory Authority:
MS s 116G.04
Published Electronically:
August 20, 2018
4410.9300 BOARD PREPARATION OF PLANS AND REGULATIONS.
Subpart 1.
When board prepares.
When the local unit of government or the regional development commission fails to prepare plans and regulations that are acceptable to the board within one year of the order of designation, the board shall then prepare the plans and regulations within 90 days.
Subp. 2.
Public hearings.
When the board has prepared the plans and regulations, it shall hold a public hearing pursuant to Minnesota Statutes, chapter 14, in each county directly affected by the plans and regulations. The procedures to be followed are:
A.
Legal notice of at least 30 days shall be given to the following:
(1)
the regional development commissions and local units of government with jurisdiction over the critical area;
(3)
persons who have filed with the secretary of state pursuant to Minnesota Statutes, chapter 14, to receive notice of public hearings;
(5)
each person owning real property within the area that would be directly affected by the proposed plans and regulations and within 350 feet of the area when the area directly affected is five acres or less.
B.
One legal notice of the proposed plans and regulations shall be placed in the official newspaper of each county in the area directly affected by the recommended area at least two weeks prior to the date of the public hearing.
C.
The board may mail notice of the proposed plans and regulations to all persons owning real property within the boundaries of the area that is within the jurisdiction of the local unit of government for which the plans and regulations are being proposed.
D.
The legal notice shall include the time, location, and purpose of the hearing, and a summary of proposed plans and regulations.
E.
At the public hearing, the board shall receive all testimony and exhibits relative to the plans and regulations. An official record of the hearing shall be prepared. When a transcript is requested, the board may require the party requesting to pay the reasonable costs of preparing the transcript.
F.
After the public hearing on the plans and regulations, the board shall examine the record and prepare findings of fact.
G.
Within 60 days of the hearing, the board shall adopt the plans and regulations for the local unit of government's portion of the critical area. Plans and regulations that have been adopted by the board shall apply and have the effect of adoption by the local unit of government.
Subp. 3.
Superseding local plans.
At any time after the preparation and adoption of plans and regulations by the board, a local unit of government may prepare plans and regulations according to procedures prescribed in these rules. When the plans and regulations are approved by the board, they shall supersede the plans and regulations adopted by the board.
Statutory Authority:
MS s 116G.04
Published Electronically:
November 30, 2009
4410.9400 IMPLEMENTING PLANS AND REGULATIONS.
A.
A local unit of government shall enact, according to existing authority, only the plans and regulations for a critical area that have the written approval of the board.
B.
Plans or regulations prepared pursuant to these rules shall become effective when enacted by the local unit of government or, following legislative or regional development commission approval of the governor's order of designation, upon such date as the board may provide in its approval of said plans and regulations.
C.
Plans and regulations adopted by the board shall be administered by the local unit of government as part of the local regulations until the local unit of government prepares plans and regulations that are approved by the board, at which time the local unit of government's plans shall supersede the board's plans and regulations.
Statutory Authority:
MS s 116G.04
Published Electronically:
August 20, 2018
4410.9500 UPDATING AND REEVALUATING PLANS AND REGULATIONS.
Subpart 1.
Optional update.
When a local unit of government or a regional development commission that prepared plans and regulations for a critical area finds it necessary or desirable to amend or rescind the plans and regulations that have been approved by the board, the local unit of government or regional development commission shall submit proposed modifications of its plans and regulations for approval by the appropriate regional development commission and the board pursuant to these rules.
Subp. 2.
Mandatory review.
The board shall review the plans and regulations for a critical area every two years after one of the following: the date of the board's initial approval of the plans and regulations, or the board's approval of an optional update of plans and regulations, pursuant to subpart 1.
The board shall review the plans and regulations and any recommended changes for update and approval in the same manner as for approval of the original plans and regulations. When the board determines that the plans and regulations for the critical area have been implemented to the extent of fulfilling the regional or statewide interest in such critical area, the board may modify the two-year mandatory review requirement.
Subp. 3.
Effective dates of amendments or rescissions.
Amendments or rescissions of plans and regulations shall become effective only upon the approval of the board in the same manner as the approval of the original plans and regulations.
Statutory Authority:
MS s 116G.04
Published Electronically:
August 20, 2018
4410.9600 JUDICIAL ENFORCEMENT OF PLANS AND REGULATIONS.
When the board determines that the administration of the local plans and regulations is inadequate to protect the state or regional interests, the board may institute appropriate judicial proceedings to compel proper enforcement of the plans and regulations.
Statutory Authority:
MS s 116G.04
Published Electronically:
November 30, 2009
4410.9700 DEVELOPMENT IN CRITICAL AREA.
Subpart 1.
Limitation.
When a critical area has been designated, a local unit of government or state agency shall allow development affecting any portion of the area only as specified in the order of designation or as provided in these rules until plans and regulations have been adopted. This limitation shall be in effect as long as the designation is effective.
Subp. 2.
Interim development permits.
Until plans and regulations for the critical area have been adopted and approved, the local unit of government or state agency shall grant a development permit only when:
A.
the development is specifically permitted by the order of designation, or the development is essential to protect the public health, safety, or welfare in an existing emergency; and
B.
a local ordinance has been in effect immediately prior to the order of designation and a development permit would have been granted thereunder.
Subp. 3.
Final development permits.
When plans and regulations for a critical area have become effective, the local unit of government or state agency shall grant a development permit only in accordance with those plans and regulations.
Statutory Authority:
MS s 116G.04
Published Electronically:
November 30, 2009
4410.9800 NOTICE TO BOARD BY LOCAL UNIT.
At least 30 days before taking action on the application, the local unit of government shall notify the board of any application for a development permit in any critical area for which plans or regulations have not become effective; or any application for a development permit, for which a local unit of government is required to hold a public hearing, in any critical area for which plans and regulations have become effective.
Statutory Authority:
MS s 116G.04
Published Electronically:
November 30, 2009
4410.9900 PROTECTING LANDOWNER'S RIGHTS.
In implementing these parts no governmental agency shall issue any order that is clearly in violation of the constitution of this state or of the United States.
Neither the designation of a critical area nor the adoption of any plans or regulations for such an area shall in any way limit or modify the rights of any person to complete any development that meets the following requirements:
A.
a development that has been authorized by registration and recordation of a subdivision pursuant to state laws or by a building permit or other authorization to commence development on which there has been reliance and a change of position by the developer; and
B.
the registration, recordation, or the permit or authorization of the development was issued prior to the date of legal notice of the council public hearing provided in part 4410.8700.
When a developer has in reliance on prior regulations obtained vested or other legal rights, that would have prevented a local unit of government under the law from changing those regulations adverse to the developer's interests, these parts shall not authorize any local unit of government or governmental agency to abridge those rights.
Statutory Authority:
MS s 116G.04
Published Electronically:
August 20, 2018
4410.9910 CRITICAL AREAS PLANNING PROCESS.

Statutory Authority:
MS s 116G.04
Published Electronically:
November 30, 2009
Official Publication of the State of Minnesota
Revisor of Statutes